Конструктор этого грузовичка — Евгений Никитович Евсиков уже знаком нашим читателям по публикации «Пашет, возит и даже пилит» (см. «Моделист-конструктор» № 5 за 2002 год). В статье речь шла об изготовленном им маленьком тракторе. Теперь представляем еще одну его машину — мини-грузовик.
Евгений Никитович — ведущий конструктор с 40-летним стажем знаменитого вертолетного завода им. М.Л. Миля. Спроектированный и построенный им грузовичок — под стать винтокрылым машинам — надежен и практичен. К тому же в нем просматриваются те простота и аккуратность, которые обеспечены продуманностью и качественным исполнением каждого узла. Первый раз фотография мини-грузовика была опубликована в «Моделисте-конструкторе» № 6 за 2002 год под рубрикой «Фотопанорама из писем читателей».
Каких только легковых и грузовых автомобилей не создали отечественные конструкторы и дизайнеры: от шикарных «парадно-выездных» лимузинов до «аскетических» спортивных багги, от многотонных тяжеловозов до стремительных «газелей».
Однако же машин для хозяйства, так сказать, прислужных — небольших и простых, надежных и недорогих, что-то не видно. Приспосабливают конструкторы для этих целей «ижи», «москвичи», «жигули», переделывая их в пикапчики. Но цена машин остается такой же, как и у легковых автомобилей — не всем по карману, и не каждый решится возить на них навалом песок, кирпичи, грунт и другие подобные грузы. Да и не приспособлены они для движения по проселочным дорогам с небольшой скоростью. В таком положении разве что грузовой мотороллер «Муравей» может выручить, но и он имеет свои недостатки: воздушное охлаждение двигателя, небольшую мощность, расположение рулевого колеса в середине колеи, открытую цепную передачу.
Производство же подобной машины для хозяйства промышленность наладить не может или не хочет, считая эту нишу, видимо, неперспективной. Но по собственному опыту знаю, что такой грузовичок пригодился бы не только дачникам, но и сельским жителям, имеющим подворье.

1 — рулевая колонка; 2 — капот двигателя; 3 — двигатель; 4 — колесный редуктор; 5 — корзина сцепления и коробка передач; 6 — передняя полурама; 7 — механизм включения/ выключения вала отбора мощности; 8 — вертикальная ось переломного узла рамы; 9 — горизонтальная ось переломного узла рамы; 10 — аккумуляторный ящик; 11 — задняя полурама; 12 — балка заднего моста; 13 — фары; 14 — колесо; 15 — поперечная балка передней полурамы; 16 — облицовка радиатора; 17 — кузов; 18 — топливный бак; 19 — сиденья водителя и пассажира
Прототипом грузовичка и даже его «донором» послужил мини-трактор, который я сделал еще перед началом строительства дачного домика. Напомню, поскольку на участке не было электричества, этот трактор использовался мною не только (и не столько) для обработки земли или как тягач грузовой тележки, сколько в качестве привода различных строительных агрегатов: растворобетономешалки, деревообрабатывающего станка и т.д. Для этого у мини-трактора имелся вал отбора мощности. Такой же вал я посчитал необходимым установить и на грузовичке. Новая машина унаследовала от мини-трактора (необходимость в котором к тому времени отпала, так как электричество на участок все же подвели) колесные редукторы, колеса (от мотоколяски СЗД), коробку передач (от автомобиля ЗАЗ-965) и «ломающуюся» раму с некоторыми переделками. Именно такая ее конструкция обеспечила грузовичку высокую маневренность — развернуться он может практически на месте.
Наибольшей модернизации подверглась передняя полурама: она стала длиннее, шире, ее поперечина теперь была сделана составной, а лучи расходились под углом 36° к лонжеронам — чтобы не препятствовали увеличенному (до 20° в каждую сторону) «перелому» рамы. Вместо подмоторных кронштейнов на ней установил подмоторную площадку из 6-мм стального листа, а между осями смонтировал изогнутую балку из швеллера № 8, которая значительно увеличила жесткость конструкции. Лонжероны удлинил выносами, каждый из которых сделал из пары отрезков стальных уголков № 4, склепав их полками по длине, получив таким образом профиль в форме буквы Z. Нетронутой в передней полураме осталась только ее стойка с проушинами.

1 — педаль сцепления; 2 — вал привода; 3 — рулевой механизм; 4 — педаль тормоза; 5 — педаль управления дроссельной заслонкой карбюратора («газа»); 6 — вал тормозного привода; 7 — вал и тяга привода управления дроссельной заслонкой карбюратора; 8 — бортовая тяга тормозного привода; 9 — бортовая тяга привода сцепления; 10 — карбюратор; 11 — рычаг сцепления; 12 — обратная тяга привода сцепления; 13 — тормозной диск (2 шт.); 14 — тормозные колодки; 15 — качалка привода сцепления; 16 — промежуточная тормозная тяга; 17 — вертикальная ось «перелома» рамы; 18 — поворотный кронштейн задней полурамы; 19 — шарнирная («переломная») рулевая тяга; 20 — спаренная качалка рулевого управления; 21 — поперечная тормозная тяга; 22 — промежуточная бортовая тяга рулевого управления; 23 — передняя бортовая тяга рулевого управления; 24 — руль и рулевая колонка; все тяги выполнены из прутка Ø14
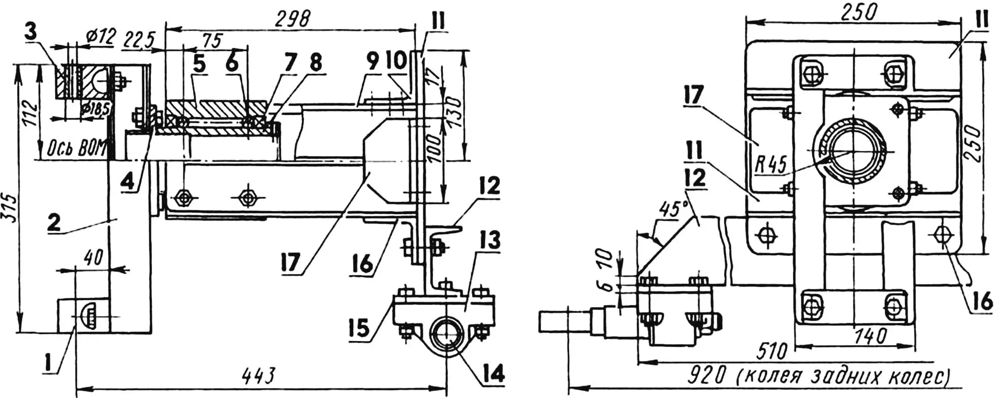
Задняя же полурама осталась практически такой же. Только заменил балку заднего моста на более длинную для расширения колеи и перенес ее за транцевую плиту для увеличения базы грузовичка. Расчеты показали, что эту балку можно изготовить и из одного швеллера № 8 (на мини-тракторе она была сделана из двух таких же швеллеров, без расчета). При этом оставался еще значительный запас прочности.
Габариты машины ограничивались условием, чтобы она умещалась вместе с «жигуленком» в одном стандартном гараже размерами 6×3,2 м.

1 — радиатор; 2 — двигатель «Геркулес»; 3 — жидкостный насос (помпа); 4 — рулевой механизм с сошкой (от автомобиля «Москвич»); 5 — передняя бортовая тяга рулевого управления; 6 — полуось (2 шт.); 7 — передняя (промежуточная) качалка рулевого управления; 8 — колесный редуктор (2 шт.); 9 — тормозной диск (2 шт.); 10 — резиновая муфта полуоси (от автомобиля «Жигули», 2 шт.); 11 — промежуточная бортовая тяга рулевого управления; 12 — коробка передач с корзиной сцепления (от автомобиля «Запорожец»); 13 — спаренная качалка рулевого управления; 14 — механизм включения вала отбора мощности; 15 — шарнирная «переломная» рулевая тяга; 16 — поворотный кронштейн задней полурамы; 17 — первое карданное колено вала отбора мощности; 18 — второе карданное колено вала отбора мощности; 19 — подшипниковый узел с вертлюжной втулкой; 20 — третье колено вала отбора мощности; 21 — задняя подшипниковая опора; 22 — балка заднего моста; 23 — осевой кронштейн
Хотя размеры и конструкция передней полурамы значительно изменены, компоновка же силового агрегата и трансмиссии — двигателя с коробкой передач и валом отбора мощности, полуосей с колесными редукторами — осталась подобна той, что была и на мини-тракторе.
На выносах (удлинениях) лонжеронов смонтировал открытую кабину с удобными сиденьями: для водителя — над левым колесом на крыле, а на крыле правого — сиденье пассажира. Снаружи на лицевой панели кабины в ее середине разместил решетку радиатора, а по бокам — фары. На задней полураме установил вместительный деревянный кузов, а под ним — короб для аккумулятора.
Двигатель грузовичка с громким названием «Геркулес» американского производства, 2-цилиндровый, 4-тактный, с чугунным блоком и жидкостным охлаждением. Приобрел его по случаю у соседа по даче, к которому он неизвестно как попал и лежал много лет без дела. Мотор был неновый, к тому же «размороженный» — с лопнувшей вверху рубашкой системы охлаждения. Привлек он своей компактностью. Ульяновский УД-2, что стоял на мини-тракторе, был почти вдвое больше по габаритам, а мощностью — всего 8 л.с.

Я «Геркулес» проревизировал — на удивление детали почти не имели износа и ржавчина до них не добралась. Трещину на рубашке заделал герметиком ВГО-30-1. Хороший герметик, выдерживает температуру до 250 °С (хотя охлаждающая жидкость до такой температуры не нагревается), а теперь и испытан временем — герметичность рубашки не нарушилась.
В систему охлаждения двигателя входят вентилятор с кожухом, центробежный насос (помпа) и радиатор — компактный, но с увеличенной почти вдвое (по сравнению с обычным такого же размера) теплоотдачей. Вентилятор и помпа приводятся во вращение от коленчатого вала двигателя клиноременной передачей. Для контроля температуры охлаждающей жидкости на блоке цилиндров установлен датчик, а на приборной панели — указатель.
А вот датчика и указателя уровня топлива даже не потребовалось. Бензобак — полупрозрачная полиэтиленовая канистра — расположен на виду, между спинками сидений водителя и пассажира. Топливо (бензин самого низкого качества) самотеком поступает в карбюратор через перекрывной кран с фильтром. Рядом с датчиком температуры жидкости на панели приборов — замок зажигания. Двигатель заводится стартером.
Система зажигания — от магнето. Фары же с дальним и ближним светом и стартер питаются от аккумулятора. Управление светом — тумблером на приборной панели.
Для совместной работы стартера от автомобиля «Запорожец» с маховиком «Геркулеса» на последнем пришлось смонтировать зубчатый венец от запорожского маховика.
Шасси грузовичка — тракторного типа с жесткой подвеской колес. Все колеса одного типоразмера — от мотоколяски СЗД. Ведущие и тормозные — передние. Амортизация — за счет пневматиков.
Трансмиссия состоит из корзины сцепления с коробкой передач от автомобиля «Запорожец», полуосей с эластичными резиновыми муфтами (передний карданный вал от автомобиля «Жигули») и самодельных колесных редукторов. Редукторы же, кроме значительного понижения числа оборотов (і = 6,35), изменяют вращение полуосей на обратное, так как коробка передач на грузовичке развернута на 180° относительно ее положения на «Запорожце». Резиновые же муфты компенсируют несоосности полуосей с валами колесных редукторов. На входных валах редукторов жестко смонтированы (приварены) тормозные диски.

Для привода вала отбора мощности (ВОМ) с коробки передач снял верхнюю крышку, а на ее месте закрепил механизм включения ВОМ. Сам вал представляет собой карданную передачу из нескольких «колен» с шарнирами. Его первое «колено» пристыковано к валу механизма включения посредством шпоночного соединения. В месте «перелома» рамы ВОМ имеет сдвоенный шарнир (из пары крестовин). В задней полураме он проходит в двух подшипниковых узлах и между ними имеет еще один «вертолетный» шарнир. На самом конце последнего «колена» за транцевой плитой установлен фланец, к которому может подсоединяться ответный фланец приводного вала какого-то агрегата или механизма. Скорость вращения ВОМ регулируется числом оборотов двигателя.

Управление грузовичком классическое: слева от рулевой колонки — педаль сцепления, справа — педали тормоза и «газа».
Рулевая колонка и рулевой механизм с сошкой — от автомобиля «Москвич». Усилие для осуществления поворота на заднюю полураму передается системой тяг, качалок и рычагов. Последняя тяга в месте «перелома» рамы имеет крестовину.


1 — цапфа переднего колеса (сталь 45, Ø85, L138, 2шт.);2 — угловая поперечина (швеллер № 8, L320, 2 шт.); 3 — скоба крепления поперечной балки (сталь, лист s6, 2 шт.); 4 — поперечная балка (швеллер № 8); 5 — угольники проушины (уголок № 6,3, L154, 4 шт.); 6 — стойка (уголок № 6,3, L365, 2 шт.); 7 — подмоторная площадка (сталь, лист s6); 8 — вынос (уголок № 4, L560, 4 шт.); 9 — сектор крепления колесного редуктора (уголок № 6,3, 2 шт.); 10 — лонжерон (швеллер № 8, 2 шт.)
Поскольку педали управления грузовичком расположены по левому борту, а рычаги управления дроссельной заслонкой карбюратора, сцеплением и правой тормозной колодкой — по правому, то для передачи усилий от педалей с борта на борт использованы валы с рычагами. Далее усилия на исполнительные механизмы передаются опять с помощью тяг, рычагов и качалок. Для компактности стержневой вал сцепления проложен в трубчатом тормозном валу в подшипниках скольжения — капроновых втулках, вставленных в концы трубы.
На задней полураме размещен деревянный кузов. Каркас его — из брусков сечением 35×35 мм, обшивка фанерная. Для самосваливания грузов кузов смонтирован на полураме шарнирно — на оси в двух проушинах, а задний борт сделан откидывающимся.

1 — ушко; 2 — стойка; 3 — втулка; 4 — стыковочная плита; 5 — корпус вертлюжного подшипникового узла; 6 — стяжная шпилька M12; 7 — подшипник 1000915 (2 шт.); 8 — вертлюжная втулка; 9 — горизонтальное ребро; 10 — верхняя поперечина; 11 — задняя транцевая плита; 12 — балка заднего моста (сталь, швеллер № 8); 13 — осевой кронштейн; 14 — ось заднего колеса; 15 — переходная пластина (сталь 20, s6, 2 шт.); 16 — нижняя поперечина (сталь, уголок № 6,3); 17 — вертикальное ребро (сталь, уголок № 6,3, 2 шт.);
детали 1—11, 13,14,17 — от мини-трактора (см. «Моделист-конструктор» № 5’2002)
Кузов поднимается за счет смещения центра тяжести груза назад. Для исключения самопроизвольного подъема в транспортном положении кузов дополнительно крепится к задней полураме двумя винтами М10.
Максимальная скорость грузовичка — чуть больше 40 км/ч. Считаю, что для такого транспортного средства вполне достаточно. Мощности же двигателя хватает на трогание с места груженой машины даже с 3-й передачи, а пустой — и с 4-й. К управлению грузовичком надо приноровиться — поворот с помощью «перелома» рамы после управления автомашиной осуществляется довольно непривычно.

И хотя после обустройства дачного участка необходимость в грузовичке, в общем-то, отпала, пока храню его вместе с «жигуленком» под одной крышей. Разобрать на запчасти решиться не могу — удачная получилась машина.
Основные параметры мини-грузовика
Габариты, мм:
длина … 2200
ширина … 1100
высота … 1050
Габариты кузова, мм … 1000x1100x260
База, мм … 1040
Колея, мм … 920
Масса, кг … 350
Тяговое усилие, кг … 300
Грузоподъемность (с водителем и пассажиром), кг … 200
Мощность, л.с. … не менее 20
«Моделист-конструктор» № 7’2002, Е. ЕВСИКОВ, г. Люберцы, Московская обл.


