Иногда даже надежная электродрель выходит из строя. Как свидетельствует статистика, отказы случаются не столько в ее механической, сколько в электрической части. Но если советов по восстановлению электрошнура, замене износившихся щеток, испортившегося выключателя или устранению других простейших неисправностей бытовой техники опубликовано немало, в том числе и на страницах «Моделиста-конструктора» (см., например, № 9’95, 6’96, 2’97), то о более сложных видах ремонта этого не скажешь. В частности, ощущается явный недостаток материалов об особенностях технического обслуживания и посильного (в условиях домашней мастерской) ремонта ротора коллекторных двигателей, обычно устанавливаемых в дрелях, гайковертах и других ручных электроинструментах.
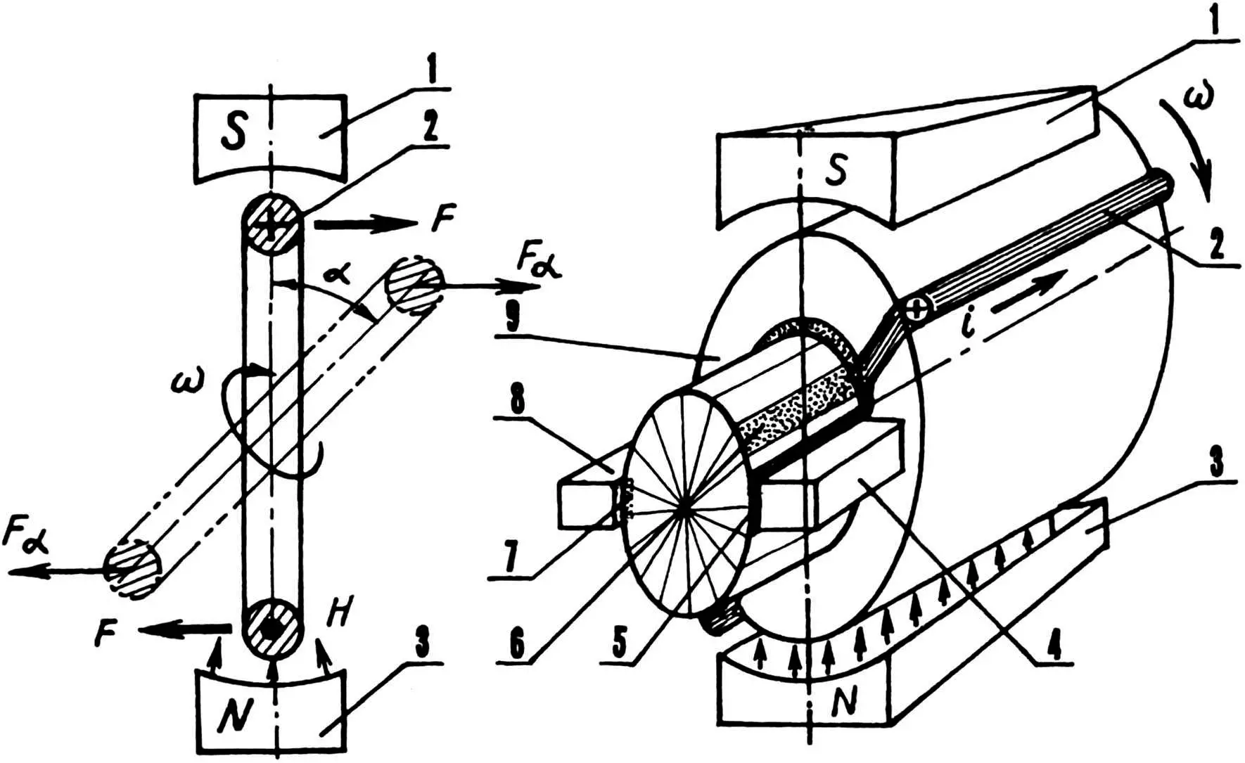
Особенностей этих, увы, немало. Разобраться в них вряд ли возможно без уяснения устройства и принципа действия коллекторных двигателей (рис. 1). Нелишне также вспомнить, что в соответствии с законами физики на проводник с током I в магнитном поле напряженностью Н действует сила F, направление которой определяется по так называемому правилу левой руки. Причем если судить по упрощенной схеме, то наибольший крутящий момент создается, когда виток с током находится точно между полюсами электромагнита.
Однако реальный двигатель развивает максимальную мощность при расположении рабочего витка (петлевой обмотки) под углом опережения (коммутации), который для дрели составляет примерно 45°. При этом переменный ток после электромагнита поступает на щетку А, переходит на ламель А коллектора и далее, по виткам петлевой секции, на ламель Б. Но последняя электрически соединена с антиподом — ламелью Б’, от которой ток через щетку Б и уходит в сеть электропитания.
Однофазные коллекторные двигатели большинства ручных машин — нереверсивные, то есть вращаются лишь в одну, определяемую конкретной схемой включения, сторону. Щетки располагаются со сдвигом геометрической нейтрали на одно-два коллекторных деления. Угол сдвига уточняется экспериментально по минимальному искрению у рабочей поверхности коллектора при номинальной нагрузке для требуемого направления вращения. У реверсивных же двигателей, применяющихся обычно для привода резьбозавертывающих машин, щетки устанавливают на геометрической нейтрали.

1 — южный полюс электромагнита статора; 2 — петлевая обмотка ротора («+» — условное изображение тока, направленного к плоскости чертежа, а «·» — от нее); 3 — северный полюс электромагнита статора; 4 — медно-графитовая щетка А; 5 — ламель А; 6 — ламель Б; 7 — ламель Б’; 8 — медно-графитовая щетка Б; 9 — ротор; а — угол опережения (коммутации); Н — магнитный поток; F — сила выталкивания проводника с током в магнитном поле (определяется правилом левой руки); Fα — сила, действующая на петлевую обмотку с учетом угла коммутации; і — электрический ток; ω — угловая скорость вращения ротора
Биение поверхности коллекторов контролируют в ходе техобслуживания двигателя индикатором часового типа при медленном поворачивании (вручную!) якоря или ротора электрических машин. Если же двигатель находится в разобранном состоянии, то якорь или ротор устанавливают в центрах и также поворачивают. При измерениях ножку индикатора устанавливают перпендикулярно к поверхности коллектора. Значение биения (а оно, как правило, не должно превышать 0,05—0,06 мм) определяют по разности между наибольшим и наименьшим показаниям прибора.
Контроль профиля — тоже весьма важный элемент при определении технического состояния коллектора. Выполняют эту операцию визуально, обращая внимание на глубину залегания миканитовых прокладок между ламелями, которая должна быть в пределах 0,3—0,5 мм.

1 — электрический щуп (4 шт.); 2 — коллектор с ламелями; 3 — проверяемая петлевая обмотка; 4 — стрелочный милливольтметр; 5 — гальваническая батарея; 6 — переменный резистор; номиналы элементов 4—6 уточняются в ходе предварительной настройки схемы
Нарушения пайки или обрывы обычно определяют измерением падений напряжения в местах соединения коллекторных пластин с обмоткой якоря (рис. 2). Соединение выводов петлевых обмоток с соответствующими коллекторными пластинами считается удовлетворительным, если падения напряжения в местах пайки не отличаются более чем на ±10 процентов среднего значения.
Случается, что сами обмотки настолько плохи, что целесообразна замена всего ротора (якоря) на новый. Ну а если такой возможности нет, приходится идти на перемотку даже в условиях домашней мастерской. Дело это весьма хлопотное; для его выполнения необходимо располагать соответствующими инструментами, приспособлениями, расходными материалами и, конечно же, схемой-разверткой (желательно — с круговой диаграммой) намотки.
Например, перемотке подлежит ротор электрической дрели ИЭ1035Э1У2. У него — XII пазов (в дальнейшем для краткости — п) и 24 ламели (л).

Для верности вооружимся круговой диаграммой (рис. 3). Пусть щетка контактирует с ламелью 1. Значит, нужно закладывать витки секции так, чтобы они составляли с магнитным потоком угол а. Используем ли пVI и пХІ или пV и пХII — угол коммутации будет равняться примерно 45°.
Намотку необходимо выполнять в соответствии со схемой-разверткой (рис. 3). То есть виток с л1 должен следовать в пХІ, затем в пVI и приходить к л2. С л2 обмотка направляется через пазы I и VI на ламель 3, а с нее (через пХП и nVIl) — на л4, откуда (через пll и пVIl) — на ламель 5 и так далее.
При намотке ротора у ряда двигателей не исключена ситуация, когда на один паз приходится не две, а уже три ламели (как в электродрелях типа ИЭ1008). Бояться этого не стоит. Надо продолжать намотку, помня, что здесь в один паз попадают секции с трех разных пар ламелей (рис. 4).

В заключение несколько советов. Как уже отмечалось, уточнение угла а позволяет свести к минимуму искрение между коллектором и щетками во время работы. Увеличение этого угла до 75° почти не сказывается на мощности двигателя.
Для изоляции петлевых обмоток (секций) от «железа» ротора вполне допустимо использование (вместо дефицитного пленкокартона) шелка. Уложив в пазы треть обмотки, нелишне подстраховаться от межфазного замыкания. Для этого достаточно поместить между витками еще один слой изоляции. Например, из того же шелка.
Случается, что «припаянные» крючки на ламелях обламываются. Но профиль каждой из этих деталей таков, что позволяет, слегка надрубив мягкую основу, без особых трудностей оснастить их новыми элементами монтажа в виде зацепов. А чтобы последующей пайке обеспечить высокое качество, целесообразно предварительно сделать зубильцем зазубринки на соответствующих местах ламелей.

При невозможности установить, сколько у пришедшей в негодность обмотки было витков и какого провода, для выполнения ремонто-восстановительных работ можно ориентироваться, например, на типовые, характерные для электродрели ИЭ1035, данные. А это значит, что подойдет провод ПЭВ2-0,2 (хотя лучше — в шелковой изоляции, типа ПЭЛШО-0,2). Намотка — по 40 витков в секции.
Выполняя намотку, следует учитывать, что в ходе эксплуатации нагрузку им предстоит испытывать довольно-таки напряженную. На каждый грамм проводов вращающегося ротора действует сила в 15 г. Отсюда и требование: обновляя обмотку, надо обязательно пропитывать ее в пазах эпоксидным клеем.
Если после ремонта двигателя дрель стала вращаться не в ту сторону, необходимо изменить направление тока в обмотках ротора на противоположное. А для этого поменять друг с другом два провода, чтобы ток, шедший от статора на щетку А (рис. 1), поступал на щетку Б.
В. ЗОРИН, Краснодарский край


