Авиационный механик М.А. Мастеров — один из той замечательной плеяды самодеятельных конструкторов, которыми всегда гордилась удмуртская земля. В его активе такие серьезные работы, как дельта- и мотодельтапланы, самолет собственной конструкции и восстановленный Як-18Т, всевозможные станки и многое другое. Сегодня все дела умельца направлены на завершение сборки небольшого колесного трактора, а мы предлагаем читателям ознакомиться с одной из его разработок — мотолебедкой «Крот». На страницах нашего журнала эта тема поднималась не раз, но до сих пор остается актуальной, так как в большинстве областей и городов администрация идет навстречу жителям, выделяя землю для хозяйствования. Думаем, что такой универсальный агрегат будет незаменимым помощником во многих делах.
Простота в изготовлении и эксплуатации, легкость, малогабаритность и универсальность — главные достоинства данного аппарата. Конечно, основное его назначение — это вспашка огорода, но при наличии системы блоков он может использоваться как средство для подъема и перемещения грузов.

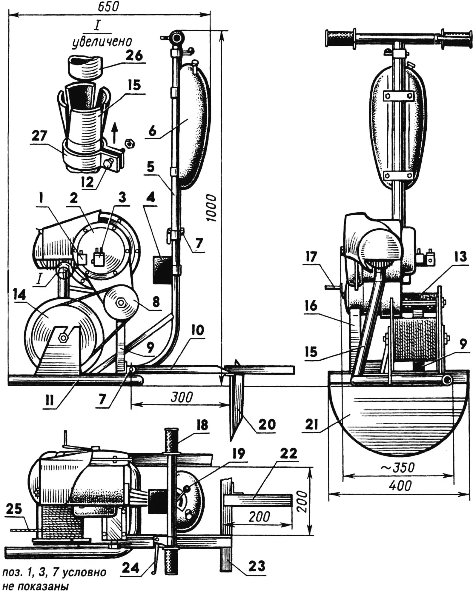
1 — бензонасос, 2 — двигатель Т-200, 3 — карбюратор, 4 — электрокоробка, 5 — секция штанги верхняя (Ст3, труба 33,5×2,8), 6 — бензобак (от мопеда), 7 — болты морские (Ø8), 8 — звездочка ведущая (z=19, от «Иж-Юпитер»), 9 — опора двигателя основная, 10 — тяга якоря (Ст3, уголок 25×25, L300), 11 — рама, 12 — болт М5, 13 — полухомут, 14 — звездочка ведомая (z=42, от «Иж-Юпитер»), 15 — опора-выхлоп, 16 — опора двигателя вспомогательная, 17 — рычаг кик-стартера, 18 — ручка «газа», 19 — рычаг переключения передач, 20 — упор якоря (Ст3, уголок 25×25, L400), 21 — якорь (от диска тракторного культиватора), 22 — рычаг (труба 25×25), 23 — поперечина (уголок 25×25, L400), 24 — рычаг сцепления, 25 — трос (сталь, Ø4), 26 — выхлопной патрубок двигателя, 27 — хомут.
Надежный, достаточно мощный и относительно небольшой двигатель Т-200 (10 л.с., от мотороллера «Тула»), с системой принудительного воздушного охлаждения, послужил конструктору основой для мотоблока. Сам Т-200 не дорабатывался, за исключением корпуса выходного вала, который был обточен до диаметра 80 мм с целью закрепления на раме. Двигатель находится в перевернутом положении по сравнению со штатной установкой, так как для него это не принципиально (из-за отсутствия в моторах мотоциклетного типа специальной системы смазки внутренних механизмов их картеры не обязательно должны находиться внизу). С рамой он соединен в трех точках: со вспомогательной опорой, выхлопным патрубком и с основной опорой. В первой точке двигатель просто лежит на ложементе опоры, во втором — патрубки входят один в другой и зажимаются хомутом, а в третьем — корпус выходного вала жестко зафиксирован полухомутом. Системы подачи топлива и управления аналогичны мотороллерному.

1 — стойки барабана опорные (лист s5), 2 — опора-выхлоп (труба 32×2,5), 3 — опора двигателя основная (труба 25x25x2,5, L150), 4 — подкос штанги (уголок 25×25), 5 — полухомуты (лист s5), 6 — секция штанги нижняя (труба 26,8×2,5), 7 — кронштейны крепления якоря (лист s3), 8 — балка (уголок 30×30, L260), 9 — платформа (швеллер 80x32x3), 10 — опора двигателя вспомогательная с ложементом (труба 25×2,5), 11 — основание рамы (труба 32×2,5).
Рама блока конструктивно проста и технологична в изготовлении. Ее основание согнуто из трубы (можно сварить и из отрезков труб), к которой прикреплены швеллер-платформа с одной подрезанной полкой, стойки барабана и опора-выхлоп. К платформе приварена поперечная балка из уголка, а к ней, в свою очередь, основная и вспомогательная опоры двигателя, нижняя секция штанги и кронштейны крепления якоря. Использование рамы в качестве выхлопной трубы и глушителя значительно упрощает компоновку силового агрегата, а также снижает уровень шума.

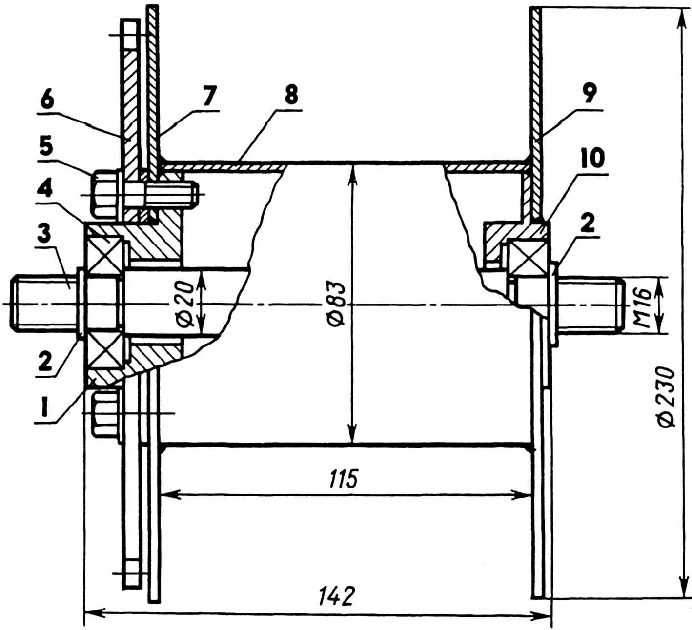
1,10 — корпуса подшипников (Ст3), 2 — шайбы, 3 — вал (сталь 45), 4 — подшипник 203 (2 шт.), 5 — болт М8 (4 шт.), 6 — звездочка ведомая, 7, 9 — реборды (Ст3, лист s2), 8 — корпус барабана (Ст3, труба 83×2).
Барабан лебедки вращается в подшипниках. Он состоит из сваренных между собой двух корпусов подшипников, двух дисковых реборд и корпуса, сделанного из трубы. Привод его от двигателя осуществляется цепной передачей с помощью стандартных мотоциклетных звездочек.
Для вспашки земли используется плуг, изготовленный по типу конного из тракторного плужника и жестко закрепленный с помощью стойки на продольной балке. К передней части продольной балки приварена вилка, сквозь которую пропущена ось с шатуном. На ось насажено полевое колесо, а на шатун — бороздное. Глубина вспашки регулируется изменением угла наклона шатуна, а параллельность борозд — положением фиксатора на полевой планке, приваренной к вилке. Такие нехитрые приемы значительно облегчая ют труд пахаря, и ему остается только удерживать плуг вертикально с помощью ручек, шарнирно насаженных на поперечину. Конструкция ручек позволяет сложить плуг, например, при перевозке агрегата в легковом автомобиле, или вставать за него человеку любого роста.

1 — подъем (Ст3, труба 33,5×2,8), 2 — балка продольная (Ст3, труба 40×3, L800), 3 — колесо полевое (от натяжителя ремня комбайна), 4 — фиксатор (болт М10), 5 — ограничитель, 6 — колесо бороздное (от натяжителя ремня комбайна), 7 — стойка (Ст3, труба 50×32), 8 — плуг, 9 — ползун (Ст3, уголок 25×25), 10 — ручка (Ст3, труба 26,8×2,5), 11 — перемычка (Ст3, труба 26,8×2,5), 12 — поперечина (Ст3, труба 26,8×2,5), 13 — подкос (Ст3, уголок 25×25), 14 — втулка (Ст3, труба 33,5×2,8), 15 — петля (Ст3, пруток Ø12), 16 — ось (сталь 20, пруток Ø34), 17 — планка полевая (Ст3, уголок 40×40), 18 — вилка (Ст3, труба 40×3), 19 — шатун (сталь 20, труба 32x25x2,5), 20 — крюк тягового троса, 21 — кольцо упорное (Ст3, лист s3).
Процесс вспашки земли с использованием «Крота» выглядит следующим образом. На одном краю обрабатываемого участка устанавливается силовой агрегат, который закрепляется на месте якорем, а на другом — плуг, между собой они соединяются тросом. Каждый раз после рабочего хода плуг приходится переносить обратно, то есть совершать холостой проход. Чтобы избежать нежелательной затраты сил и времени, на противоположном краю поля можно основательно закрепить один блок и пропустить через него трос, связывающий агрегат и орудие, которые находятся рядом (на одной стороне) — оба хода получаются рабочими.
В. КУДРИН


