Для туристов и горнолыжников в «больших» горах со сложным рельефом и существенным перепадом высот обычно ставят кресельные канатные дороги. На своем тягово-несущем тросе они имеют специальные подвесы с одним или двумя креслами. Длина таких подъемников ограничивается 1,5—2 км: опыт показал, что подъем, превышающий по времени 10—15 мин, может в зимнее время привести к неприятностям — обморожению незащищенных участков кожи, особенно лица.
Что касается так называемых «малых» гор, то здесь наиболее рационально применение канатной дороги с бугелями. Такие буксировочные подъемники частенько конструируют и любители, используя при этом самые обычные материалы и несложные механизмы. Несмотря на простоту и неприхотливость, они могут поднимать в гору по небольшой трассе до 500—700 лыжников за час.
Предлагаем описание и схему самодельного переносного подъемника, который хорошо зарекомендовал себя, работая в течение нескольких сезонов на горнолыжных склонах.
Освоение лыжниками склонов «малых» гор и оврагов удобнее всего начинать с применением компактных канатных «лифтов», изготовленных с использованием тонкого стального троса и двухтактных двигателей внутреннего сгорания. Такой подъемник легко привезти к месту катания, скажем, в багажнике автомобиля. Установка его на склоне силами 2—3 человек занимает не более получаса. А работу канатной дороги при длине 150—200 м может обеспечить мотор, имеющий мощность 6—12 л. с.

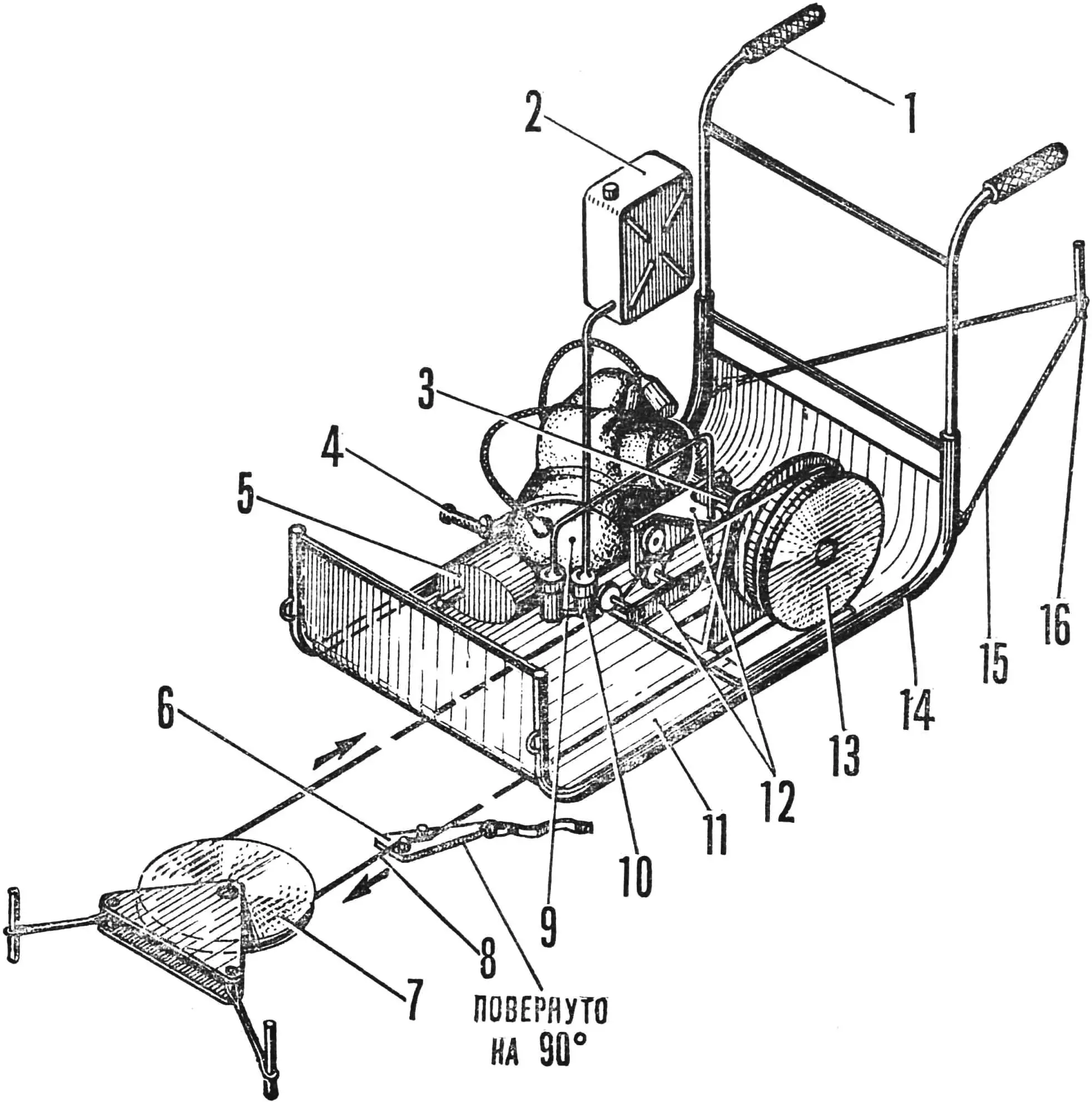
1 — ручка рамы-салазок, 2 — бачок-канистра, 3 — ведущий вал, 4 — кикстартер двигателя, 5 — глушитель, 6 — бугель, 7 — обратный блок, 8 — тяговый трос, 9 — двигатель, 10 — золотниковая камера карбюратора, 11 — обшивка днища рамы-салазок, 12 — автомат газа, 13 — ведущий шкив, 14 — рама-салазки подъемника, 15 — трос-расчалка, 16 — штырь.
Наиболее подходящи для этой цели двигатели от мотороллеров «Вятка» — ВП-150М, «Тула» — Т-200М. Неоспоримое преимущество их — наличие коробки передач, позволяющей изменять скорость движения тягового троса, а значит, и лыжника, поднимающегося по склону. Надо только иметь в виду, что все двигатели должны быть с системой принудительного охлаждения.
Двигатель ВП-150М, например, легко устанавливается на раме-салазках с обшивкой из листа алюминия по днищу (рис. 1), а поскольку он представляет собой так называемый блок «мотор — колесо», то на ось просто насаживается ведущий шкив подъемника вместо снятого колеса. Канистру с горючим располагают выше карбюратора, чтобы топливо могло поступать в систему питания самотеком. Слив его остатков после окончания работы можно облегчить, поставив в бензопроводе краник. Как показала эксплуатация, расход двухтактной смеси при оборудовании двигателя автоматом газа не превышает 1 — 1,5 л/ч.

1 — ведущий вал, 2 — основание приводящего механизма автомата газа, 3 — оболочка тросика золотника, 4 — тросик золотника карбюратора, 5 — рычаг управлення, 6 — фиксирующий ролик, 7 — базовый ролик, 8 — перегибающий ролик, 9 — золотниковая камера карбюратора.
Конструкция простейшего автомата (рис. 2) следующая: на валу ведущего шкива крепится основание, на котором расположены ролики приводящего механизма. На оси базового ролика находится рычаг, с одной стороны несущий перегибающий ролик, с другой — соединенный с тросиком золотника карбюратора. Нагрузка, создаваемая усилием перегибания тягового троса, на холостом ходу уравновешивается усилием специально подобранной пружины карбюратора. При увеличении нагрузки (подъем лыжника) перегибающий ролик поднимается вверх, поворачивает рычаг и вытягивает тросик, поднимая золотник и автоматически увеличивая число оборотов двигателя. Без нагрузки он работает на минимальных отрегулированных оборотах, что позволяет существенно экономить горючее и, кроме того, упрощает для лыжника захват троса бугелем.
Рама-салазки крепится тросом-расчалкой к штырю, глубоко забитому в землю, или к стоящему вблизи дереву; благодаря этому подъемник удерживается на склоне. Таким же образом крепится и обратный блок. Трос растягивают между ведущим шкивом и обратным блоком. Обычно используют оцинкованный трос Ø 4—6 мм и к нему — съемные эксцентриковые бугели. В нерабочем положении — при транспортировке подъемника — трос должен наматываться на ручки рамы. При эксплуатации переносного подъемника не требуются какие-либо опоры для поддержания троса. Однако необходимо внимательно следить за тем, чтобы ветви троса не перепутывались, не терлись о камни, не врезались глубоко в снежный наст.

1 — тяговый трос, 2 — пластина бугеля, Д16Т, 3 — втулка, латунь, 4 — болт М6Х25, 5 — ремень, 6 — кольцо ремня.
Важное значение имеет установка глушителя выхлопа для снижения уровня шума, что, конечно же, сделает отдых более приятным.
Конструирование различных вариантов подъемников показало возможность реального обеспечения веса его в пределах 60 кг, включая сюда и рабочий запас горючего — 10 л. Подъемник позволяет одновременно подниматься в гору 10—15 лыжникам.
Теперь рассмотрим конструкции бугелей — специальных устройств, с помощью которых лыжник захватывает трос и таким образом может подняться вверх по склону. Бугели бывают постоянно закрепленные на движущемся тросе или навесные.
Простейшие навесные бугели рычажного типа работают по принципу заклинивания или перегибания движущегося троса (рис. 3). Могут быть они и с эксцентриковым механизмом (рис. 4). Рычажные состоят из металлической треугольной пластины несколько вытянутой формы и пары втулок на болтах. Втулки поставлены на определенном расстоянии друг от друга, обычно равном 1,25 диаметра троса, чтобы тот мог быть надежно зажат между ними. Углы пластины скруглены, и к длинному ее концу на кольце крепится ремень.

1 — накладка, текстолит, 4 шт.; 2 — заклепка Ø 3 мм, сталь, 4 шт.; 3 — рукоятка, сталь, 2 шт., 4 — тяговый трос; 5 — серьга, сталь, 6 — заклепка Ø 6 мм, сталь, 2 шт.
Эксцентриковый бугель более сложной конструкции, но зато им удобнее и проще захватывать трос при «посадке» на подъемник. Он состоит из двух металлических рукояток с накладками из текстолита и металлической серьги между ними. Внутренние концы рукояток имеют неглубокую насечку, скруглены и поставлены по отношению к серьге на эксцентрики, роль которых играют стальные заклепки. При изготовлении такого бугеля необходимо помнить, что расстояние между концами-зажимами выбирается строго определенно в зависимости от диаметра троса.

A — фиксация бугеля на тросе.
Б — положение при подъеме лыжника в гору.
В — снятие бугеля с троса.
Прежде чем подняться на гору с помощью буксира, научитесь пользоваться бугелями. Запомните, что недопустимо делать на ремне петлю и продевать туда руку или наматывать ремень на кисть, нельзя также брать трос руками даже в перчатках или варежках; места «посадки» на подъемник и схода с него должны быть оборудованы горизонтальными площадками. Теперь возьмите бугель в руку, втулками вниз, в другую вложите ремень. Установите бугель на трос и слегка натяните ремень — трос пока будет проскальзывать, но если его сильнее потянуть, то бугель заклинит трос и пойдет вместе с ним вверх. Этот момент самый ответственный: если вы ослабите натяжение, бугель может соскочить. Чтобы этого не произошло, успевайте отрегулировать натяжение ремня рукой. Перед тем как начать движение вверх, сделайте шаг вперед, это смягчит рывок, уменьшит нагрузку на двигатель, и вам легче будет совершить посадку.
Подъехав к поворотному блоку подъемника, надо освободить трос от бугеля. Для этого достаточно слегка ослабить натяжение ремня, подтянувшись сначала на руках чуть вперед, а затем быстро выпрямив их. Можно также сделать энергичный шаг вперед, оттолкнувшись лыжей так, чтобы слегка обогнать движущийся трос: тогда ремень провиснет и бугель упадет. Помните, что нельзя бросать ремень, не освободив бугель от захвата, — трос может спружинить, и тогда ремень обмотается вокруг троса. В лучшем случае он будет разрезан в поворотном блоке, в худшем — возможна авария с выходом из строя подъемника.

ПРИМЕР РАСЧЕТА ФУНИКУЛЕРА
В качестве примера приведем расчет буксировочного подъемника для одноцилиндрового двухтактного двигателя от тульского грузового мотороллера ТГА-200 «Муравей», имеющего мощность 12 л. с. при 5200 об/мин, воздушное принудительное охлаждение и четырехступенчатую коробку передач.
Необходимые данные для расчета:
- мощность — U=12 л. с.
- заданная скорость подъема лыжника на первой передаче — V=2 м/с
- КПД подъемника — η=0,8
- длина трассы — L=150 м
- перепад высот — Н=55 м
- угол подъема — α=20°
- вес лыжника — G=70 кгс.
1. Определяем необходимое усилие S для подъема одного лыжника:
где F — сила трения, Т — касательная составляющая от веса лыжника.
где N — нормальная составляющая от веса лыжника, f — коэффициент трения лыж по снегу (f=0.035).
Тогда
2. Тяговое усилие двигателя:
3. Возможное число лыжников, одновременно поднимаемых подъемником:
4. Минимальное расстояние между транспортируемыми лыжниками:
5. Время подъема:
6. Производительность подъемника:
где τ=3600 с.
«М-К» 2’82, Ю. ЗОТОВ, Н. ШЕРШАКОВ


