Багато років виписую ваш журнал. Це справжній помічник тим, хто щось робить своїми руками. Ми живемо на півдні України, тут такий будівельний матеріал, як деревина, — дефіцит. Багато моїх сусідів-садівників почали ставити господарські споруди з цементних панелей власного виготовлення. Деякі споруди мають товщину стін всього 1,5—2 см і не поступаються за міцністю спорудам з інших матеріалів. На своїй садовій ділянці я побудував за цією технологією душеву кабіну, а також підвал — вийшло непогано. Чим і хочу поділитися з читачами. Думаю, знадобиться багатьом.
Хто не мріє мати на своїй заміській ділянці душ? Приємно освіжитися в спекотну погоду після садово-городніх клопотів. Ще приємніше, якщо душева збита не з обаполів і старого іржавого заліза, а акуратна і зручна.
Ось приклад такого рішення — душева кабіна з невеликих саморобних залізобетонних панелей. Вихідний матеріал обрано як найдоступніший, порівняно дешевий і довговічний.

1 — стіл; 2 — опалубка (дерев’яний брусок 50×50); 3 — деталі закладні для збирання; 4 — плівка; 5 — арматура.
На виготовлення душевої кабіни потрібно 0,2 м3 бетону, арматурні прути (сталева сітка) і дріт діаметром 1 мм — для зв’язки.
Починають роботу з приготування столу, на якому відливаються стіни і стельова панель. Поверхня його повинна бути рівною, тому зверху укладають металевий лист або дерев’яно-стружкову плиту. При встановленні столу використовують рівень.

1 — стіна; 2 — шайби; 3 — болт; 4 — розчин.
На стіл послідовно укладають коробки опалубок стін і стелі. Попередньо підготовляють відповідні закладні елементи — все, що буде включатися в панелі: віконні і дверні коробки, рами вентиляційних вікон, топкові дверцята, арматура, дерев’яні вставки-пробки для кріплення внутрішнього обладнання і металеві штирі для подальшого збирання конструкції.
Опалубку роблять з розрахунку товщини стін 40 мм, але можна і тонше; для стелі достатньо 25 мм, якщо на неї не передбачають встановлювати бочки і подібне.

А — передня; Б — права; В — задня; Г — ліва (з зовнішніми топковими дверцятами котла).
На наведених схемах представлені основні моменти підготовчих робіт і головні вузли конструкції. Щоб отримати красиву зовнішню поверхню панелей, на стіл попередньо укладають поліетиленову плівку. Для надання в окремих місцях декоративного рельєфу під плівку насипають шар піску, в якому руками або спеціальними пристосуваннями відтискають візерунки, або по низу стін викладають кам’яні панелі.

1 — опалубка; 2 — плівка; 3 — арматура; 4 — пробки закладні для збіркових отворів (8 шт.); 5 — пробка закладна для труби котла; 6 — пробки закладні для водопровідних труб (2 шт.).
Перед заповненням опалубки розчином розподіляють арматуру таким чином, щоб у момент бетонування вона опинилася посередині товщини панелі. У дерев’яні коробки віконок і двері по боках забивають цвяхи — для кращого закріплення в бетоні. У місцях, де передбачається подальший монтаж внутрішнього обладнання (трубопроводів, змішувачів, вішалок і т.д.) встановлюють дерев’яні конічні пробки. Після збирання їх вибивають, а на їх місце ставлять відповідне кріплення і заробляють розчином.

1 — стіна; 2 — стеля; 3 — штир закладний; 4 — гайка М8; 5 — шайба; 6 — розчин.
Панель-підлогу закладають прямо на землі, для чого відведену площадку попередньо рівняють по нівеліру і ретельно трамбують (можна з використанням піщаної подушки). Опалубку з дерев’яних брусків ставлять з розрахунку товщини підлоги 40—50 мм. Всередину укладають плівку, розміщують арматуру, закладний брусок під зливний канал і заповнюють бетоном.

1 — опалубка; 2 — деталь закладна для зливу; 3 — арматура; 4 — площадка земляна.
Кілька порад щодо приготування бетону. У просторий ящик з гладким дном або просто на металевий лист насипають два відра крупного піску, в який, постійно перемішуючи, додають відро цементу. Суміш ретельно перемішують, щоб вона стала однорідною. Потім, продовжуючи помішувати, насипають чотири відра гравію або дрібного щебеню. Зверху роблять заглиблення і невеликими порціями наливають воду. Якість отриманої суміші перевіряють пробою «на лопату», кілька разів вдаряючи по ній плоскою частиною штика: якщо між частинками щебенки видно порожнечі — бетон занадто густий; легке занурення лопати в суміш говорить про те, що бетон рідкий. Суміш використовують свіжою, одразу заповнюючи опалубку.

1 — стіни; 2 — штирі закладні; 3 — зв’язка дротова.
Щоб розчин в опалубці при висоханні не потріскався, процес «стримують», накривши панель мішковиною або соломою і поливаючи час від часу водою. Через десять днів панель ставлять на ребро досушиватися. При закладці опалубки стелі можна заздалегідь передбачити отвори для подальшого кріплення її до штирів стін, а також під трубу водогрійного котла. З урахуванням цього достатньо закласти відповідні дерев’яні пробки, попередньо розрахувавши їх місцезнаходження (на рисунках наведені орієнтовні розміри).

1 — труба-котел; 2 — труба димова; 3 — кришка котла; 4 — ковпак димової труби; 5 — патрубок гарячої води (вихідний); 6 — патрубок холодної води (вхідний); 7 — фланці встановлення труб.
З остаточною збіркою підготовлених елементів кабіни група з шести осіб справляється за півгодини. Стіни ставлять на підлогу на розчині, скріпляючи дротом закладні штирі. Потім також на розчині кладуть стелю. Якщо якість бетону неважлива, стеля може промокати, тому зверху дах доцільно покрити рубероїдом і засмолити. Всі щілини заробляють розчином, а нерівності стін затирають дерев’яними штукатурними терками. Після цього підлогу застилають метлахською плиткою, встановлюють металеву решітку над зливним каналом. Ззовні кути кабіни декорують гранітними камінцями або галькою.

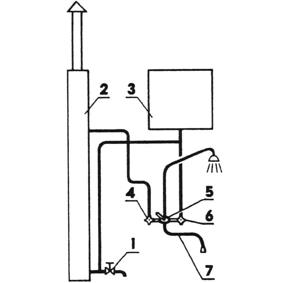
1 — кран зливний; 2 — котел водогрійний; 3 — бак холодної води (150—200 л); 4 — кран гарячої води; 5 — перемикач;
6 — кран холодної води; 7 — змішувач.
Якщо на кабіну монтують ємність для води — бочку літрів на 150—200, то її рама повинна спиратися на місця стику стелі зі стінами. Бочку фарбують у чорний колір для кращого самонагріву, а навколо неї ставлять каркас зі склінням або поліетиленовим покриттям — для парникового ефекту.

На прохолодний період бажано мати водогрійний котел — покупний або саморобний. Розмістити його можна і поза душевою, але краще — всередині, оскільки при цьому буде обігріватися і саме приміщення. А топкову дверцята зручніше вивести ззовні бічної панелі. Деякі віддають перевагу відкритому зверху котлу (типу самовара) з тонкостінної (2 мм) труби діаметром 200 мм. Він займає мало місця, безпечний в експлуатації і зручний для розбирання і чищення. Встановлюють його на топку за допомогою великого фланця, до якого також на фланці кріплять прохідну всередині котла димову трубу діаметром 100 мм. Патрубок подачі холодної води розміщують внизу котла, а вихід гарячої — зверху. Підключення трубопроводів показано на схемі.
З легким паром, садівники-городники!
«Моделіст-конструктор» № 6’98, І. ДАНИЛОВ, м. Херсон, Україна
