У нашій середній смузі трапляються такі роки, коли плодові дерева стоять ніби в будівельних риштуваннях: їх не видно через частокіл підпірок, що рятують перевантажені плодами гілки.
Садоводи знають, як важко виростити хороший урожай, але не менша проблема — зберегти його, максимально використати щедрі дари осені. Плоди закладають на зберігання, консервують, варять з них варення та джеми, переробляють на сік. Однак пропоновані промисловістю соковарки та соковижималки далекі від досконалості: трудомістка робота з ними, а в урожайний рік — малоефективна. Крім того, ці апарати потребують великої витрати електроенергії або газу, та ще й попередньої обробки плодів: подрібнення, видалення серцевини, насіння.
Не випадково тому такий великий інтерес у телеглядачів викликав простий і продуктивний прес для отримання фруктових соків, розроблений новатором з Підмосков’я інженером І. Масловим і показаний у популярній телевізійній передачі «Це ви можете».
У мене в саду всього сім яблунь, і в осінні вітряні дні щоранку під ними — строкатий килим упалих, а отже, побитих, непридатних для зберігання або реалізації плодів. Найкраще їх переробляти на соки. І цю роботу я вирішив механізувати і максимально спростити.
Так з’явився саморобний прес, про який хочу розповісти детально, відгукуючись на численні прохання телеглядачів і читачів «Моделіста-конструктора».

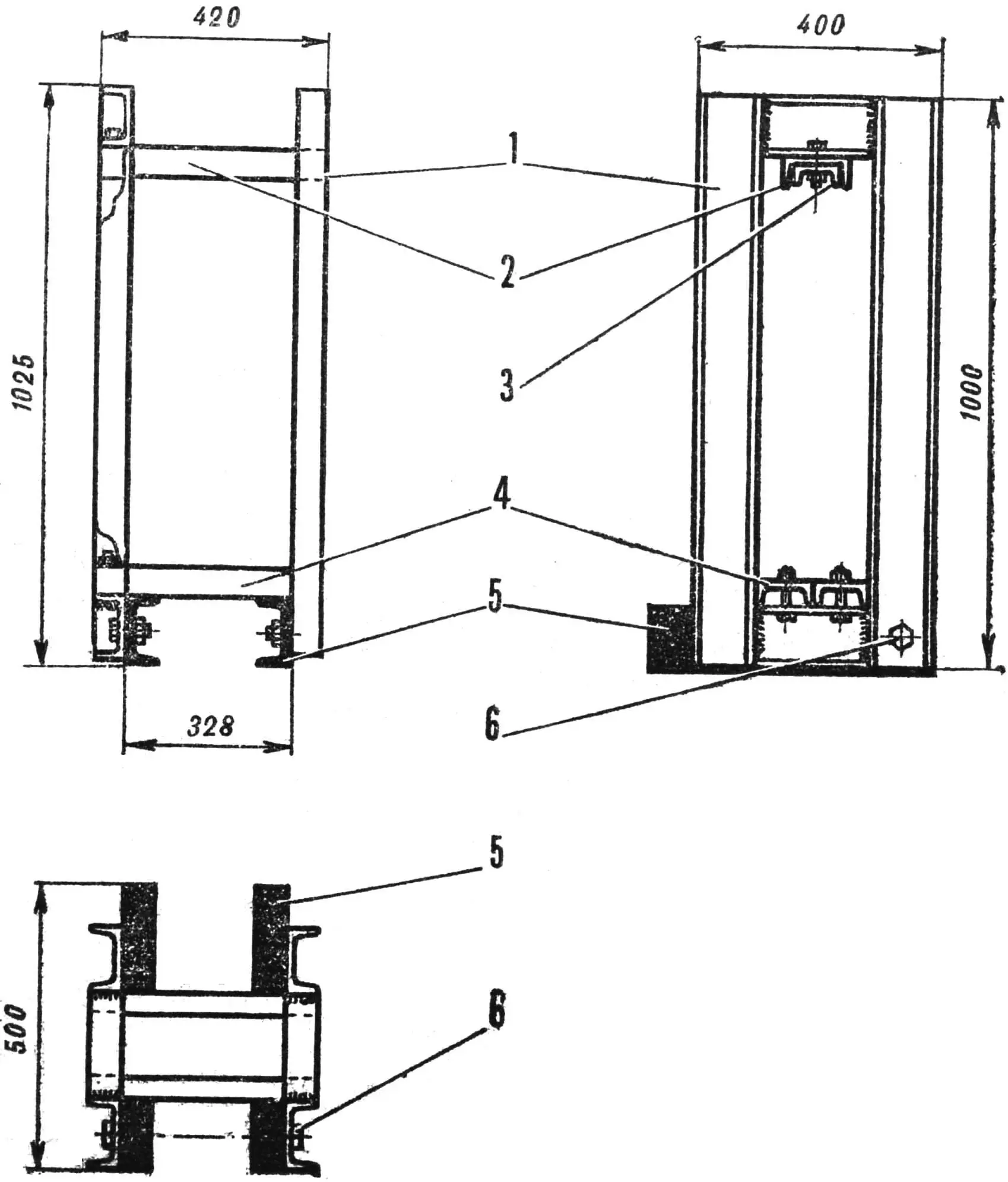
1 — брусок-проставка, 2 — диск-підп’ятник домкрата, 3 — диск-пуансон, 4 — дрібна сітка, 5 — велика сітка, 6 — бак зі зливною трубкою.
Основна частина преса — вертикальна прямокутна рама. У неї поміщається бак, а на нього, на диск-кришку, встановлюється звичайний автомобільний домкрат. За допомогою такої соковижималки можна всього за годину переробити мішок яблук, отримавши сік гарної якості.
Для виготовлення преса не потрібні якісь дефіцитні матеріали: я використав те, що було під рукою, вдаючись лише до допомоги зварювальника, оскільки така можливість була. Але, думаю, можна обійтися і без цього, адже металеві частини можуть з’єднуватися на болтах або замінюватися відповідними за міцністю дерев’яними.
Рама — силова частина преса, тому до неї в першу чергу пред’являються вимоги щодо міцності. Я зібрав її зі швелерів, П-подібних сталевих профілів. Причому для зручності користування та зберігання зробив напівзбірною: зварні прямокутні боковини з’єднуються між собою на болтах поперечними балками з тих же швелерів: опорну пару знизу та посилену (подвоєну) упорну — верхню. У зібраному вигляді рама встановлюється на два горизонтальні швелери, що йдуть уздовж боковин зсередини, і з’єднується з ними шарнірно — завдяки цьому можна, не розбираючи установку, нахиляти її для зливу залишків соку після пресування.

1 — боковини (швелер 100), 2 — упорна балка (швелер 100), 3 — посилення балки (швелер 80), 4 — опорна пара балок (швелери 100), 5 — основа (швелери 100), 6 — шарнір (болт М10).
Бак встановлюється на опорну пару швелерів. Він зварений з листа нержавійки товщиною 3 мм; у разі використання вуглецевої сталі ємність необхідно зсередини облудити. У верхній частині бака, приблизно в 20 мм від кромки, приробляється зливна трубка довжиною 60 мм.
Багато хто здивується: чому злив знаходиться у верхній, а не в придонній, як зазвичай, частині бака. У цьому-то і полягає новизна та особливість пристрою. Адже практика показує, що витискуваний сік завжди збирається зверху — отже, і зливати його зручніше саме звідси, а внизу залишається жом.
До комплекту бака входять також дві круглі металеві сітки, що укладаються поверх яблук: перша з розміром комірок 1 мм, друга — 0,5 мм (щоб сітки не розсипалися, по периметру вони обпаяні); дерев’яний (дуб, бук) диск-пуансон з отворами для проходу соку; ще один диск меншого діаметра (щоб не перекривав отвори пуансона) та проставка-бобишка з дерев’яного бруса, що використовується, коли не вистачає ходу домкрата.
Домкрат автомобільний, що розвиває зусилля до 5 т. Він встановлюється на заповнений (2—3 відри яблук) бак у зборі з прес-комплектом і впирається у верхню поперечину рами.
Хочу одразу обговорити деякі обмеження щодо можливих замін деталей. Вони стосуються насамперед диска-пуансона: не стільки за матеріалом для його виготовлення, скільки за його товщиною — вона не повинна бути меншою, тому що завдяки їй і відбувається витіснення вгору та «подача» до зливного отвору віджатого соку. А ось верхню сітку можна замінити. Вона відіграє роль фільтра, тому замість неї цілком підійде і складена в кілька шарів марля. Так само і нижні швелери: замість них використовуйте дерев’яні балки відповідного перерізу, з’єднані для стійкості поперечинами. Призначення цієї основи — забезпечити нахил преса для зливу залишків соку.
Сам же процес отримання соку складається з двох операцій. Перша — підготовча: яблука попередньо дробляться в невеликому бочонку товкачкою, щоб їх більше помістилося в бак преса і легше проходив віджим соку. Потім у заповнений бак укладаються сітки, диск-пуансон, менший диск-підп’ятник домкрата і ставиться сам домкрат з упором у верхню поперечину рами. Далі домкрат приводиться в дію, як зазвичай, важелем-подовжувачем, і сік починає підніматися до зливного отвору. По мірі опускання пуансона за потреби під домкрат підкладається брусок-проставка. Коли виділення соку припиниться, установка нахиляється завдяки шарніру в основі — і залишки соку зливаються. Потім цикл повторюється.
«М-К» 7’85, І. МАСЛОВ
