Конструкцию, о которой пойдет речь, можно было бы назвать картофелеуборочным комбайном, так как состоит она из нескольких относительно самостоятельных агрегатов.
Предназначена картофелекопалка для сцепки прежде всего с мини-трактором «Осоринец», описание которого опубликовано в «Моделисте-конструкторе» № 12 за 1996 г. Но поскольку она имеет автономный двигатель, то способна работать в паре с любым тягачом вне зависимости от того, есть у него вал отбора мощности или нет. Даже лошадь можно запрячь! Думаю, что принципиальная схема моей уборочной машины пригодится и другим самодеятельным конструкторам, создающим собственную сельскохозяйственную технику.
Особенность схемы вот в чем. Двигаясь за мини-трактором по междурядьям, прицепной агрегат своим лопатообразным лемехом поднимает боровок (рядок картофеля) и высвобождает клубни. Они вместе с землей и остатками ботвы попадают на цепочно-прутковый транспортер элеватора. В других картофелекопалках клубни после транспортера направляются через проходной лоток в барабан-очиститель, на входе в который они постоянно скапливаются, задерживая уборку. В моей же нет барабана-очистителя — земля просыпается сквозь прутья еще на транспортере, жухлая ботва больших помех не создает, и очищенные клубни оказываются в бункере-накопителе.

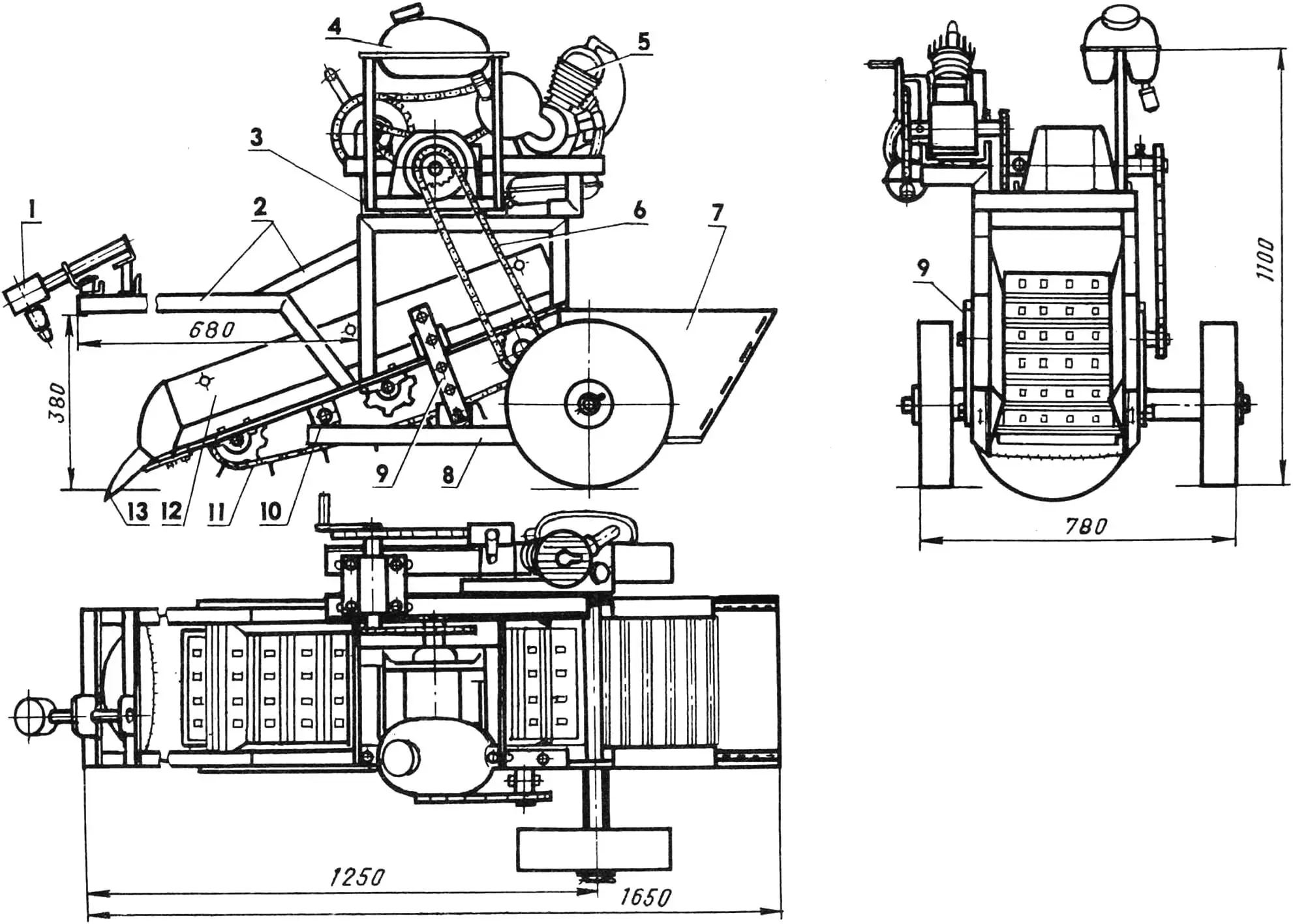
1,2 — шарнир и тяги сцепного устройства (на виде спереди условно не показаны), 3 — рама моторно-редукторного блока, 4 — топливный бак, 5 — двигатель, 6 — цепь привода транспортера элеватора, 7 — бункер-накопитель, 8 — колесный лафет, 9 — регулировочные планки, 10 — узел крепления элеватора, 11 — цепочно-прутковый транспортер, 12— борт элеватора, 13 — лемех.
Комбайн прост конструктивно — в нем много узлов и деталей от списанных сельхозагрегатов, прежде всего от промышленной картофелекопалки, а также технологически — для его изготовления в домашней мастерской достаточно иметь ножовку по металлу, электродрель и сварочный аппарат (токарных работ здесь — минимум).
Основу кинематики составляют три цепные и одна цепочно-прутковая передачи (с использованием роликовых цепей и звездочек от мопедов, велосипедов и сельхозтехники).
А теперь более подробно о каждом из основных узлов.
Главный из них — элеватор. Он выполняет две функции: транспортную — перемещает и очищает картофель — и несущую — к его раме крепится весь моторно-редукторный блок. Элеватор установлен асимметрично относительно колесного лафета. Это связано с особенностью работы тягача — ширина его колеи обычно больше расстояния между боровками, поэтому одни колеса трактора и лафета всегда идут по междурядью, а другие — по убранному полю.

1 — лемех, 2,10 — борта, 3, 9 — скаты, 4 — рама, 5 регулируемая опорная звездочка (z=9, 2 шт.), 6 — нерегулируемая опорная звездочка (z=9, 2 шт.), 7 — нерегулируемая тяговая звездочка (z=9, 2 шт.), 8 — вал привода, 11 — болт М10 (16 шт.).
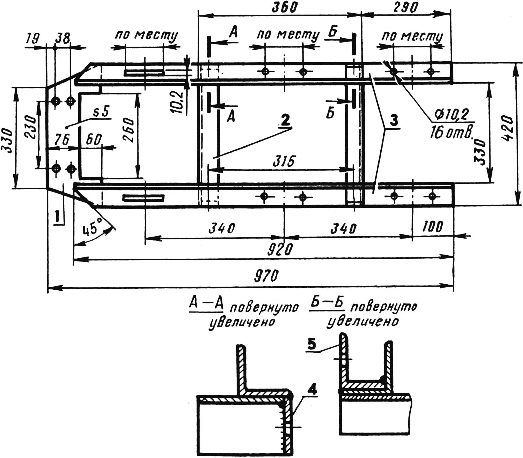
Рама элеватора сделана из уголков 45×45 мм. К ней привинчены лемех и корпуса опорных и тяговых звездочек на ведущем валу транспортера.

1 — передок (стальной лист, s5), 2 — поперечина (уголок 45x45x5, 2 шт.), 3 — лонжероны (уголок 45x45x5), 4 — кронштейн крепления к лафету (стальной лист, s5, 2 шт.), 5 — кронштейн регулировочной планки (уголок 45x45x5, 2 шт.).
Цепочно-прутковый транспортер или гусеница — от списанного картофелеуборочного комбайна. Цепи ее укорочены примерно до 1670 мм (оставлено 44 прутка), а прутки — до 300 мм. Гусеница снабжена лопатками захвата клубней (без них крупные картофелины будут скатываться вниз) и установлена на опорные звездочки, передние из которых — регулируемые (ими определяется степень натяжения цепей). Перемещается транспортер тяговыми звездочками на ведущем валу. Причем со скоростью большей, чем скорость движения трактора по междурядью, иначе комбайн не справится с потоком поступающих клубней.

1 — роликовая цепь, 2 — лопатки, 3 — металлическая втулка, 4 — ось (укороченный пруток), 5 — пластмассовая втулка.

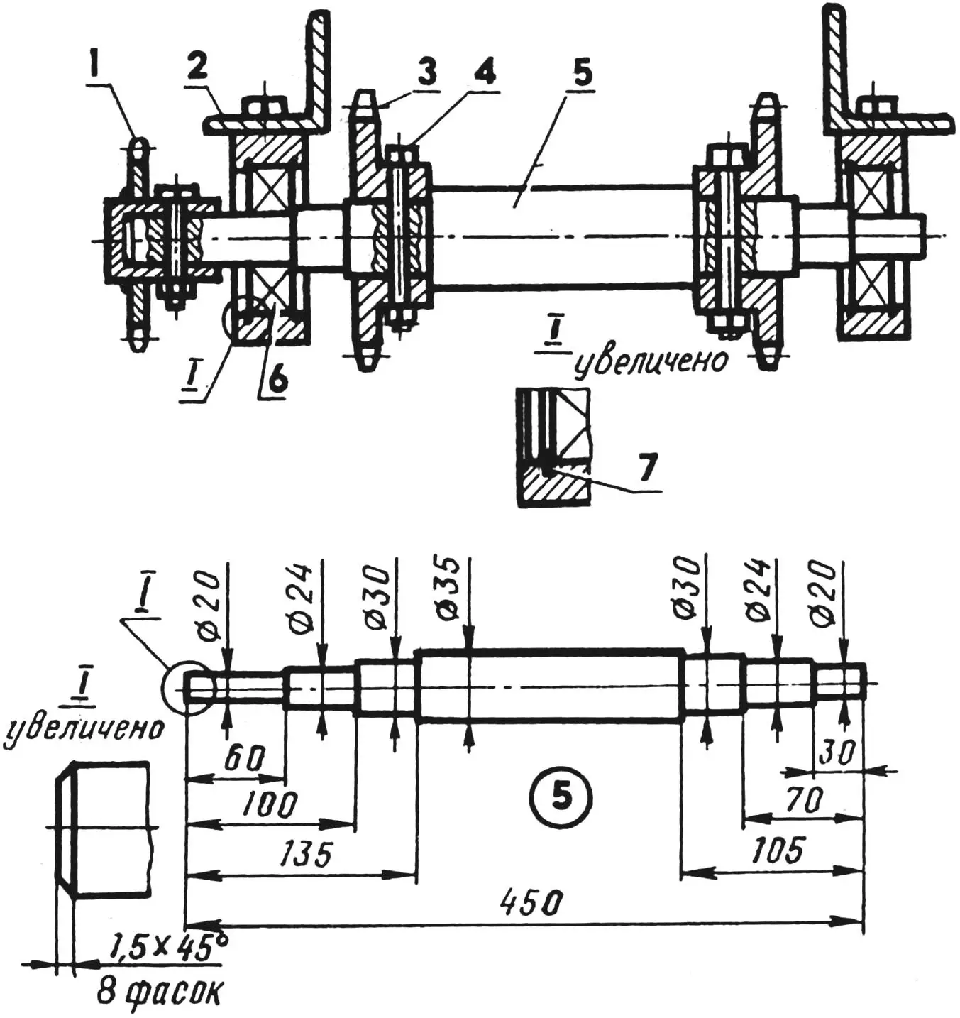
1 — ведущая звездочка (z=19), 2 — лонжерон рамы, 3 — тяговая звездочка, 4 — болт М8 (3 шт.), 5 — ведущий вал, 6 — подшипник 204 в корпусе (2 шт.), 7 — стопорная шайба (4 шт.).
К уголкам рамы приварены борта из листовой стали толщиной 1 мм, к бортам — скаты, прикрывающие цепи, чтобы туда не попадали картофелины, а кроме того — четыре кронштейна: два для планок, которыми регулируется угол наклона относительно колесного лафета, и два — для крепления элеватора к лафету.
Как уже сказано выше, к элеватору крепится моторно-редукторный блок со своей рамой. Двигатель — мопедный, Д-6, без каких-либо доработок (хотя было бы полезно установить вентилятор принудительного охлаждения). Мощности его с лихвой хватает для привода транспортера. Заводится он самым простым способом — пусковым рычагом. Усилия руки для этого вполне достаточно.

1 — рама блока, 2,9 — большие звездочки (z=48) со втулками, 3, 7 — малые звездочки (z=16) со втулками, 4 — двигатель, 5,6 — корпуса верхнего и нижнего валов с подшипниками (от сельхозтехники), 8 — рама двигателя, 10 — цепи мопедные, 11 — рычаг ручного запуска двигателя.
Редуктор представляет собой комбинацию из трех цепных передач (все цепи мопедные, а звездочки — велосипедные, доработанные) и двух промежуточных валов — верхнего и нижнего. Назначение редуктора — передать крутящий момент от Д-6 к ведущему валу элеватора.

1 — левая стойка, 2 — задний кронштейн, 3 — передний кронштейн, 4 — нижняя поперечина (2 шт.), 5 — верхняя поперечина (2 шт.), 6 — правая стойка, 7 — верхние ложементы (2 шт.), 8 — платформа для рамы двигателя (сталь, лист, s3), 9 — нижние ложементы (стальной уголок 50x50x3, 2 шт.). Детали 1 — 7 из стального уголка 40x40x3. Все пазы крепления выполняются по месту.
Топливо поступает самотеком из бензобака, установленного чуть выше двигателя.
Грузовой блок тоже конструктивно прост. Он состоит из колесного лафета и бункера-накопителя. Рама лафета сварена из уголков 40×40 мм, а стенки бункера вырезаны из кровельного железа и прикручены к передним и задним стойкам толстой проволокой через специальные отверстия (такого крепления вполне достаточно, использовать здесь болты или заклепки мне показалось нерациональным). Для разгрузки бункера решетчатое днище опускается, а клубни собираются в заранее приготовленные мешки.

1 — кронштейн крепления элеватора (уголок 45x45x5, 2 шт.), 2 — продольная балка (уголок 40x40x4, 4 шт.), 3 — кронштейн регулировочной планки (уголок 45x45x5, 2 шт.), 4 — передняя стойка бункера (уголок 20x20x3, 2 шт.), 5 — кронштейн колесного вала (уголок 63x40x8, 2 шт.), 6,11 — боковой (2 шт.) и задний борта бункера (стальной лист, s0,8), 7 — задняя стойка бункера (уголок 20x20x3, 2 шт.), 8 — крепление бортов (стальная проволока Ø 3), 9 — откидывающееся днище (стальной пруток Ø 10), 10,13 — короткая и длинная дистанционные втулки (стальная труба 37×3), 12 — колесный вал, 14 — поперечная балка (уголок 40x40x4), 15 — колесо (от сельхозтехники, 2 шт.), 16 — шайба (2 шт.), 17 — шплинт (2 шт.).
Лемех изготовлен из четырех деталей: обрезанного диска культиватора, стальной пластины толщиной 4 мм, передняя кромка которой отбита молотком по форме диска, и двух кронштейнов из уголков 45×45 мм. Сталь диска — каленая, ей не страшны ни камни, ни ссохшиеся земляные комья. Полукруглая же форма режущей кромки при копке картофеля наиболее эффективна. К раме элеватора лемех крепится четырьмя болтами.

1 — диск культиватора обрезанный, 2 — основание (стальной лист, s4), 3 — кронштейн (уголок 45x45x5, 2 шт.).
Сцепное устройство специально описывать не буду. У всех техника разная, и навесные орудия, как правило, крепятся по-разному. Скажу только, что ведущий элемент узла — это шарнир от рулевой тяги грузовика, удобная и надежная деталь.
Картофелеуборочный комбайн эксплуатируется уже два сезона и значительно снизил тяжесть сельского труда нашей семьи.
С. ГОРЯЧЕВ, г. Рыбинск, Ярославская обл.


