Подрезать-подровнять один-два кустика в своем палисаднике, укоротить стремительно вытянувшийся за лето перед самым окном невесть откуда взявшийся хлыст можно и обычными садовыми ножницами. Как говорится, чик — и нету. Ну а если объем «парикмахерских» работ неизмеримо больший? Если, скажем, решили отформовать свой кустарник так, чтобы получить из зеленых насаждений своего рода скульптурные композиции: яркие, придающие неповторимый облик всей вашей усадьбе? Тут уж взамен ножниц-секаторов потребуется иной, механизированный инструмент.
Достать таковой в период всеобщего дефицита — проблема. Да и накладно: сам инструмент влетит, что называется, в копеечку, а работа — сезонная.
По-своему решил проблемы, связанные с формовкой кустарника, давний подписчик нашего журнала А. Хикматов, аспирант Ташкентского государственного технического университета, смастерив оригинальную приставку-кусторез к широко распространенному ручному инструменту — электродрели.

Ручного инструмента для механизированной стрижки кустов и прочих зеленых насаждений разработано немало. В том числе и любителями-самодельщиками (см., например, публикацию «М-К» № 6 за 1985 год об универсальной электрокосилке ЭКУ-1). Но во всех конструкциях, которые мне встречались, двигатели свои, встроенные, что, конечно же, не может не сказываться на стоимости самого ручного инструмента.
В предлагаемой мною разработке встроенного двигателя нет. По сути, это лишь высокоэффективная насадка к имеющейся практически у любого хозяина в каждом доме электродрели.

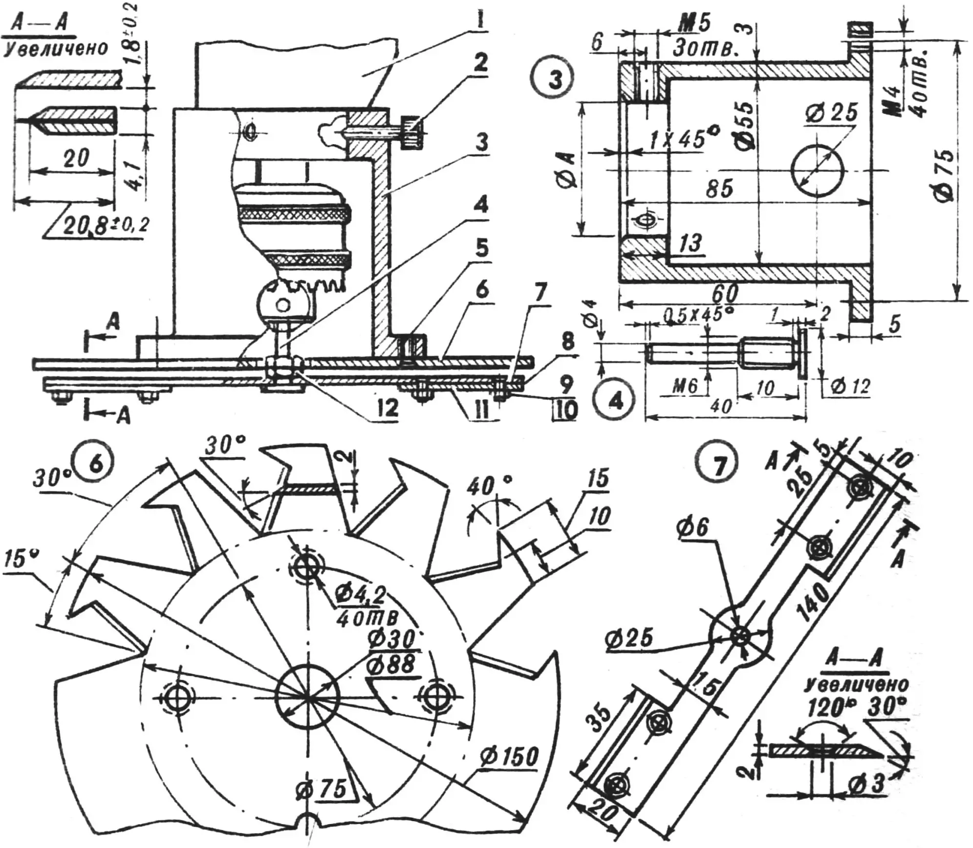
1 — корпус дрели, 2 — винт М5 с рифленой головкой установочный (3 шт.), 3 — стакан (Ст3), 4 — ось-хвостовик (Ст5), 5 — винт М4 потайной с конической головкой (4 шт.), 6 — кожух (Ст3), 7 — лопасть (Ст5), 8 — бритвенное лезвие «Нева» (2 шт.), 9 — болт М3 потайной с конической головкой (4 шт.), 10 — гайка М3 (4 шт.), 11 — планка прижимная (Ст3, 2 шт.), 12 — гайка М6 (2 шт.).
Нет в конструкции моего кустореза и остродефицитных сальников, «плавающих» ножей, самоустанавливающихся подшипников. Материалы — самые что ни на есть ходовые, кинематика — наипростейшая (см. иллюстрации). И вес минимальный. А для ручного инструмента — это далеко не маловажный фактор. Конструкцию моего кустореза можно даже еще немного облегчить (есть резерв прочности и надежности!), заменив стальные стакан, корпус, лопасть и прижимные планки на дюралюминиевые.
Режущим элементом служат концы лопасти, на которых крепятся зажатые прижимными планками лезвия безопасной бритвы. Причем последние вставляются так, что выступают на 0,6—1 мм (по ходу вращения патрона дрели). Это исключает поломку режущей кромки. К тому же использование бритвенных лезвий освобождает от постоянной необходимости заботиться об остроте режущего элемента.

При работе центробежная сила стабилизирует закрепленную в патроне дрели лопасть с «ножами» в радиальном направлении. Зажатые в гнездах бритвенные лезвия легко рубят кусты, подстригают зеленые насаждения, превращая монотонную утомительную прежде работу в творчество, а самого «садового парикмахера» — в скульптора, в художника по ландшафту.
Сверху лопасть с «ножами» закрыта защитным кожухом. У него — две резко отличающиеся по форме половины. Сплошная выполняет чисто защитные функции. Лучевидная же, предохраняя лезвия от поломки, одновременно служит для захвата обрезаемых ветвей и направления их прямо под «ножи».
Крепится защитный корпус к стакану, соединяющемуся с корпусом дрели, на четырех винтах М4 (потайных, с конической головкой). Конструкция и крепление остальных деталей ясны из иллюстраций. Особых трудностей изготовление разработанной мною приставки-кустореза ни у кого (уверен!) не вызовет. Не окажется их и во время эксплуатации: инструмент удобен, прост в обращении, надежен в работе. Смастерите себе такой — не пожалеете!
«Моделист-конструктор» № 5’93, А. ХИКМАТОВ, г. Ташкент


