Электрофреза предназначена для обработки земли садовых и огородных участков, окучивания картофеля. Учитывая особенно тяжелые эксплуатационные условия — длительная непрерывная работа (до 4 часов), постоянная перегрузка, грязь, предпочтение отдано было более тяжелому и негабаритному трехфазному двигателю промышленного, закрытого исполнения, перед коллекторным, постоянного тока.
Трехфазный асинхронный двигатель работает в схеме однофазного включения с конденсатором (соединение «звезда»). Необходимая емкость конденсаторной батареи
Ср = 2800 Iном/Uном,
где Uном — напряжение (паспортное) электродвигателя, Іном — ток (паспортное значение).

1 — мотор-редуктор, 2 — рама, 3 — ручки управления, 4 — пластины крепления мотор-редуктора, 5 — тормоз, 6 — основная батарея конденсаторов, 7 — цепь, 8 — пусковые конденсаторы, 9 — вал фрезы, 10 — нож фрезы.
Основу конструкции составляет мотор-редуктор от рельсорезного станка РМ, имеющего характеристику:
Двигатель — асинхронный, короткозамкнутый;
Мощность — 1 кВт;
Напряжение — 220 В;
Ток — 4,2 А (трехфазный);
Обороты двигателя — 1410 об/мин;
КПД — 0,79;
Число оборотов выходного вала — 44 об/мин;
Передаточное число — 32;
Вес мотора-редуктора — 24,5 кг.
В основу компоновки фрезы заложено условие равновесия в рабочем положении с целью уменьшения усилий на ручках управления. Мотор-редуктор приводит во вращение вал фрезы посредством цепной передачи (шаг — 18,25 мм, количество звеньев 52). Передача может использоваться с i = 1 или i = 1,17, z1 = 13(15); z2 = 15. При этом обороты вала фрезы составляют 44 или 38 об/мин.

1 — ведущая звездочка Z1 = 15 или Z1 = 13, 2 — ведомая звездочка Z2 = 15, 3 — нож.
Мотор-редуктор устанавливается на раме с помощью двух поперечных дюралюминиевых пластин толщиной 10 мм, которые смещают вместе с закрепленным на них мотором-редуктором, регулируя натяжение цепи.
К раме, изготовленной из труб диаметром три четверти дюйма, приварены две боковые пластины из стального листа толщиной 4—5 мм, к которым крепятся подшипники вала фрезы. Подшипниковые узлы специальные, использованы от списанной сельхозмашины, имеют корпус и цанговую фиксацию вала. В передней части рамы с помощью регулируемых кронштейнов устанавливаются два колеса (размером 56X205, модель Л-155), используемые для транспортировки электрофрезы. При обработке почвы колеса снимаются. Две задние поперечины рамы имеют кронштейны для установки регулируемого по высоте и наклону тормоза. Ручки управления регулируются как по высоте, так и по углу.

Питание электрофрезы осуществляется однофазным переменным током, с напряжением 220В (при этом трехфазный асинхронный двигатель включен в однофазную сеть с конденсаторными емкостями) либо трехфазным током напряжением 220 В. Подключение электрофрезы к однофазной сети осуществляется с помощью бытовых удлинителей. Следует также отметить, что падение напряжения приводит к падению крутящего момента двигателя. Поэтому применение провода с площадью поперечного сечения менее 0,8 мм2 недопустимо. При эксплуатации следует внимательно следить за состоянием контактов и разъемов, проверяя, не греются ли.

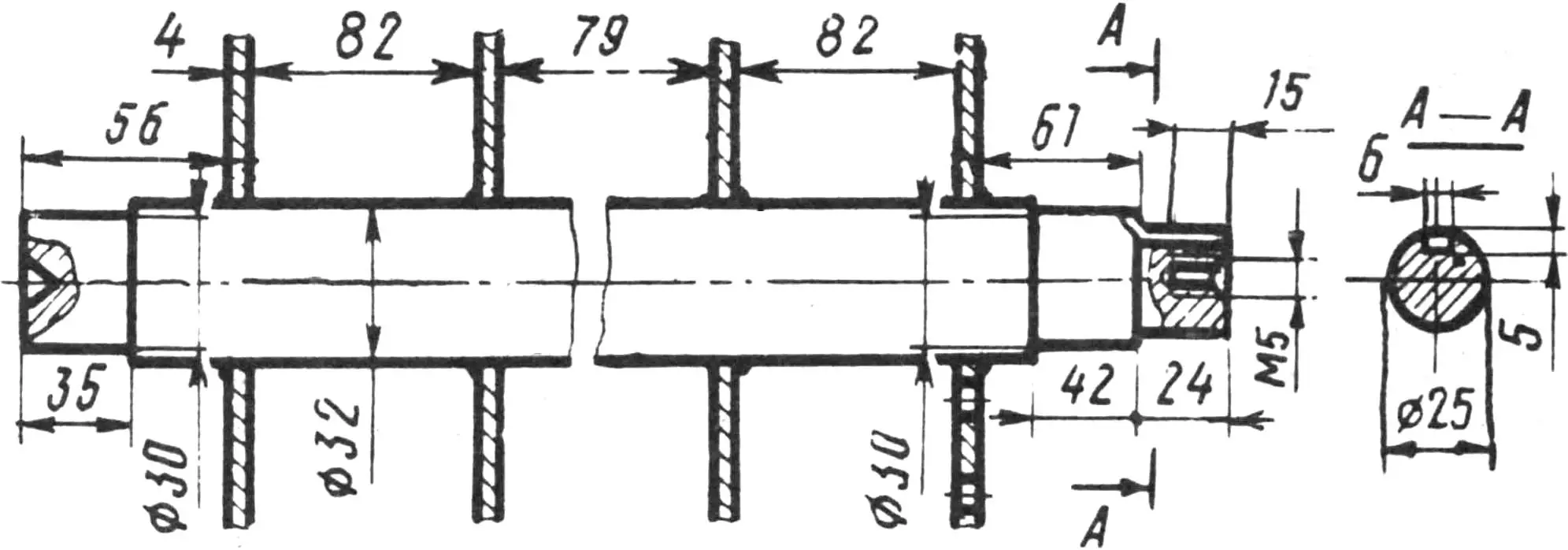
Включение и выключение двигателя осуществляется кнопкой КУ-2 или 011 УЗ с помощью рычага, установленного на правой ручке управления. На левой ручке — аналогичная кнопка для подключения пусковой емкости. Безопасность работы обеспечивается отключением двигателя при отпускании рычага правой ручки, а также использованием прорезиненного кабеля, как при подводе тока, так и при всех промежуточных подключениях. Фреза представляет собой вал Ø 32 мм с установленными на нем четырьмя шестиугольными пластинами из 5 мм стального листа. К каждой пластине с помощью болтов крепятся по три ножа (см. рис.). Они имеют значительную «опорную» поверхность, причем установочный угол определяет величину обрабатываемого слоя земли следующим ножом (при недостаточной «опорной» поверхности захват слоя земли каждым ножом значительно возрастает, что приводит к остановке электродвигателя). Были опробованы ножи серпообразной формы с шириной «опорной» поверхности 25 мм (см. «Моделист-конструктор» № 7, № 10, 1987 г.). При таких ножах вес машины оказался чрезмерным, фреза резко погружалась в землю и останавливалась.

Существенным в работе фрезы является установка и регулировка тормоза. На электрофрезе он находится на расстоянии 380 мм от центра вала фрезы и на 160 мм ниже центра вала (при горизонтальном расположении машины). При эксплуатации фрезы часть веса почти постоянно приходится на тормоз. Крутящего момента двигателя не всегда хватает при полной загрузке фрезы, поэтому перемещение вперед осуществляется кратковременной разгрузкой тормоза путем легкого вертикального покачивания ручек. С левой стороны от мотора-редуктора располагается коробка с конденсаторами емкостью 65 мкФ. В качестве пусковых используются электролитические конденсаторы суммарной емкостью 60 мкФ. При этом наибольшее напряжение на конденсаторных батареях (в режиме холостого хода) составит Uxx = 1,15U; Uxx = 253 В.

1 — конденсатор, 2 — металлический соединительный хомут, 3 — изоляционное покрытие.
Возможной областью применения агрегата может быть и фрезерование плотного снега и льда с тротуаров. Послужит он и как агрегат для перекачки жидкости. При этом приводная цепь снимается, а с задней стороны двигателя устанавливается водяная помпа (например, от дизеля К-661М).
ТЕХНИЧЕСКАЯ ХАРАКТЕРИСТИКА ЭЛЕКТРОФРЕЗЫ
Длина — 1400 мм
Ширина — 450 мм
Высота — 1100 мм
Диаметр фрезы — 450 мм
Число оборотов фрезы — 44 или 38 об/мин
Ширина обрабатываемого слоя почвы — 350 мм
Глубина обрабатываемого слоя почвы — 150—250 мм
Вес — 46 кг
Мощность двигателя — 1 кВт (при использовании 3-фазного тока 220 В),
— 700—750 Вт (при использовании однофазного тока 220 В).
П. КОПЬЕВ


