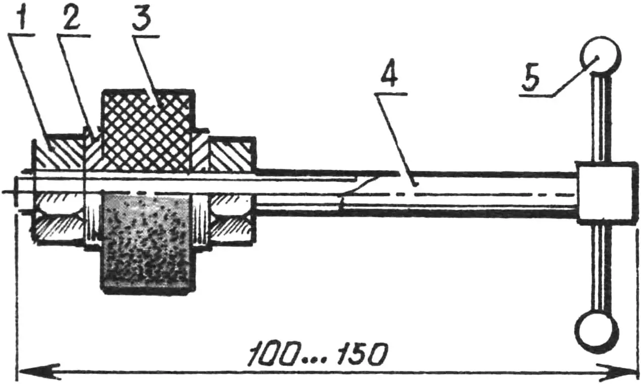
Быстро и надежно «заглушить» водопроводную трубу или патрубок радиатора при проверке его на герметичность можно с помощью несложного приспособления. При вращении ручки резиновая втулка, зажатая между двумя шайбами, «раздается» и плотно перекрывает отверстие.
Заглушка:
1 — гайка М12 (2 шт.), 2 — шайба (2 шт.), 3 — резиновая втулка, 4 — болт М12, 5 — ручка (маховичок).
С. НИКОЛЬСКИЙ, г. Туапсе, Краснодарский край


