Подана конструкція — мотоцикл на напівгусеничному ходу з кермовим переднім колесом на шині низького тиску та приводною гусеницею, призначена для пересування по бездоріжжю, переважно влітку та в міжсезоння, взимку по снігу (товщина покриву до 25 см), а також по льоду та насту. Прохідність мотоцикла, по суті, — «скрізь». Виняток становлять лише водні перешкоди глибиною понад 30 см (заливає систему запалювання) та болото, де людина загрузне по коліно. На мотоциклі можлива перевезення вантажу до 30 кг, а на причепі — до 80 кг: влітку — на колісному (з широкопрофільними шинами), взимку — на санях.
На сторінках «Моделіста-конструктора» зустрічалися описи подібних мотоциклів, але вони в основному розраховувалися на пересування по снігу, мали багато котків малого діаметра і, як наслідок, значні втрати потужності та забивання гусеничного рушія мохом і брудом при русі по болоту, а взимку «кашею» при русі по ожеледиці.
До цього у мене були різні саморобні мотоцикли на колісному ходу: з камерними колесами великого діаметра, з «уазівськими» полегшеними шинами, з додатковим приводом на бічний причіп, але досягти високої прохідності якось не вдавалося — то було велике питоме тиск, то габарити. З бічним же причепом втрачається можливість руху по будь-якій стежці чи напряму через ліс, та й маса його перевищує 140–150 кг, що для мотоцикла неприйнятно (до відома — представлений варіант має масу 110 кг).

1 — двигун (від вантажного моторолера «Мураха»); 2 — примусове повітряне охолодження двигуна (від вантажного моторолера «Мураха»); 3 — проміжний ланцюговий редуктор; 4 — друга ступінь ланцюгової передачі (t=15,785); 5 — ведуче колесо гусеничного рушія; 6 — приводна зірочка ведучого колеса; 7 — механізм натягу ланцюга ведучого колеса гусениці (4 шт.); 8 — гусениця; 9 — рама; 10 — натяжне колесо гусеничного рушія; 11 — кожух (АМГ-2, лист s1,5); 12 — сидіння; 13 — перша ступінь ланцюгової передачі (ланцюг t=12,7); 14 — карбюратор; 15 — паливний бак V=12 л (АМГ-2, лист s1); 16 — глушник вихлопу двигуна (нержавіюча сталь, лист s1); 17 — котушка запалювання (від моторолера «Мураха»); 18 — кермо (від мотоцикла «Восход», розширене); 19 — вітрове скло (плексиглас); 20 — вітровий щиток (АМГ-2, лист s1,5); 21 — фара (покупне виріб); 22 — крило (АМГ-2, лист s1,5); 23 — передня вилка; 24 — переднє колесо
На жаль, відсутність легкого двигуна змусила застосувати відносно важкий — від вантажного моторолера «Мураха», з повітряним охолодженням. Двигуни від «Мінська» чи «Восхода» мають малий крутний момент, високооборотні, не мають примусового охолодження, а тому малопридатні для роботи з гусеничним рушієм. Силовий агрегат використано без змін, лише повітрозабірник вентилятора додатково закрито перфорованою кришкою (від потрапляння листя та трави) та встановлено магнето, хоча надалі передбачена його заміна безконтактною системою від моторолера «Вятка». Така схема випробувана на снігоході і добре себе зарекомендувала. Крім безвідмовного пуску вона значно легша, не потребує реле-регулятора і не виступає збоку, а отже й не заважає при русі по бездоріжжю.
Мотоцикл з гусеничним рушієм у керуванні мало відрізняється від звичайного дорожнього, його максимальна швидкість сягає 60 км/год, хоча цей показник при їзді по просілках чи лісових стежках не дуже й важливий.

1 — дуга передньої вилки; 2 — передня вилка; 3 — амортизатор передньої підвіски (від мотоцикла «Восход», 2 шт.); 4 — підсилювач (підкіс, стійка та поперечина) передньої вилки; 5 — міжмостиковий зв’язок (2 шт.); 6 — верхня та нижня кермові траверси; 7 — кермова колонка (2 шт.); 8 — кермо; 9 — трапеція рами (від мотоцикла «Восход»); 10 — кронштейн кріплення бензобака (2 шт.); 11 — передній кронштейн кріплення силового агрегата; 12 — нижній кронштейн кріплення силового агрегата; 13 — задній кронштейн кріплення силового агрегата; 14 — кронштейн кріплення вала проміжної ланцюгової передачі (2 шт.); 15 — лонжерон; 16 — бічна скоба (2 шт.); 17 — задня скоба; 18 — решітка для підвіски гусеничного рушія (2 компл.); 19 — маятникова вилка приводного (ведучого) колеса гусеничного рушія; 20 — амортизатор підвіски приводного колеса; 21 — маятникова вилка натяжного колеса гусеничного рушія; 22 — амортизатор підвіски натяжного колеса; 23 — натяжний пристрій (4 шт.); 24 — лонжеронні поперечини (2 шт.); 25 — поперечина решіток підвіски гусеничного рушія (3 шт.); 26 — вушко кріплення вилки; 27 — сайленблок підвіски вилки; 28 — заглушка
Тепер про конструкцію мотоцикла-вездехода. Рама запозичена від мотоцикла «Восход» з адаптованими під «мурашиний» мотор кронштейнами та подовженою задньою частиною. Для полегшення монтажу двигуна передній кронштейн кріпиться до рами двома болтами, а не приварений, як два інші.
Вилки виготовлені нові, від передньої вилки «Восхода» використовуються лише верхній та нижній мостики та кермовий вал з підшипниками. До мостиків приварено відрізки прямокутної тонкостінної труби, які утворюють верхню та нижню траверси, а до них уже приварено пера передньої вилки з відповідними підсилювачами-підкосами та перемичками. На передніх (нижніх) кінцях перів є вушка для сайленблоків, через які підвішена качальна дуга переднього колеса, виготовлена з тонкостінної хромансилевої (сталь 30ХГСА) труби. Напрямок роботи дуги вилки обрано «під себе» (як це прийнято, наприклад, в авіації). Така схема в поєднанні з досить м’яким широкопрофільним полегшеним колесом — пневматиком (тиск 0,2–0,3 атм) дозволяє добре гасити удари та легко подолати навіть повалені дерева на шляху.

1 — втулка-ступиця (корпус автомобільного ручного насоса для накачування шин); 2 — фланець ступиці (сталевий лист s3, 2 шт.); 3 — спиці-підкоси (дріт Ф5, 4 пари); 4 — диск (АМГ-2, лист s3, 2 шт.); 5 — стяжка (шпилька М6, 8 шт.); 6 — заповнювач (пінопласт); 7 — камера; 8 — шина; 9 — кріплення шини до диска (болт М6 з «вусатою» шайбою, 16 шт.); 10 — кріплення диска до фланця (болт М6, 4 шт.); 11 — штуцер камери (подовжений)
Колесо — саморобне. Обід виконано з 6-мм дроту, диски — з АМГ-5 товщиною 3 мм, розкоси — з 5-мм дроту, ступиця — з трубчастого корпусу автомобільного ручного насоса, вісь — теж трубчаста, полегшена. В одному диску вирізано лючок, в який виведено через подовжувач штуцер камери. Сама покришка бортами кріпиться до країв бічнин диска болтами.

Застосовані передні (як, втім, і задні) амортизатори від мопеда — звичайно, «минуле століття», але на сучасні (від скутерів чи снігоходів) не вистачає коштів. Разом з амортизаторами та віссю колеса вилка утворює замкнений каркас, що добре працює на злам і кручення. Загалом треба відзначити, що оптимальному поєднанню міцності та одночасно достатньої легкості приділялася велика увага: адже в умовах бездоріжжя навантаження значно більше, ніж у дорожнього мотоцикла, а при поломці з глушини його доставити додому важко!
Про задню вилку розповім пізніше, коли мова піде про гусеничний рушій.

1 — силовий агрегат; 2 — вихідний вал силового агрегата; 3 — зірочка вихідного вала двигуна (z=13); 4 — ланцюг ПР-12,7 першої ступені; 5 — опора проміжного вала (підшипник кочення 80204, 2 шт.); 6 — ведуча зірочка проміжного редуктора (z=21); 7 — проміжний вал; 8 — ведома зірочка проміжного редуктора (z=18); 9 — ланцюг ПР-15,875 другої ступені; 10 — приводна зірочка ведучого колеса гусениці (z=27, t=15,875); 11 — ступиця ведучого колеса; 12 — ведуче колесо гусениці; 13 — підшипник ступиці (2 шт.); 14 — вісь ведучого колеса
Необхідність забезпечення потрібного кліренсу, а також отримання оптимальних (досить низьких) оборотів ведучого колеса-катка гусениці змусила застосувати в трансмісії проміжну ланцюгову передачу-редуктор, для якої на рамі є відповідні кронштейни з пазами, що дозволяють натягувати ланцюг першої ступені (крок ланцюга — 12,7 мм). Передача обертання від редуктора на ведуче колесо-каток гусеничного рушія виконується теж ланцюгом від сільгоспмашин (крок — 15,785 мм). Цей ланцюг має більш значний ресурс в умовах забруднення порівняно з мотоциклетним.

1 — стрічка (гумокордова полоса s4, 2 шт.); 2 — скоба (сталевий дріт Ø8, за потреби); 3 — підсилювач скоби (сталевий дріт Ø8, за потреби); 4 — ґрунтозацеп (сталевий лист s4 — П-подібний профіль 10x20x10, за потреби); 5 — кріплення (сталева заклепка Ø5 з розширеною головкою, за потреби)
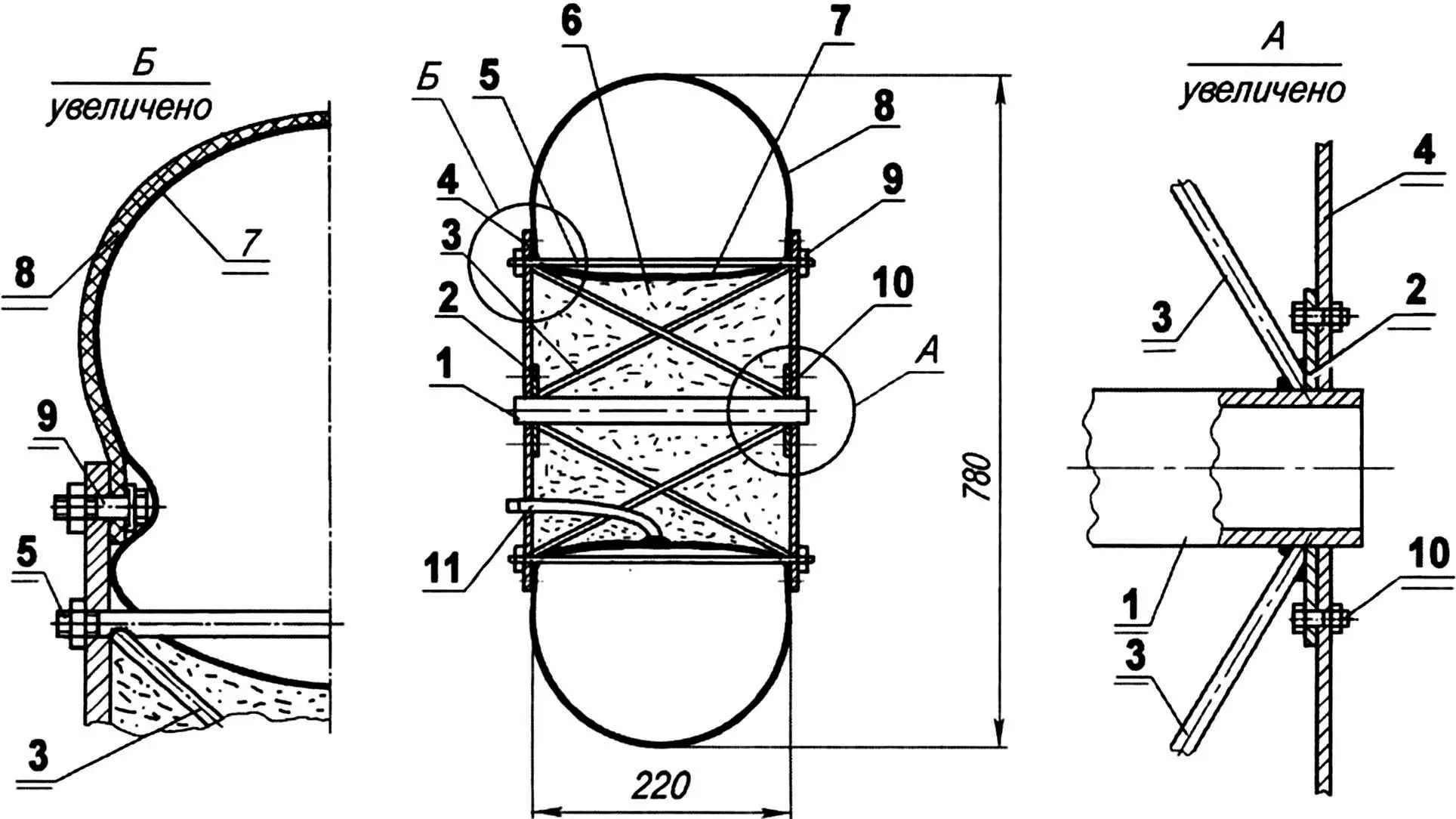
Як уже зрозуміло, гусеничний рушій складається з гусениці та двох катків-коліс: ведучого та натяжного. Раніше між колесами на обох гусеничних стрічках стояли ще по два підтримуючих невеликих катка-лінивці (див. фото заставки). Але експлуатація показала, що добре натягнута гусениця при такій невеликій відстані між колесами і без лінивців непогано тримає навантаження.

Ведуче та натяжне колеса гусеничного рушія — однакові, від моторолера «Тулиця» (або подібні), причому на покришці ведучого нарізані поперечні канавки (не зачіпаючи корда) для зачеплення з ґрунтозацепами гусениці. Обидва колеса мають незалежні підвіски. Кожне з них встановлено у своїй маятниковій вилці, з’єднаній з рамою через сайленблоки (від мотоцикла «Восход»).
На кінцях маятникових вилок передбачено пази для переміщення коліс з метою натягу гусениці, і спираються вони на раму через найпростіші амортизатори (труба в трубу, з пружинами від передньої вилки «Восхода»), що зумовлює мінімум маси. Розгойдування не відбувається через розподіл навантаження по колесах гусеничного рушія. Диски коліс — штатні, але полегшені висвердлюванням. Ступиці вставлені в центральні отвори дисків і закріплені привареними спицями-підкосами з 5-мм дроту.
Для ступиць використано циліндричний корпус від автомобільного ручного насоса, його внутрішній діаметр якраз підходить під 202-й підшипник, а щоб останні (їх у ступиці два) не провалювалися, всередину вставлено відрізки (кільця) відповідної труби меншого діаметра і через отвори в ступиці зафіксовано електрозаклепками. Оскільки фланець ступиці плоский і тонкостінний, то для жорсткості з обох боків він посилений підкосами з 5-мм дроту, які розподіляють навантаження на краї ступиці. Вал переднього (ведучого) колеса гусениці та вісь заднього (натяжного) виконані з труби діаметром 16×2,5 мм, середня частина полегшена (обточена). Між підкосами забиваються сніг і бруд, тому їх краще залити «Макрофлексом» і пофарбувати. До речі, усі ніші та порожнини, зокрема й внутрішня порожнина переднього колеса (керованого пневматика), також заповнені пінопластом.

Захист підшипників коліс потребує особливої уваги — вони працюють в умовах інтенсивного забруднення, тому їх необхідно добре захищати кришками або застосовувати підшипники з захисними шайбами. Ведуче колесо гусениці має два підшипники з боку зірочки для надійності, а у труби ступиці зверху є додаткові накладки для розподілу навантаження.
Гусениця зібрана з двох полос капронової корд-стрічки та ґрунтозацепів, виготовлених з 8-мм катанки та посилених у середній частині ще одним шматком такої ж дроту. Для з’єднання з полосами стрічки ґрунтозацепи до останніх приварено відрізки зігнутих з 4-мм листа швелерів, до яких болтами і кріпляться стрічки гусениці.
Звертаю увагу на форму ґрунтозацепа — він повторює профіль покришки. Кінці катанки повинні мати скіс для безперешкодного заходу ведучого колеса, а зварні шви — ретельно зачищені. Звичайно, овальна форма ґрунтозацепів має й «мінуси» — буксування гусениці на ущільненому снігу, а також бічне ковзання на льоду через овальну форму ґрунтозацепів, але цей недолік малозначний, важливіша легкість керування мотоциклом на поворотах, для чого й зроблена така форма ґрунтозацепа. При прямому (плоскому) ґрунтозацепі буде утруднено утримання рівноваги, особливо на поворотах (перевірено!). Ведуче та натяжне колеса гусеничного блоку мають заново виготовлені ступиці — через значну масу штатних.

Тепер про «другорядні» вузли. Паливний бак на 12 літрів зварений аргоновим зварюванням з 1-мм алюмінієвого листа (АМГ-2), всередині має перегородки (інакше при великій довжині та малій висоті бака відбувається викид палива в дренаж).
Вся «облицювання» (бічнини) та переднє крило також виконані з АМГ-2. Фара пластмасова, встановлена для захисту між укосинами передньої вилки. Вітровий щиток — також з АМГ-2, знімний, кріпиться на чотирьох барашках.
Сидіння водія знімне (його основа — з АМГ-5 товщиною 2,5 мм), під ним знаходяться два відсіки, стінки яких також виконані з листа легкого сплаву. В першому розташовано реле-регулятор, а в другому — інструмент.
Надалі при переході на тиристорну систему запалювання відсік реле-регулятора передбачається використовувати як повітроочищувач.

1 — первинна камера (труба Ø60×1); 2 — штуцер вхідного патрубка; 3 — проміжна камера; 4 — з’єднувальний патрубок первинної та вторинної камер (труба Ø32×1) з отворами Ø5; 5 — вторинна камера (труба Ø60×1); 6 — випускний патрубок (труба Ø25×1); 7 — кріпильна вушка з перемичкою (сталевий лист s3)
Глушник на випуску виготовлений гранично компактним з 1-мм сталі, нерозбірний, рівень шуму при роботі двигуна порівнянний з вихлопом дорожніх мотоциклів. Приблизно двічі на рік його доводиться прожигати від коксуючогося в ньому моторного масла.
Усе електрообладнання (генератор, реле-регулятор) штатне, як і карбюратор К-36Г. Надалі планується встановити блок клапанів (за матеріалами «Моделіста-конструктора»). Підніжки — трубчасті, прибираються назад і вгору. Кермо — від «Восхода», але розширене за рахунок вставки на 150 мм, органи керування на ньому такі ж, як і на дорожніх мотоциклах. Позаду сидіння водія є вантажна майданчик, з трьох боків до неї приварено ручки для витягування мотоцикла з трясовини (а таке іноді буває!), вони ж слугують зацепами для стропування вантажу.
Під багажником знаходиться зчіпний пристрій. Воно було встановлено пізніше, і треба визнати, не зовсім вдало (тому й не показав цей пристрій на кресленні). Його треба закривати бризговиком, щоб не заліплювався брудом. Однак піднімати високо зчіпний пристрій не варто (доведеться робити довге дышло причепа).
Як уже згадувалося, порожнини під сидінням (за інструментальним відсіком) та багажником заповнені пінопластом, разом з переднім колесом вони забезпечують непотоплюваність мотоцикла, що досить актуально в останні теплі зими. Погодьтеся, що це все ж краще, ніж діставати мотоцикл з дна водойми. Переднє колесо — з шиною низького тиску, виготовленою з полегшеної покришки УАЗа. Спосіб виготовлення описано в «Моделісті-конструкторі», але відзначу, що робити «шашку» не обов’язково — зчеплення цілком вистачає, якщо нарізати «болгаркою» неглибоку «ялинку».
Усі ланцюги трансмісії закриті кожухами з АМЦ-2, це зменшує їхнє забруднення та забезпечує безпеку водія. Кожух ланцюга ведучого колеса розбірний, для полегшення зняття колеса та ремонту кожуха при поломці (буває при русі по бурелому). Знизу кожух залишено відкритим (щоб у ньому не затримувалися сніг чи бруд), а провисаюча на великих швидкостях ланцюг не чіпала за дно.

Оскільки гусеничний мотоцикл — транспортний засіб позашляховий, через ускладнення конструкції обладнати його гальмами не став, та й особливої потреби в них немає. Планові зупинки виконую поступовим зниженням швидкості за рахунок тертя в трансмісії (можна пригальмувати й ногою — швидкість-то невелика). Екстрені ж гальмування здійснюю двигуном — різко скидаю газ або вимикаю запалювання (останній спосіб застосовував лише як тренування).
«Моделіст-конструктор» № 10’2008, О. КОКШАРОВ
