Малогабаритний інкубатор, в якому можна виводити індичок і курей, качок і гусей, працює від мережі змінного струму.
Конструкція автоматично забезпечує потрібну температуру: яйця курей і індичок охолоджуються двічі на день, а водоплавної птиці — чотири рази. Крім того, кожну годину автомат перевертає яйця на 180°.
Якщо в пристрої щось відмовило — відключилося живлення або зламався перемикач, знизився рівень води або зупинилися годинник, — вмикається сигнал тривоги.
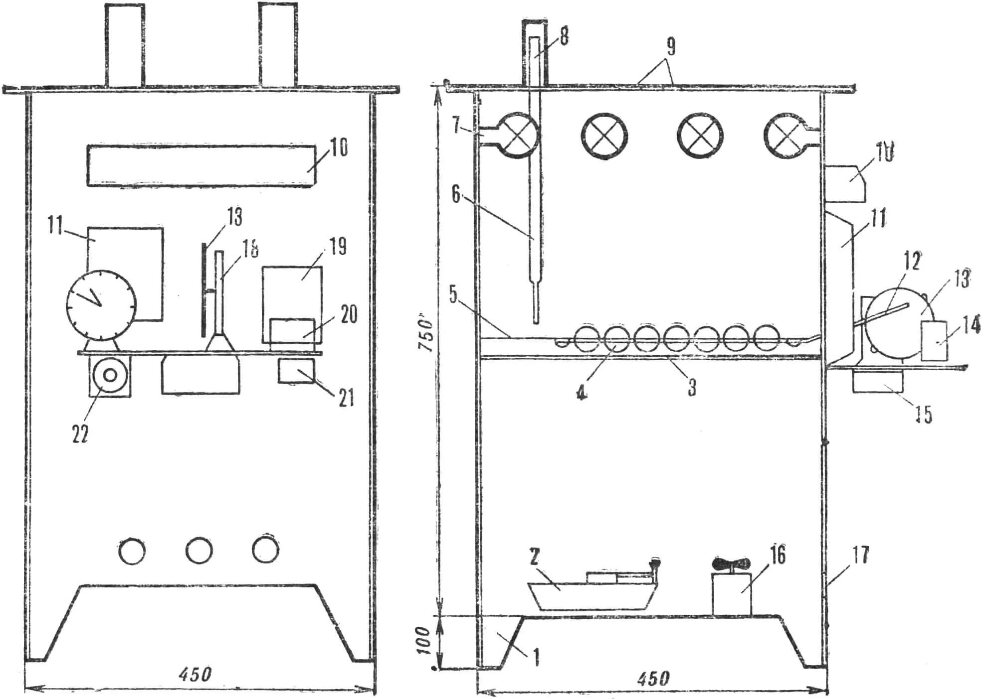
Рис. 1. Загальний вигляд інкубатора:
1 — корпус; 2 — дежа з водою; 3 — сітка; 4 — каретка; 5 — напрямні стержні; 6 — датчик-градусник; 7 — лампи-підігрівачі; 8 — захисний кожух градусника; 9 — вентиляційні отвори; 10 — панель з тумблером і сигнальними лампами; 11 — вузол реле; 12 — шатун; 13 — диск; 14 — годинник; 15 — електродвигун; 16 — вентилятор; 17 — вентиляційні отвори; 18 — редуктор; 19 — трансформатор; 20 — випрямляч; 21 — фільтр змінного струму; 22 — кнопка вмикання автоматики.
Змонтований інкубатор-автомат (рис. 1) в тумбочці висотою 750 мм, глибиною 450 мм і шириною 450 мм. Вона стоїть на ніжках висотою 100 мм. У дверцях зроблено вікно для спостереження з подвійним склом розміром 200Х200 мм.
У верхній кришці посередині знаходяться три отвори Ø 25 мм для градусників-датчиків, а на правій стінці — три такі ж для вентиляції.
На зовнішній стороні правої стінки тумбочки кріпиться горизонтально поличка розміром 150X300 мм з текстоліту товщиною 4 мм (його можна замінити металевою пластинкою). На полицю ставлять годинник-будильник, трансформатор, випрямляч, редуктор, всі реле, укладені в корпус від телефонного блокувальника, всі тумблери і сигнальну панель з лампочками. Розташування всіх деталей на панелі довільне. Важливо тільки, щоб диск на осі редуктора припадав на середину камери інкубатора.
Внизу панелі ставлять двигун і фільтр змінного струму. Вісь двигуна через отвір у полиці повинна точно виходити проти осі черв’яка редуктора.
Всередині камери на задній стінці кріпляться два патрони і на бічних по одному з таким розрахунком, щоб центр лампочки знаходився на 62—65 мм від верху камери. На відстані 330 мм від верху камери кілька тонких дротів Ø 0,6—1 мм утворюють опору для металевої сітки з осередками Ø 1,5— 3 мм. Над сіткою розташована каретка, в осередки якої будуть укладені яйця. Вздовж по її руху від стінки до стінки простягнуті дві напрямні дроти Ø 0,6—0,8 мм з нержавіючого матеріалу.
На підлозі камери стоїть дежа з укріпленим на ній контактом сигналізації зниження рівня води. Поруч — горизонтально — вентилятор. Годинник можна встановити безпосередньо на панелі інкубатора, але можна їх поставити на столі і в будь-якому іншому місці, провівши до них чотири тонкі провідники.

А — терморегулятор і випрямляч; Б — фільтр-іскрогаситель змінного струму; В — терморегулятор.
Для живлення реле і інших приладів виготовляється випрямляч на 24 в. Його трансформатор — від будь-якого малопотужного радіоприймача (рис. 2). Залізо обережно розбирається, котушка перемотується. Знаходячі на котушці верхні накальні і підвищуюча обмотки прибираються. Мережева, нижня обмотка залишається на котушці. Нова обмотка підключається на випрямний місток, що складається з чотирьох напівпровідникових діодів типу Д7А. На виході підключається електролітичний конденсатор (100 — 200 мф, 50 в) «плюсом» на «плюс» і «мінусом» на «мінус» випрямленої напруги.
Фільтр-іскрогаситель змінного струму був включений в схему, щоб ліквідувати іскріння на контактах. Дроселі фільтра намотуються на ферітові стержні Ø 8 мм і довжиною 100—150 мм і складаються з 100 витків дроту ПЕ, величиною 0,6—0,8 мм кожен. Конденсатори C1—С4 від 0,01 до 0,25 мф повинні бути розраховані на роботу під напругою не менше 300 в.
Іскрогасителі постійного струму складаються з послідовно з’єднаних опору 1—2 тис. ом і конденсатора 0,01—0,1 мф. Вмикається іскрогаситель паралельно контакту, на якому можливе іскріння. Для захисту від іскріння змінного струму виготовляється один загальний фільтр, а для захисту від іскріння постійного струму — окремий іскрогаситель на кожен контакт.
Терморегулятор (див. рис. 2) складається з датчика-термометра з пересувним контактом ламп-підігрівачів і реле РТ.
Потужність і число ламп залежать від величини камери, теплопровідності стінок камери, температури приміщення, в якому встановлений інкубатор. Робота їх регулюється автоматично.
На один кінець обмотки реле подається мінус 24 в. Коли ртуть термометра-датчика підніметься до встановленого контакту, другий кінець обмотки реле отримає «плюс», воно спрацює і відключить підігрів. Коли камера почне охолоджуватися, ртуть опуститься, розірве контакт і знеструмить реле — лампи-підігрівачі вмикнуться знову.

А — принципова схема регулятора охолодження; Б —- пристрій сигналізації зниження температури до небезпечних меж; В — сигналізація зниження рівня води.
Живлення частини ламп-підігрівачів після фільтра іскрогасителя йде через контакт реле охолодження РОХ (рис. 3). Інша частина ламп живиться через контакт реле терморегулятора. На один кінець обмотки реле охолодження подається 24 в. В камері інкубатора знаходиться другий датчик-термометр з контактом, встановленим на поділці +30—32°. На ртутний стовпчик градусника подається +24 в.
Періодичність охолодження і перевертання яєць регулюють звичайні годинник, на корпус яких подається +24 в. На їх циферблаті встановлюються контакти (рис. 4), ізольовані від корпусу годинник так, щоб годинна стрілка, підійшовши до поділок 12 і 6 або будь-яких протилежних, замикала контакт. Циферблат з’єднаний, в свою чергу, з обмоткою реле Р0 через контакт 12 реле, тому через перемикач П реле спрацює, розімкне контактом 16 електроламп-підігрівачів, а через контакт 13 подасть струм на реле РТ, яке також відключить лампи-підігрівачі, включені через РТ. Контакт 14 вмикне сигнальну лампочку Л4 «охолодження вмикнулося». Контакт 15 вмикає вентилятор, контакт 16 — електропідігрів.
Одночасно контакт 12 розмикає ланцюг від годинник і реле отримує струм від термометра через контакт 11. Як тільки температура впаде нижче 30°, контакт в термометрі розімкнеться, реле знеструмиться, підігрівачі вмикнуться, а вентилятор вимкнеться, і камера почне нагріватися.
Охолоджувач вмикається тільки на 12—13-й день насиджування, а до цього не працює, про що сигналізує лампочка Л3.
Для контактів на циферблатах годинник використовується коротко нарізаний (3— 4 мм) контакт телефонного реле. Ці шматочки-контакти приклеюються до циферблату годинник клеєм БФ-2 (через ізолюючу прокладку, якщо циферблат металевий). В отвір, просвердлений на циферблаті, пропускається тонкий ізольований провідник, припаяний до контакту. На стрілці годинник припаяний шматочок фольги, яка, стикаючись з контактом, подає «плюс» на реле.

А — схема перевертувача; Б — механізм перевертувача; В — контакти годинник; 1 — сітка; 2 — каретка; 3 — яйця в осередках; 4 — шатун; 5 — стінка камери; 6 — отвір для введення шатуна; 7 — редуктор; 8 — диск редуктора; 9 — контакт реле; 10 — панель-полиця; 11 — електродвигун; 12 — полозі каретки.
Для перевертання використовують асинхронний мотор від електропрогравача потужністю 35 вт (див. рис. 4). Передача руху на каретку здійснюється редуктором від склоочисника автомобіля «Волга». На осі шестерні редуктора укріплюється металевий диск Ø 95—100 мм і товщиною 1,5—2 мм.
По радіусу 35 мм в диску сверляться кілька отворів Ø 3—4 мм, в один з яких встановлюється вісь шатуна. Кілька отворів робиться тому, що вимкнений мотор ще деякий час обертається по інерції, продовжуючи рухати каретку.
Через отвір в стінці камери шатун входить всередину і з’єднується з кареткою, перекочуючою яйця. Відстань 70 мм між крайніми положеннями каретки забезпечує перевертання яєць якраз на 180°.
На перевертувачі є тумблер П-5, що відключає його і одночасно вмикає сигнальну лампочку «автомат перевертувача відключений». Керувати цим процесом можна і вручну, натискаючи кнопку КН.
При обертанні диска два виступи, розташовані один проти одного на ньому, розривають встановлений під диском контакт (від телефонного перемикача). Таким чином, через кожні пів-оборота диска контакт розмикається.
Пуск мотора виробляється тими ж годинник, що вмикають охолодження. На цих годинник, крім двох контактів годинної стрілки (див. схему охолодження), встановлюється третій контакт, який замикається вже на хвилинну стрілку через кожен її оборот, тобто через годину. Замкнувшись, контакт хвилинної стрілки подає «плюс» на реле РП-1 («мінус» подається на інший кінець обмоток всіх реле постійно) через контакт РП-2-22. Реле РП-1 спрацьовує, контактом 13 пускає мотор і контактами П і 12 підготовляє схему для роботи реле РП-2. Як тільки контакт на осі мотора (МК) замкнеться, виступ на диску вже пройде контакт. Це може статися і відразу, якщо початок роботи збігся з положенням, коли виступ вже пройшов контакт: спрацює реле РП-2 і переключить живлення реле РП-1. Як тільки диск на осі редуктора пройде пів-оборота, контакт МК розімкнеться будь-яким виступом на диску і реле РП-1 знеструмиться.
Хоча хвилинна стрілка годинник ще не пройшла свій контакт, мотор зупиниться, пройшовши тільки пів-оборота і пересунувши каретку перевертувача до мотора або від мотора на 70 мм.
Як тільки стрілка годинник зійде зі свого контакту, реле РП-2 знеструмиться і схема стане в початкове положення.
Каретка-перевертувач (див. рис. 1) являє собою решітку зі сталевого дроту Ø 2—2,5 мм, пов’язану в перетинах мідним дротом Ø 0,5 мм і потім опаяну. Осередки сітки робляться такими, щоб в них поміщалося яйце. Кінці дроту по ширині загинаються вниз через прут Ø 10—12 мм і утворюють полозі, на яких каретка може переміщатися.
Загальні розміри решітки і продуктивність інкубатора визначаються величиною камери. Дана конструкція розрахована на 42 курячі яйця.
Коли зупиняються годинник з замкнутим контактом охолодження, вмикається звуковий сигнал (див. рис. 3).
Про відключення електроенергії повідомляють реле з обмоткою 2—3 витка, лампочка 3,5 в і батарейка БКС-П. Лампочка з’єднана з батарейкою через контакт реле, яке включено безпосередньо в схему і при подачі електроенергії знаходиться постійно під струмом. Контакт в цьому випадку розімкнений, і лампочка не горить. Коли ж струму немає, контакт замкнеться і загориться лампочка.
Щоб підтримувати в камері необхідну вологість, в дежу наливається вода. За її рівнем «стежить» контакт від телефонного перемикача. Важіль з пінопластовим поплавком на одному кінці при зниженні рівня води замикає іншим кінцем контакт, і загорається лампочка.
Сигнальні лампочки (телефонні, комутаторні на 24 в) краще підключити на обмотку 24 в, щоб не перевантажувати випрямляч, тобто живити їх не постійним, а змінним струмом.
Температурний режим встановлюється так: змонтований інкубатор з градусниками, ванночкою з водою і лампами-підігрівачами вмикається в мережу. На градуснику-терморегуляторі контакт встановлюється на поділку 37,8°. Лампи загальною потужністю 100— 150 вт починають нагрівати камеру. Як тільки температура підвищиться до 37,8°, контакт замкнеться, реле спрацює і відключить ті лампи, які включені через реле терморегулятора. Лампи, включені через реле охолоджувача, продовжують горіти, але їх слід підібрати так, щоб в цьому випадку температура камери почала знижуватися. Через 3—5 хв. вона повинна впасти нижче 37,8°, реле знеструмиться, і знову загоряться всі лампи.
Підбираючи потужність ламп і схему їх підключення через обидва реле, встановлюється терморежим. Для вказаних розмірів камери достатньо включити 50—75 вт через контакт реле терморегулятора і стільки ж — через контакт реле охолоджувача.
Для ефективної роботи інкубатора необхідно знати і строго дотримуватися режиму його роботи. Наведемо режим для інкубації курячих яєць.
З 1-го по 13-й день — 37,7—37,8°. Вологість 54—55%, тобто 29,5—30° по мокрому термометру психрометра. Перевертати через кожну годину, охолоджувач не вмикати.
З 13-го по 20-й день — 37,4—37,5°. Вологість 47—48%, тобто 28—28,5 по мокрому термометру. Яйця охолоджувати 2 рази на добу до 30—32° С. Охолодження виробляти за 10—15 хв. Дуже важливо, щоб після охолодження температура в інкубаторі відновлювалася за 15—20 хв. Під час охолодження працює вентилятор. Перевертання — один оборот за годину. Можна кілька разів на добу вмикати вентилятор на 30—50 хв. вручну. З 20-го дня і до виводу — 37° С. Вологість поступово підвищувати, при масовому прокльову довести до 70%, тобто по мокрому термометру 32°. Перевертувач відключити. Охолодження продовжувати 2 рази на добу. Вентилятор не вимикати. Вилупившихся курчат перекладати в грілки.
Для іншої птиці режими дещо змінюються.
О. БЕРЛІНЕР
