«Картоплю часто називають другим хлібом. Тільки нелегко цей хліб дається. Особливо без використання непомірно дорогих мотоблоків та міні-тракторів, з надією лише на лопату та сапку.
Приблизно рік тому «Моделіст-конструктор» вирішив ніби допомогти, опублікувавши непогану розробку про трасер-картоплесажалку, виготовлену з водогазопровідних труб. Але потім, схоже, забув про обіцянку повернутися до теми малої механізації при вирощуванні трудомісткої культури, а шкода.
В. Іваньков».
Своїх обіцянок редакція не забуває. Свідченням тому слугує чергова публікація. Її автор добре знайомий читачам за своєю попередньою розробкою, на яку редакція отримала чимало відгуків.

1 — рукоятка, 2 — ямкоутворювач (4 шт.), 3 — маркер (3 шт.), 4 — болт стопорний (М8, 4 шт.).
Одна ластівка, як кажуть, весни не робить. Навряд чи варто очікувати помітних змін і від застосування однієї-єдиної розробки, навіть якщо та — високо оцінена городниками трасер-картоплесажалка («Моделіст-конструктор» № 5 за 1996 р.). Потрібен комплекс сучасних спеціалізованих механізмів та ручних сільгоспзнарядь, що полегшують посів, вирощування та збирання урожаю такої трудомісткої культури, як картопля.
Я, наприклад, використовую цілий набір саморобних пристроїв. Але з нього порекомендувати бажаючим можу лише те, що пройшло сувору перевірку полем та часом.
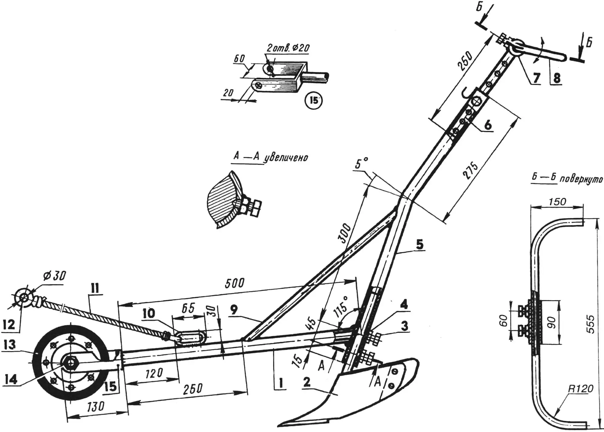
На ораному, не прибитому дощами городі добре працювати трасером-картоплесажалкою з подвоєною кількістю ямкоутворювачів (рис.1). Якщо земля додатково розпушена граблями, то загострені елементи трасера входять у неї навіть без особливого натиску ногою на упорну майданчик. Продуктивність праці зростає майже на сто відсотків! Правда, за умови, що пристрій виготовлений з тонкостінних сталевих труб, щоб було легше.

1 — лонжерон (сталева труба 27×3), 2 — плужок, 3 — болт М12 фіксуючий (4 шт.), 4 — гайка М12 (4 шт.), 5 — кронштейн (сталева труба 27×3), 6 — штанга висувна (сталева труба 21×2,5), 7 — втулка рукоятки (сталева труба 27×3, L90), 8 — рукоятка поворотна (труба 21×2,5), 9 — укосина (пруток Ø20, L450), 10 — дишло (сталевий пруток Ø6), 11 — мотузка капронова, 12 — ручка дерев’яна, 13 — колесо з обгумованим ободом, 14 — вісь (болт М18 з законтреною гайкою), 15 — обойма (сталева смуга 40×4).
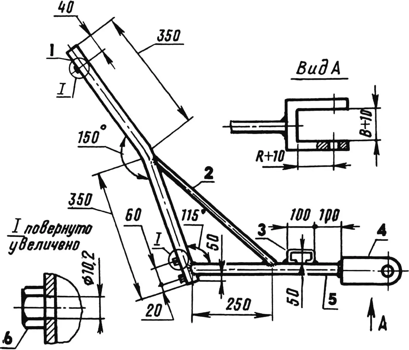
На рис.2 зображено непогано зарекомендував себе на практиці нововведення — пропольник-окучник. Працюють ним одразу два оператори. Один налягає на рукоятки, щоб леміш йшов по полю з потрібним заглибленням, а інший забезпечує просування всієї конструкції в заданому напрямку. В основі саморобки, як і у трасера-картоплесажалки, — зварний остов з водогазопровідних труб.
Раніше в пропольнику-окучнику я використовував два леміші: один для міжряддів шириною 0,45 м, інший — 0,5 м. Потім перейшов на замінюючі їх плужок з кінцевиками, які щільно прилягають до основного леміша та кріпляться двома гвинтами. Коли треба, кінцевики легко зняти.

1 — леміш («нержавійка», лист s2, 2 шт.), 2 — сегмент (від косарки), 3 — державка (пруток сталевий Ø20), 4 — розпірка трикутна (Ст3, лист s2), 5 — гвинт М6 з потайною головкою, гайка М6 (4 шт.), 6 — кінцевик (Ст5, лист s2, 2 шт.).
Плужок виготовлений з 2-мм листової сталі (краще нержавійки — до неї менше прилипають земляні грудки).
Заготівлі були вирізані за розгорткою, зігнуті до потрібного профілю та зварені. У носі — сегмент від косарки, дуже міцний на знос. Робоча кромка заточена під характерним для ґрунтообробних знарядь кутом до горизонту.
Особливість кріплення плужка: в державці — проти болтів і строго по осі — прорізана канавка, що допомагає зберегти робоче положення плужка при зміні величини його заглиблення. Спочатку державка була лише «прихоплена» зварюванням, щоб відрегулювати плужок по горизонтальній та вертикальній осях, а потім приварена остаточно.
Колесо діаметром 165 мм для пропольника-окучника взято від садової тачки. Однак досвід показав, що цей розмір маловатий, треба б колесо з діаметром обода, скажімо, 250 мм при приблизно тій же ширині диска. На такій «більшоколісній» машині можна працювати і без помічника — вона краще подолає вибоїни, ухаби та інші перешкоди.
Штанга з рукоятками в пропонованому варіанті — дещо ускладненої конструкції. Це дозволяє підлаштовувати її під конкретного оператора.
Передбачена також можливість повороту та складання штанги, що створює додаткові зручності при транспортуванні та зберіганні пропольника-окучника.

З появою сходів картоплі та (ніби змагаються з ними) ненависних бур’янів городники дружно беруться за… дідівські сапки. Не був винятком раніше і автор цих рядків. Але, значно намохоливши на прополці руки допотопними знаряддями праці, став-таки приобщатися до новаторської творчості. Добре по нагоді придбав непоганий об’єкт для вправ з модернізації — культиватор-пропольник. Ручний, зрозуміло. Вітчизняний і цілком доступний за коштами.
Відразу ж зіткнувся з недоліками, властивими цій міні-техніці. По-перше, мене (як, мабуть, і інших городників) не влаштовувала мала ширина захвату у «заводського» пропольника. По-друге, бажало багато кращого саме лезо ножа (далекий від оптимального кут заточки, слабка сталь, з якої воно виконане). По-третє, «механіка» то й діло «заїдала»…
Але з’ясувалися і плюси. Зокрема, наявність спеціальних підкосів, що дозволяють при обробці міжряддів близько підходити до картопляних стебел.
Експериментуючи з покупною мінітехнікою, прийшов до розробки власних технічних рішень. В результаті з’явився КУЛЬТИВАТОР-ПРОПОЛЬНИК, добре зарекомендував себе при вирощуванні не лише картоплі, але й інших сільгоспкультур. Працювати на ньому зручніше удвох, просуваючись по рядках зі швидкістю середнього пішохода. Хоча, якщо постаратися і піднатиснути — результативність буде ще більшою. А своєрідним маяком послужить передня частина рами. Точніше — орієнтоване на середину міжряддя опорне колесо, оскільки сам культиватор, врізаючись у поверхневий шар ґрунту, стає просто не видно в утворюваному крихті.
Була, правда, спроба зробити культиваторну лапу більш помітною за рахунок додаткової установки вертикальних кінцевиків. Але від такої ідеї довелося незабаром відмовитися, — занадто багато «дрібниць» чіплялося за таку вишукану «сапку».

1 — колесо в зборі (від садової тачки), 2 — рама основна, 3 — пружина, 4 — фіксатор ланцюговий, 5 — гачок, 6 — рукоятка U-подібна поворотна в зборі, 7 — гвинт M12 фіксуючий з шестигранною головкою (3 шт.), 8 — кронштейн поворотний, 9 — рама пропольника (сталева смуга 20×7), 10 — згрібальник навісний (сталевий ланцюг з прутка Ø10), 11 — пропольник-грудкорозбивач 15-зірковий (від сільгосптехніки), 12 — гайка М10 з контргайкою та шайбою (2 шт.), 13 — лапа культиватора поворотна (від сільгосптехніки, доопрацьована), 14 — вісь-болт з гайкою та шайбами (2 шт.), 15 — болт М14 з гайкою (2 шт.).
Варіант, ескізи якого наведені на рисунку, розроблений для міжрядкової обробки картоплі з шириною посадки 0,5 м. Тим же, хто звик до інших норм висіву, доведеться вносити відповідні корекції.
Культиваторну лапу простіше взяти готову (наприклад, від списаної сільгосптехніки). Але можна зробити і самому, тим більше що основні розміри на ескізі вказані. У верхній частині лапа має втулку з рифленням типу «мишачий зуб» (подробиці про виконання такого див. в № 1 журналу за 1993 рік) на торцях — для закріплення в рифлених щічках поворотного кронштейна та подальшої стяжки болтом М14 з гайкою. В результаті з’являється можливість легко, швидко та в широких межах змінювати кут установки культиватора.
Пропольник-грудкорозбивач теж краще запозичити у сільгосптехніки. Встановлений у задній частині саморобної рами, він разом з культиватором (на поворотному кронштейні!) утворює своєрідний шарнір, напівосями якого є два сталеві болти М6 з гайками та шайбами. А для виловлювання зім’ятих та напівперетертих бур’янів з конгломерату, що утворюється в робочій зоні, служить важкий багатоланковий ланцюг, вільно навішуваний на кінцеві гачки. Витягнуті згрібальником на поверхню стеблинки-корінці бур’янів при сухій сонячній погоді в’януть та гинуть.
Застосована в культиваторі-пропольнику U-подібна поворотна рукоятка практично нічим не відрізняється від вже розглянутого раніше аналога. Інша справа — введена в дану конструкцію пружина (навита зі сталевої 1,5-мм дроту) з ланцюговим фіксатором та гачком. Такому нехитрому, здавалося б, пристрою відводиться особлива роль: служити і індикатором, і регулятором навантаження, яке відчуває в ході експлуатації культиватор-пропольник. Воно ж виконує і функції притиску робочих органів до поверхні ґрунту залежно від стану останнього.
Навантаження, природно, зростає при роботі на важких сирих та задернених ділянках. Ґрунт налипає на всі елементи конструкції, забивається в барабан пропольника…

1 — основа, 2 — вушко (2 шт.), 3 — поперечина.
Допомагає періодичне струшування агрегату. Щоб воно виконувалося швидше та ефективніше, рекомендую до поперечини рами пропольника приварити маленькі упорні шайби (на рис.2 умовно не показані). Варто лише потягнути за рукоятку вгору, як у них упруться задні кінчики лапи. Ну а ривок викличе струсіння самої конструкції, внаслідок чого вся налипь тут же злетить і техніка знову буде готова до роботи.
І ще. Змайструйте довгий зачіп типу кочерги з 6-мм «катанки». Повісьте сей інструмент під час прополки на руку, щоб за потреби можна було швидко очистити раму або, скажімо, той же зірковий пропольник від заплутаних коренів та іншого.

1 — скоба (сталева смуга 20×7), 2 — кронштейн культиватора (сталева смуга 40×7), 3 — стояк (сталева труба 21×2,5).
З механізацією прополки, будемо вважати, розібралися. На черзі — окучування картопляних плантацій. Будь-який городник знає не з чуток, а з власного вистражданого досвіду, наскільки важка ця робота. Та й часу на її виконання йде, як правило, чимало. Вимотаєтеся, навіть якщо візьмете собі в помічники плужок-окучник, переваги якого викладені в попередньому номері журналу.
Покращити становище справ може, зокрема, використання розглянутого плужка, якщо встановити його замість культиваторної лапи.
Але є й інше, кардинальне рішення: обзавестися більш спеціалізованою технікою.

1 — стійка (сталева труба 27×3, L700), 2 — укосина (сталевий пруток Ø12), 3—дишло (сталевий пруток Ø8), 4 — вилка (Ст3, смуга 40×7), 5 — лонжерон (сталева труба 27×3, L500), 6 — гайка М10 (3 шт.).
ДИСКОВИЙ ОКУЧНИК вас тут не підведе. Як і розглянутими вище конструкціями, цим саморобним агрегатом цілком може керувати один оператор. Але краще працювати з напарником: все йде тоді швидше та якісніше. Обидва диски (а їх рекомендую взяти готовими — від картоплесажалки або інших видів сільгосптехніки) при виконаних згідно ескізу (рис.8) регулюваннях рухаються легко та плавно, залишаючи за собою рівний рядок з окученими по всіх правилах агротехніки рослинами.

1 — рядок картоплі оброблюваний, 2 — диск окучника в зборі (від сільгосптехніки, 2 шт.), 3 — кулак (від сільгосптехніки, 2 шт.), 4 — кронштейн Т-подібний, 5 — стійка, 6 — скребок сталевий (від сільгосптехніки, 2 шт.), 7 — балка моста (сталева труба 32×2,5), 8 — болт стопорний M10, 9 — грядиль-рукоятка.
Маючи високі експлуатаційні дані, пропонований пристрій цілком доступний для виготовлення його будь-яким саморобником. Як кажуть, було б бажання. Окучник комфортабельний, швидко та легко розбирається для транспортування та зберігання. Та й з дисками (особливо коли вони від серійної картоплесажалки) — ніяких клопотів. Менше (отже, зручніше) робочий діаметр, готова до швидкої збірки маточина, стійкий до абразивної дії ґрунту матеріал ножа. Ну а затупиться дискове лезо — його завжди можна наточити на наждаку.

1 — втулки (сталева труба 45×6,5), 2 — перемичка (сталева труба 32×2,5), 3 — гайка М10 (2шт.).
Окучник рекомендую оснастити, як це зображено на рис.5, двома серпоподібними скребками. В якості матеріалу при їх виготовленні як не можна краще підійде полотно старої, давно відслужив своє, ножівки по дереву.

1 — втулка (сталева труба 45×6,5, L120), 2 — гайка М10 (2шт.), 3 — лонжерон (сталева труба 21×2,5, L1400, 2шт.), 4 — укосина (сталева труба 21×2,5, L700), 5 — поперечина (сталева труба 21×2,5), 6 — рукоятка (сталева труба 21×2,5).
Після дозрівання бульб настає, нарешті, час збирати урожай. Тут теж є сенс відійти від дідівської технології. Наприклад, для зниження «трудозатрат при накопанні» перейти до використання спец-лопати з шарніром, що перевищує рівень звичайної «заступної» майданчика на 60 мм. Можна з успіхом застосовувати також пристрої, опис та креслення яких неодноразово публікувалися на сторінках «Моделіста-конструктора» (див., зокрема, № 7’71, 8’71, 3’72, 11’73, 5’81, 7’81, 10’81, 11’82, 3’85, 9’87, 9’92, 10’92, 7’94 журналу).

а — розвал, б — збіжність.
Виходячи з власного досвіду, рекомендую викопувати дозрілу картоплю плужком з лемішем. У минулому році, наприклад, саме така технологія дозволила швидко та без втрат прибрати весь вирощений урожай. Приємно було бачити, як після проходу названим плугом першого ж рядка бульби опинилися в утвореній борозні один до одного: чисті, ядрені.
Леміш під час копання був встановлений так, що ніс його йшов понизу, не розрізаючи самих бульб. Прогони — через рядок. Після вибирання картоплі викопувалися інші рядки. Причому заздалегідь скашувалася ботва, щоб потім нічого вже не заважало роботі. А саме викопування велося втрьох: двоє спереду тягнули плужок за мотузку, а третій підштовхував його ззаду. Справа спорилася. Впевнений: і у вас буде анітрохи не гірше!
«Моделіст-конструктор» № 8’97, М. ВАЛУЙ, Чернігівська область, Україна
