Кожного разу, коли настає час консервування овочів та заготовки соків, ловлю себе на думці, що знову доведеться йти до сусіда за його соковижималкою. З виду вона невибаглива та проста за конструкцією, але, один раз попрацювавши з нею, вже не можу себе змусити користуватися своїм промисловим комбайном з електроприводом та численними насадками: після нього знову всю кухню доведеться мити та всі ці насадки чистити.
Зовсім інша справа сусідська саморобна: і мити-то потім всього три детальки, і насіння та жом не застряють, а продуктивність така, що хоча й вручну, але за 30—40 хвилин отримую відро томатного соку.
Дуже шкода, що подібних пристроїв немає на прилавках магазинів. Тому вирішив розповісти про пристрій цього комбайна на сторінках вашого журналу: може, хто виготовить для себе, а може — і промисловість зацікавиться.

1 — корпус у зборі, 2 — барабан, 3 — лоток для соку, 4 — скребки-ножі, 5 — ручка з валом.
Зовні соковижималка нагадує м’ясорубку: так само кріпиться струбциною до столу, той самий розтруб завантажувального вікна, та сама ручка. Однак на цьому схожість закінчується, оскільки принцип роботи зовсім інший: всередині немає шнека та звичних ножів, хоча є своя решітка на виході. Замість шнека — невеликий барабан зі скребками-ножами. Своїми лопатями вони захоплюють помідор (або скибочки, якщо великий) та утягують його за собою при повороті ручки, проштовхуючи в звужуючуся щілину між корпусом та барабаном.
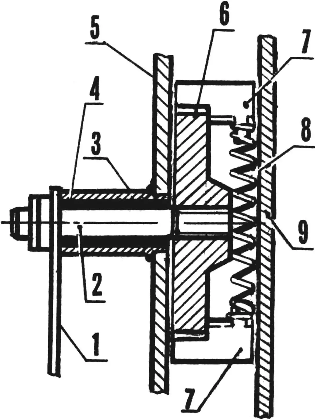
Пристрій механізму надзвичайно простий. Видимі ззовні деталі — це струбцина, дві пластинчасті стійки кронштейна над нею, бункер з ручкою та сітчастим вікном для соку та вікном виходу жому, з двома лотками під ними. Всередині ж знаходиться один-єдиний вузол — барабан, а в ньому — пластини висувних ножів-скребків з розпірною пружиною. Барабан своїм потовщеним дном з різьбовим отвором нагвинчується на хвостовик вала, який пов’язаний з приводною ручкою. Підшипником вала та одночасно сальником є фторопластова втулка, корпусом якої служить сталева втулка, приварена до бічнини бункера.
До нижнього вікна бункера приварена сітка (перфорована пластина з отвором Ø 1,5 мм) — через неї і надходить сік на довгий лоток, закріплений відігнутими вушками в спеціально пропиляних пазах стійок кронштейна. Лоток для жому приварюється до бункера нижче його верхнього вікна.

1 — передня стінка бункера, 2 — лоток для жому, 3 — вікно виходу жому, 4 — вал, 5 — ручка, 6 — барабан, 7, 20 — бічні стінки бункера (стінка 20 — з отвором), 8 — ніж (утоплений), 9 — помідор, 10 — лоток для соку, 11 — стійка, 12 — струбцина, 13 — шатун ручки, 14 — вісь, 15 — корпус підшипника, 16 — підшипник (фторопластова втулка), 17 — сітка (або перфорована смуга з отворами Ø 1,5 мм), 18 — ніж (у висунутому стані), 19 — пружина ножів.
Скребки-ножі з’єднані розпірною пружиною. Для цього їх пластини знизу розрізані на три «пелюстки»: два крайні відгинаються в протилежні сторони (упор), середній вставляється в пружину. Вгорі у пластини є бічний виступ, що обмежує вдавлювання її в проріз барабана.
Ручка з валом збирається як єдиний вузол. Другим збірним вузлом буде барабан з ножами на пружині. Вставляється він зверху бункера; потім у фторопластову втулку вводиться вал, який обережно згвинчується з барабаном. Залишається встановити соковий лоток — і комбайн готовий до роботи.
Завдяки ексцентричному розташуванню барабана по відношенню до стінок корпусу ковзаючі по них ножі-скребки, чим ближче до сітки, все більше утоплюються в прорізи барабана, а утягувані ними помідори все сильніше стискаються, розминаються. На сітці вони вже практично протираються по її отворах, повністю віддаючи сік під тиском барабана. А майже сухий жом вивільняючимися потім на зході з сітки ножами виштовхується через вікно на відвідний лоток.
Так само легко, як і збирався, механізм і розбирається: знімається лоток для соку, вигвинчується з барабана вал (оберненим обертанням ручки) та виймається з бункера звільнений барабан з ножами — все, можна мити.

1 — ручка, 2 — вал, 3 — корпус підшипника, 4 — підшипник (фторопластова втулка), 5, 9 — стінки бункера, 6 — барабан, 7 — ножі, 8 — пружина.
Здається, що ця проста машинка стала б великим підспорьям для садівників-аматорів та городників — адже через неї можна перепускати будь-які м’які плоди, ягоди та овочі. Виняток складуть лише ті, що мають не насіння, а кісточки: їх потрібно попередньо витягти, а решту пропустити через соковижималку.
Запропонований варіант конструкції був призначений для томатів та розрахований на максимальний діаметр плодів 50—60 мм. При використанні машинки для інших видів овочів, ягід, фруктів можуть бути внесені відповідні зміни в розміри бункера, барабана та інших вузлів і деталей.
Впевнений: кожен, хто виготовить такий пристрій, залишиться задоволений.
«М-К» 7’89, Г. АСТАХОВ, інженер
