Не каждому по плечу строительство дома или большой хозяйственной постройки, даже если есть желание. У кого-то нет опыта, у кого-то — времени. Но некоторые работы все же можно выполнить самому, при этом сэкономив довольно значительные денежные средства. Например, устройство отмостки вокруг дома.
Дачный брусовый дом я заказывал строительной фирме. Фундамент дома — железобетонный ленточный, шириной 300 мм и высотой 1 м (500 мм — подземная часть и 500 мм -цокольная) на песчаной полуметровой подушке.
Когда строители в конце зимы закончили возведение дома, то посоветовали летом обязательно соорудить отмостку, причем до осенних дождей, даже отложив другие работы. А если средств на отделку дома недостаточно, то сделать ее и самому — поскольку особого опыта и продолжительной практики для этого не надо. Тогда ваш дом будет зимовать без проблем и встретит не одну весну.
И хотя работа представлялась несложной, до ее начала все же почитал соответствующую литературу (в журнале «Моделист-конструктор» тоже были публикации на эту тему), ознакомился с подобными материалами в Интернете. И не зря. О некоторых тонкостях этой работы я и не догадывался. Например, такой момент: отмостка должна выходить не менее, чем на 200 мм за проекцию края свеса крыши.
Выбрал самый простой и недорогой вариант — бетонная отмостка шириной 600 мм, с наименьшей толщиной 100 мм по песчаному подстилающему слою толщиной до 200 мм, которая окружила бы дом со всех сторон. Забегая вперед, отмечу, что у части боковой стены перед крыльцом отмостку «совместил» с тротуаром — сделал ее шириной 1500 мм.

1 — фундамент; 2 — отмостка; 3 — тротуар, совмещенный с отмосткой; 4 — границы участков, совмещенные с температурными швами
Подсчитал необходимый объем материалов: песка, щебня, цемента, досок для опалубки, а также прикинул, какой понадобится инструмент.
Песок заказал речной, промытый. Для бетона нужен только такой. А вот для подстилающего слоя вполне был бы пригоден и карьерный, с небольшими примесями глины. Щебень — известняковый, марки 600 — 800 фракции до 50 мм. Вяжущее -портландцемент марки 500.
Первая проблема, с которой я столкнулся, — это назначение уклонов: предполагал использовать отмоску в качестве тротуара. Поэтому уклон выбрал минимальный — 3%.
Поскольку устройство отмостки — это наружные работы, то и погоду постарался выбирать подходящую (дни без дождей), доверившись при этом прогнозу. Но, как известно, погоду заказать нельзя, а прогнозы могут и подвести, то постарался быть готовым к непредвиденным осадкам — заранее приготовил полиэтиленовую пленку подходящей длины и ширины и грузы для нее (отрезки брусьев и досок, оставшихся после строительства дома), чтобы пленку не сдувало порывами ветра. И не зря. На третий день вместо прогнозируемого небольшого дождя из серенькой тучки хлынул ливень. Бетон я успел накрыть, а вот заранее выкопанную вдоль стены на 2,5 — 3 м траншею (яму, канаву) вода заполнила почти до краев и не «прямым попаданием», а стекшись с ближайших «окрестностей» (подступов). Пришлось ее оставить для высыхания, а работы продолжить на следующем участке, возвратившись назад, когда работы производил уже у смежной стены.
Это навело на мысль делать отмостку не поэтапно (по видам работ), а по участкам, намечая на определенный промежуток времени. Например: до обеда (или после обеда) выполнить на участке полный цикл работ по устройству отмостки — от снятия почвенного слоя (выкапывания траншеи) до «железнения» бетона (посыпания еще не затвердевшей поверхности бетонной отмостки цементом и ее заглаживания стальным плоским инструментом (кельмой, «соколом», а лучше — гладилкой). Так в дальнейшем и поступал, тем самым обезопасив себя от непогоды и разнообразив работу, к тому же радуя домочадцев ежедневными вводами в строй нового участка, а то и двух.

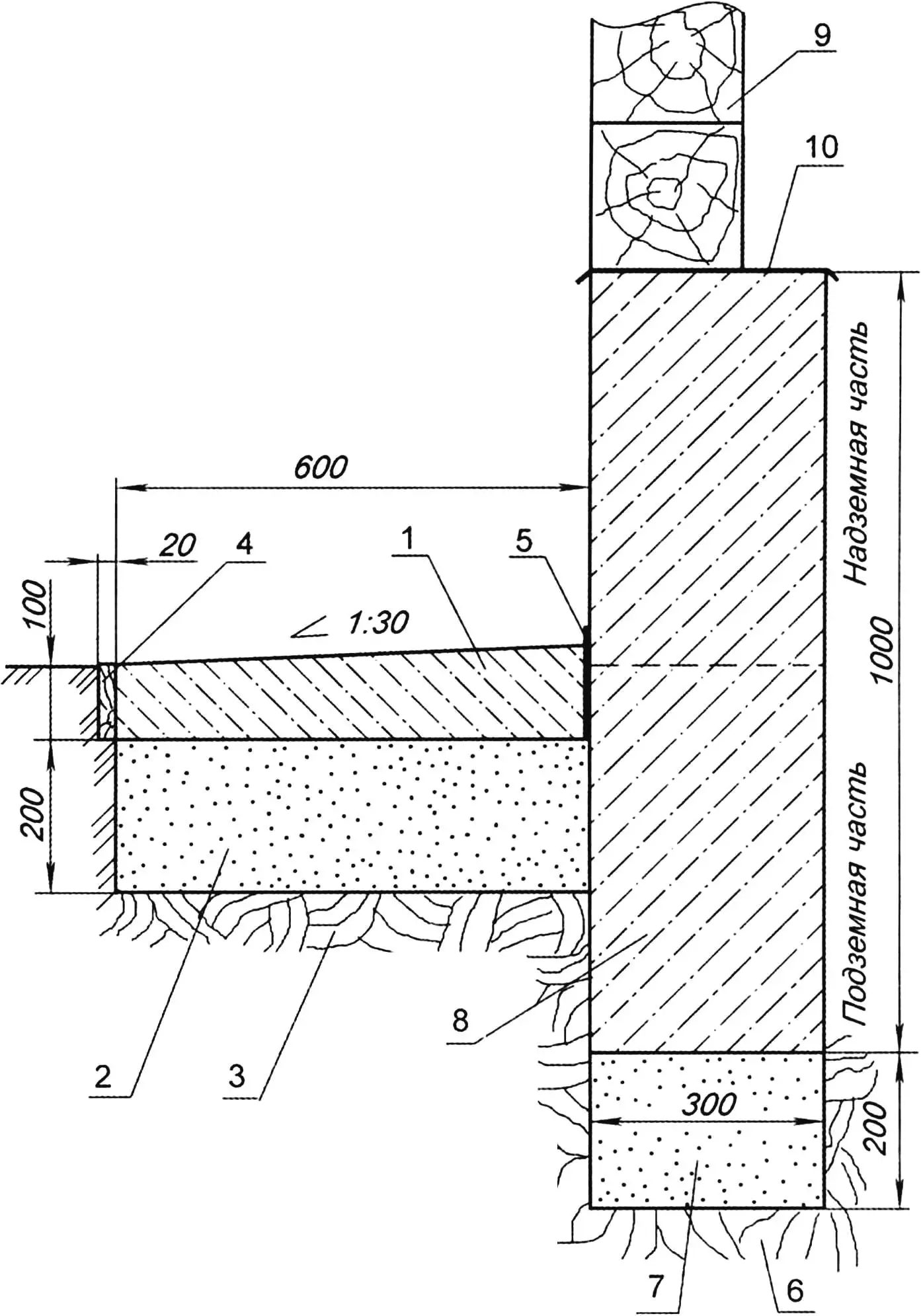
1 — покрытие отмостки (бетон М300); 2 — подстилающий слой (песок); 3 — основание (глина); 4 — доска опалубки; 5 — разделяющая прокладка (рубероид); 6 — основание фундамента дома (глина); 7 — песчаная подушка фундамента дома; 8 — мелкозаложенный фундамент (железобетон); 9 — стена дома (брус 200×200); 10 — гидроизоляция (рубероид)
Участки разбивал примерно по два метра, ставя между ними поперечную доску-двадцатку. По углам такую доску устанавливал по диагонали.
Раз уж разговор пошел о траншее, то скажу, что ее копал на глубину штыка лопаты, то есть около 250 мм. В литературе читал, что было бы неплохо обработать дно траншеи гербицидами, чтобы исключить пророст через отмостку сорной травы или кустарника. У меня же эта глубина соответствовала толщине почвенного плодородного слоя (до глины), а потому обработку гербицидами не производил. Землю из траншеи сразу грузил в тачку и засыпал ею пониженные участки сада-огорода. Непреднамеренно взрыхленный слой грунта на дне траншеи, перед засыпкой песка, уплотнял ручной трамбовкой.
Состав бетонной смеси: цемент-песок-щебень — 1:2:3 (по объему). Воды добавлял примерно столько же, сколько и цемента.
Бетонную смесь сначала готовил в сколоченном деревянном ящике. Но тут выручил сосед, предложив для этих целей стальной штампованный поддон от списанного автокрана. Он был хорош уже тем, что у него все углы были закругленными. В нем было удобно перемешивать компоненты совковой лопатой и выгребать смесь практически без остатка, а также чистить и мыть поддон после окончания работ.

В то время, когда я делал отмостку, в соседнем доме производила наружную отделку бригада строителей из Армении. Наблюдая за моей работой по приготовлению бетонной смеси по классической технологии (отмеряя «по науке» и насыпая ведром в миксер-поддон песок-щебень-цемент и, перемешав все это «на сухую» лопатой, добавлял воды и вновь перемешивал), один из них, по имени Армен, подошел ко мне и показал, как эти операции производит он. Отмерил и насыпал в поддон только песок и цемент, перемешал их, долил воды, опять перемешал и в уже жидкую смесь добавил щебень и опять перемешал. Я повторил его технологию и тут же почувствовал, что времени и сил на этот цикл операций затратил несравнимо меньше, за что благодарен подсказчику.
Еще одна небольшая «хитрость». Поначалу я заливал бетонную смесь непосредственно на подготовленную песчаную подушку. При этом заметил, что в первую очередь сливается верхний слой смеси — цементное «молоко», в котором практически отсутствует щебень, и оно («молоко») уходит в песок. Тогда перед заливкой смеси стал рассыпать на подушку слой щебня, который пропитывался «молоком» и образовывал монолит с бетоном покрытия. Таким образом экономился бетон, а соответственно и цемент.

Несколько слов об армировании бетонного покрытия отмостки. В большей части его я не производил, а сделал только у стены со стороны крыльца, там, где отмостка совмещена с тротуаром. Для армирования использовал обрезки труб, стальную сетку-рабицу, местами перевязав их отожженной стальной проволокой из той же сетки.
После набора бетоном достаточной прочности, уже под осень, августовским прохладным днем, доски аккуратно извлек, а температурные швы залил подогретой битумной мастикой, добавив в нее цемент и песок. Этим же составом залил и щели между цоколем и отмосткой, предварительно вытащив рубероидную прокладку.
Что же дает отмостка?
Основная задача — защита фундамента от талых вод и дождей, отведение воды подальше от фундамента дома.
Уменьшает промерзание и пучение грунта зимой близ фундамента и под ним, особенно при мелком заложении.
Уменьшает вероятность нанесения вреда фундаменту корнями растений.
Декоративность, архитектурную завершенность, эстетику сооружения.
А. ПОЛИБИН


