В журнале «Моделист-конструктор» не раз уже публиковались материалы о самодельных «холодильниках», где для хранения продуктов используется естественный холод, которого в средней полосе нашей страны, не говоря уже о ее севере, больше чем достаточно. Во всех этих устройствах при слишком сильных морозах оптимальная температура поддерживается подогревом емкости с продуктами. Датчики для этого применяются самые различные, однако почему-то никому в голову не приходит воспользоваться эффектом фазового превращения. Короче — физическим явлением, сопровождающим замерзание и таяние воды.
Как известно, при замерзании вода увеличивает свой объем, и это вполне можно использовать для привода самых различных механизмов. Хочу предложить вниманию читателей несколько устройств, где успешно работает этот эффект.
Включатель электроподогрева. Он может использоваться в утепленных пенопластом ящиках, которые подчас устанавливают на балконе или за окном. На дно такого «холодильника» укладывается подогреватель — например, медицинская электрогрелка. Поверх нее располагается второе дно — алюминиевый поддон, на котором располагаются скоропортящиеся продукты. Здесь же помещают и датчик температуры. Он представляет собой герметичную емкость из эластичного материала (например, полиэтилена), заполненную водой. Желательно, чтобы этот сосуд имел форму параллелепипеда — в такие расфасовывают подчас шампуни или лосьоны.

1 — герметичный сосуд из полиэтилена, заполненный водой, 2 — электроконтакт (микровыключатель), 3 — электроподогреватель (грелка медицинская), 4 — днище (пластина с отверстиями), 5 — сохраняемый продукт, 6 — ящик из пенопласта или дерева.
Флакон располагается в жесткой оправе, на стенке которой монтируются нормально разомкнутые контакты или, лучше, концевой микровыключатель. Когда вода в флаконе замерзнет, толщина его увеличится и стенка сосуда сдавит контакты, включающие подогрев поддона. Ход боковой стенки может достигать 10 мм при сечении флакона около 30X70 мм. После включения подогрева лед тает, сосуд принимает прежнюю форму и грелка отключается.
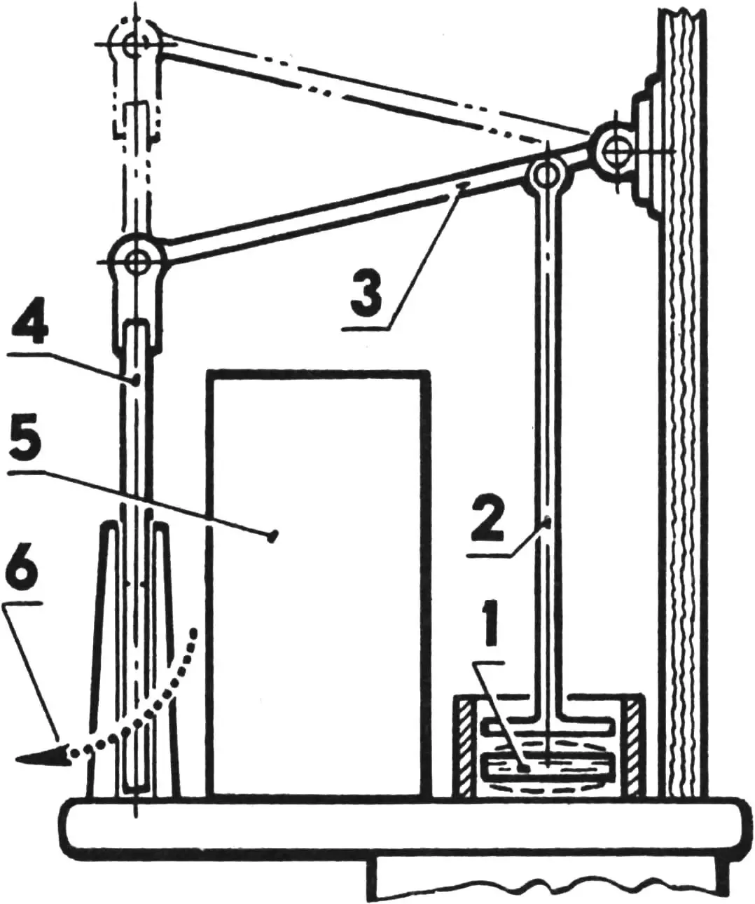
Без затрат электроэнергии. Если продукты хранятся в холодной зоне подоконника, которая образуется при установке на его краю теплоизолирующего барьера (в простейшем случае обычной доски или лучше — пенопластовой пластины), то такое простейшее хранилище также можно оборудовать устройством, поддерживающим температуру в холодной зоне на уровне 0°С. Главную роль здесь также играет заполненный водой полиэтиленовый флакон: при замерзании в нем воды он увеличивается в объеме, усилие далее передается через шток и рычаг к теплоизолирующему барьеру, и последний при этом поднимается. Под барьером образуется щель, через которую стекает холодный воздух, давая место теплому, притекающему сверху, из комнаты. При соотношении плеч рычага 1:5 и при рабочем ходе стенки флакона-датчика 10 мм ширина образующейся щели может достигать 50 мм. Для большего эффекта можно связать подъем и опускание барьера с закрыванием и приоткрыванием окна.

1 — герметичный сосуд из полиэтилена, заполненный водой, 2 — шток с утолщением на нижнем конце, 3 — рычаг, 4 — теплоизолирующая пластина из пенопласта, 5 — сохраняемый продукт, 6 — поток воздуха через щель под пластиной.
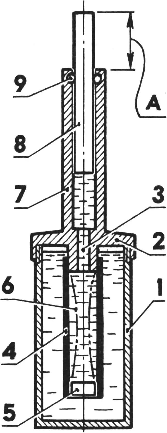
Датчик с гидропреобразователем. Рабочий ход исполнительного механизма можно сделать достаточно большим и без системы рычагов, если в качестве датчика использовать своеобразный гидравлический преобразователь. Он представляет собой жесткий металлический сосуд, внутри которого располагается эластичная резиновая трубка; один ее конец заглушен, а другой соединен с гидроцилиндром, в котором может перемещаться плунжер. Полость металлического сосуда заполняется водой, а резиновая трубка вкупе с гидроцилиндром — моторным маслом.
При замерзании в сосуде воды лед сдавливает резиновую трубку, выжимая тем самым в гидроцилиндр масло, поднимающее плунжер. Последний перемещает заслонки или створки, регулирующие приток холодного воздуха. Рабочий ход плунжера зависит от объема металлического сосуда и диаметра плунжера: чем больше первый и чем меньше второй — тем больше выдвигается плунжер при замерзании воды.

1 — прочный сосуд из металла, 2 — крышка на резьбе, 3 — сквозной канал по оси крышки, 4 — отрезок резиновой трубки, заполненный маслом, 5 — пробка, закрывающая нижний конец трубки, 6 — масло с низкой температурой замерзания, 7 — прилив во внешней части крышки (гидроцилиндр), 8 — плунжер, 9 — резиновое кольцо для герметизации; А — смещение плунжера при замерзании воды в сосуде.
Практика показывает, что для приведения в действие створок простейшего «холодильника» на подоконнике, о котором шла речь выше, достаточно цилиндра объемом всего 100 мл.
Датчик с гидропреобразователем интересен еще и тем, что позволяет дистанционно управлять различными устройствами (например, закрывать створки оранжерей или парников при понижении температуры ниже нуля градусов). Для этого цилиндр с размещенной в нем эластичной трубкой соединяется с исполнительным гидроцилиндром длинной медной или алюминиевой трубкой.
Н. БЕЗБОРОДОВ, г. Долгопрудный Московской обл.


