В последнее время в связи с развитием личных подсобных хозяйств увеличился спрос на грузовой мотороллер «Муравей»; особенно нуждаются в нем сельские жители. Только в 1983 году будет продано 12 тысяч таких машин. Для огромного количества наших сел это, конечно, немного. Зато мотоциклов в текущем году предполагается продать почти полмиллиона. Может, здесь-то и кроется резерв недостающих грузовых транспортных средств для приусадебных участков? Действительно, многие самодеятельные конструкторы перестраивают свои машины в грузовые тягачи. Поступил так и Д. И. Чернышев из города Касли Челябинской области. Он сконструировал из своего мотоцикла ИЖ трехколесный тягач с двумя задними ведущими колесами, чтобы использовать его на сельхозработах, возить на тележке-полуприцепе овощи и картофель с огорода.
Любого самодеятельного конструктора первым делом интересует, какой объем работ предстоит выполнить, что из деталей и узлов придется сделать самому, чтобы, как говорят, машина пошла. Поэтому сразу перечислю: мною были собраны или изготовлены следующие основные узлы — редуктор в блоке с дифференциалом, силовой привод задних колес и корпуса их подвески, подкузовная рама, тормозной механизм. При этом я воспользовался некоторыми частями от мотоколяски С3Б: взял от нее систему охлаждения двигателя, дифференциал, карданные шарниры, пружины и фрикционные гасители задней подвески.

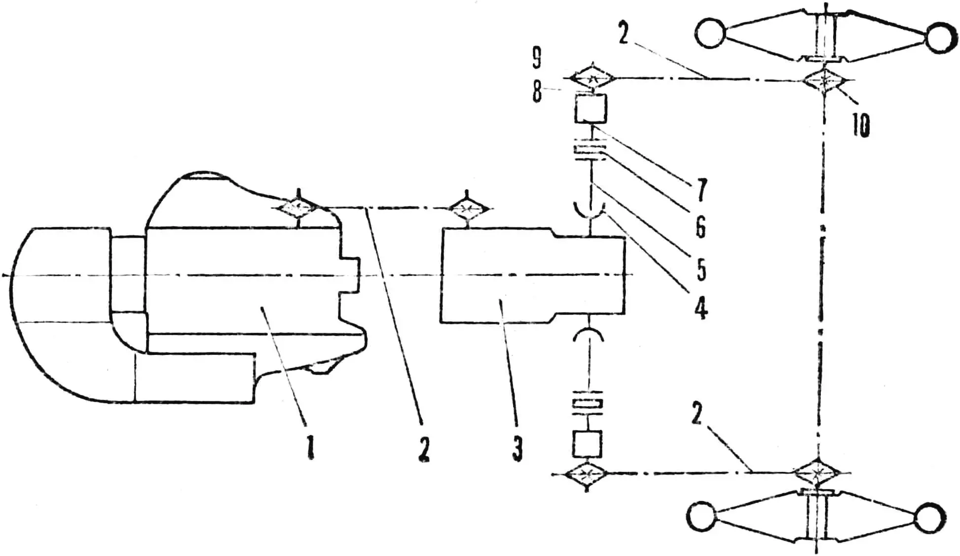
1 — рама, 2 — заднее колесо, 3 — ось задних колес, 4 — чехол цепи, 5 — корпус ведущей звездочки, 6 — косынка опоры, 7 — опора промежуточного вала, 8 — муфта карданного вала, 9 — проушина крепления редуктора, 10 — блок «редуктор — дифференциал», 11 — двигатель мотоцикла.
Построенную машину я назвал бы мини-мототягач, потому что база ее всего 1850 мм, колея 1100 мм, а основа — мотоцикл ИЖ. При переделке получилась трехколесная конструкция, по схеме схожая с грузовым мотороллером «Муравей».
Двигатель оставил штатный, однако добавил принудительный обдув: левую крышку картера снял и заменил вентилятором от С3Б с ее кожухом.
Передача от двигателя к задним колесам осуществляется через блок «редуктор — дифференциал».

1 — двигатель, 2 — роликовая цепь, 3 — блок «редуктор — дифференциал», 4 — карданный шарнир выходного вала, 5 — карданный вал, 6 — муфта, 7 — промежуточная опора, 8 —- промежуточный вал, 9 — ведущая звездочка, 10 — ведомая звездочка заднего колеса.
Новый корпус из дюралюминия для блока отлил простым литьем в землю. При изготовлении редуктора использовались некоторые шестерни и валы от коробки передач ИЖа с механизмом переключения и дифференциал от мотоколяски. Рабочие — три передачи: две переднего хода (двухступенчатые) и одна задняя (одноступенчатая). Передаточные отношения для повышенной скоростной передачи 1,14, для пониженной рабочей — 2,55, заднего хода — 2,41. Тяговое усилие от двигателя передается роликовой цепью непосредственно на вторичный вал редуктора: шестерня первой передачи на промежуточном валу снята. Для привода цепью использованы две звездочки от вторичного вала КПП на 18 зубьев — передаточное отношение 1; тяговое усилие от редуктора к задним колесам — от выходных валов дифференциала (с карданными шарнирами от С3Б) через карданные валы, муфты, валы промежуточных опор и их ведущие звездочки (тоже на 18 зубьев), роликовые цепи. Для безопасности эксплуатации и защиты от загрязнения цепи помещены в кожухи. Звездочки также закрыты корпусами и резиновыми чехлами. Подшипники промежуточных опор установлены в специальных корпусах.
Крепление валов шпоночное. Задние колеса имеют штатные ведомые звездочки с тормозными барабанами: передаточное отношение на звездочках «ведущие — ведомые» — 2,33. Все роликовые цепи тоже штатные — П-4. Муфты пальцевые, от мотоцикла М-72. Для регулировки натяжения цепей предусмотрена возможность некоторого перемещения блока редуктора и промежуточных опор.

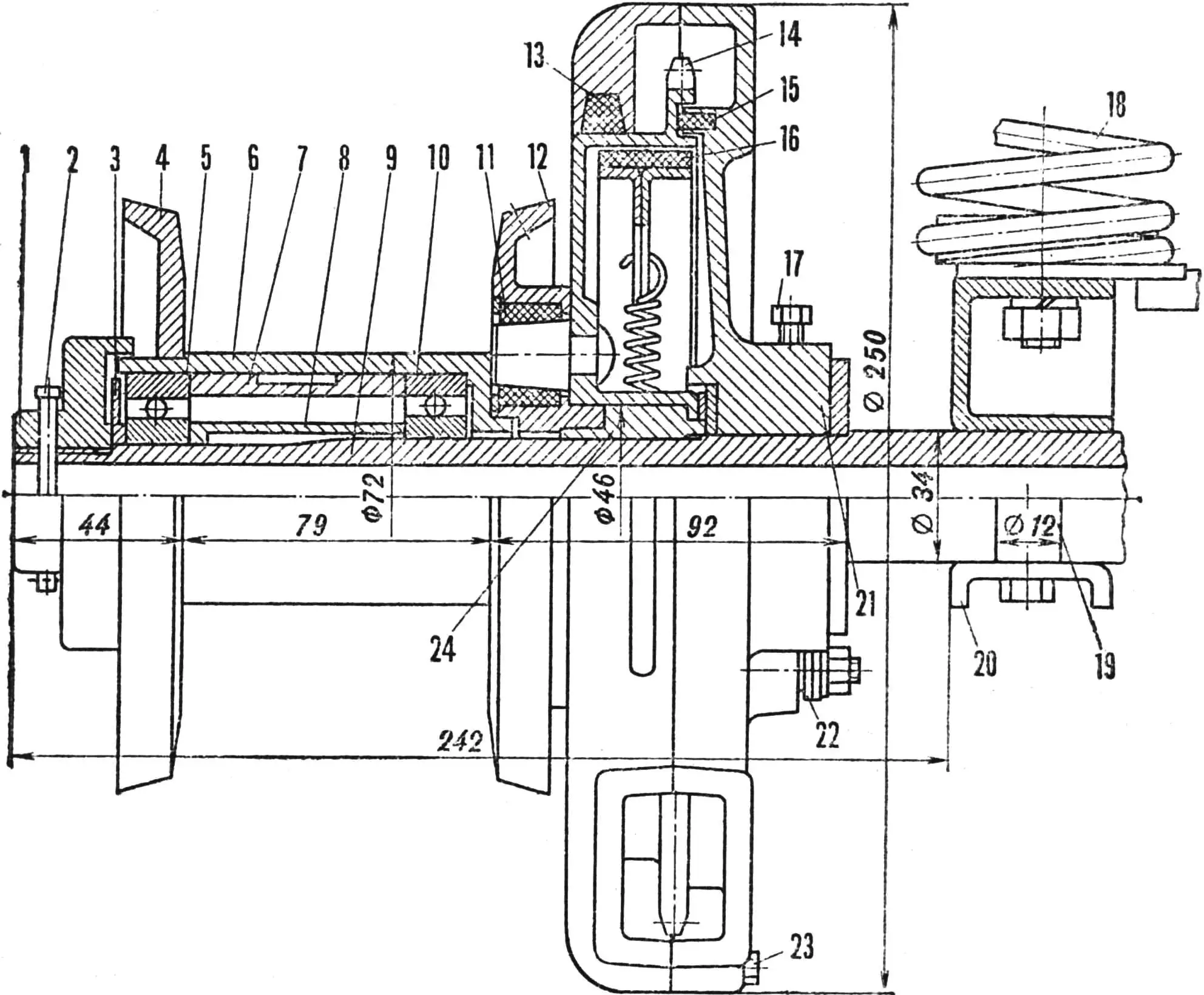
1 — гайка вала, 2 — чека, 3 — регулировочная шайба, 4 — внешний диск, 5 — подшипник № 305, 6 — ступица, 7 — внешняя распорная втулка, 8 — внутренняя распорная втулка, 9 — ось колес, 10 — подшипник № 206, 11 — резиновая втулка, 12 — внутренний диск, 13 — войлочный сальник, 14 — ведомая звездочка, 15 — кожаный сальник, 16 — тормозная колодка, 17 — упорный винт М8, 18 — пружина подвески, 19 — распорная втулка, 20 — корпус подвески, 21 — корпус звездочки, 22 — эксцентриковый поводок тормоза, 23 — винт крепления корпуса, 24 — втулка звездочки (бронза).
Достаточно мягкая амортизация достигнута за счет эластичной подвески заднего моста на пружинах от мотоколяски с фрикционными гасителями колебаний и резиновыми буферами.
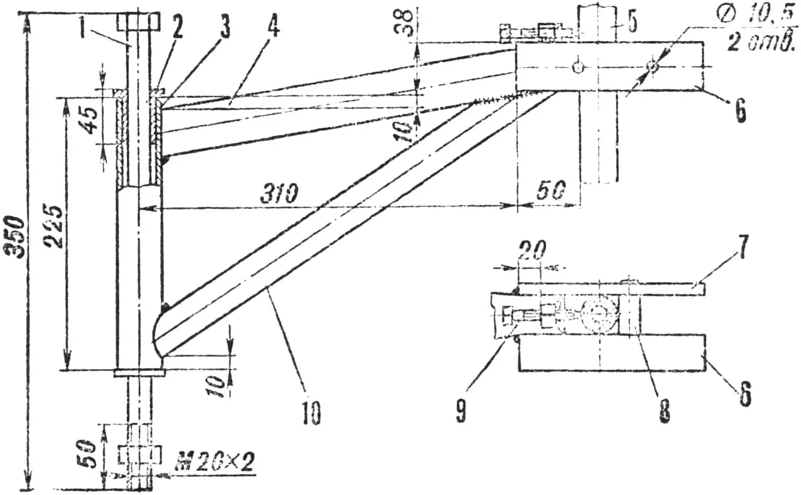
Подвеска консольная, с треугольными «лапами» из труб. Оси-болты ее проходят в проушинах подкузовной рамы, а ось колес устанавливается в корпусе подвески и поджимается винтом крепления к упору. Корпус состоит из коробчатых деталей: основания и прижимной планки, с одной стороны приваренных к «лапам», а с другой — стянутых болтом.

1 — крышка корпуса звездочки, 2 — гайка вала, 3 — корпус звездочки, 4 — корпус опоры, 5 — крышка корпуса, 6 — промежуточный вал, 7 — муфта, 8 — карданный вал, 9 — шпонка, 10 — войлочный сальник, 11 — упорная гайка, 12 — кольцо, 13 — подшипник № 205, 14 — внутренняя распорная втулка, 15 — внешняя распорная втулка, 16 — подшипник № 2505, 17 — сальник, 18 — звездочка.
Ведомая звездочка заднего колеса установлена непосредственно на оси — на бронзовом подшипнике — и пальцами (подобно муфте) соединена с внутренним диском ступицы колеса, в котором для этого просверлены соответствующие окна. Кроме того, в нем, как и во внешнем диске, имеются отверстия под усиленные спицы Ø 5 мм. Ступица вращается на двух подшипниках; узел заканчивается гайкой с чекой.

Рама тягача состоит из двух частей, соединенных между собой шпильками: передней от ИЖ-49 и задней подкузовной — самодельной. Последняя представляет собой объемную конструкцию из продольных и поперечных балок, а также стоек. Она сварная, из труб; изогнутая боковая балка является поддерживающей — на ней установлена на косынке опора промежуточных валов силовой передачи с ведущей звездочкой. К раме приварены проушины и уголки для крепления блока редуктора, промежуточной оси тормозных тяг, подвески задних колес, глушителя, габаритных огней, шарнира прицепного устройства полуприцепа, замков кузова.
Передняя вилка тягача штатная. Привод переднего тормоза ручной; на задние колеса, имеющие штатные тормозные барабаны, — ножными тягами.

1 — ось подвески, 2 — втулка (бронза), 3 — опорная втулка (труба 38X2), 4 — основная тяга (труба 38X2), длина заготовки 340 мм, 5 — ось колес, 6 — основание подвески, 7 — прижимная планка, 8 — упор, 9 — винт М8Х60, 10 — угловая тяга.
На раму может быть установлен опрокидывающийся кузов грузоподъемностью 200 кг. Тягач способен также буксировать двухколесный полуприцеп с грузом до 600 кг. На раме предусмотрен специальный шарнир для их присоединения.
«М-К» консультирует
Как сообщил нам начальник отдела технического надзора ГАИ СССР В. А. Мелкий, самодеятельным конструкторам не возбраняется использовать самодельные трехколесные мотоциклы-тягачи на своих приусадебных участках, но без права выезда на дороги.
В связи с широкой потребностью села в грузовом мини-транспорте в настоящее время ГАИ СССР утверждены технические требования на кузова мотоциклов, изготовленные самостоятельно для боковых прицепов, то есть вместо пассажирской «люльки». Грузоподъемность их может быть до 100 кг, однако общая масса всего «комплекса» не должна превышать разрешенную инструкцией по эксплуатации для данного типа мотоциклов.
Кузов можно делать открытым или закрытым, с поднимающимся верхом, всеми откидывающимися бортами или только одним задним. Однако введены ограничения на габариты: внешние размеры — не свыше 1800X550X300 мм. Разрешено наращивать борта в случае перевозки «легких» грузов, но настолько, чтобы от поверхности дорожного покрытия до их верха было не более 750 мм. Обращается внимание и на клиренс: его минимальная величина при полной нагрузке должна быть не менее, чем при пассажирском варианте.
Материалы для постройки кузова специально не указываются: можно использовать любые, лишь бы они обеспечивали необходимую прочность, надежность. Кузов необходимо окрасить несмываемой краской. Борта, крышки и т. п. снабжаются надежными запорами. Для крепления груза предусматриваются крючки, болты-рамы, однако они не должны выступать над панелями кузова более чем на 30—40 мм. Все кромки, грани различных поверхностей выполняются с закруглениями радиусом не менее 2,5 мм во избежание травм при пользовании.
Устанавливать кузов на раме бокового прицепа необходимо так, чтобы расстояние от него до продольной оси мотоцикла не превышало 350 мм и чтобы он не мешал управлять водителю. Крепиться кузов должен в тех же точках, что и пассажирская кабина.
Световые приборы желательно ставить заводские; самодельные же должны соответствовать техническим требованиям «Приборы световые сигнальные мотоциклов, мотороллеров, мопедов и боковых прицепов к мотоциклам» (ОСТ 37.003.020-78). В них подробно изложено, какие необходимо соблюдать углы освещения и дальности видимости. А размещать их на боковом прицепе с кузовом требуется согласно другому ССТу (37.003.038-77) — «Приборы световые мотоциклов, мотороллеров, мопедов и боковых прицепов к мотоциклам. Количество, расположение, цвет, углы видимости». Располагаются они следующим образом: габаритный огонь белого цвета и оранжевый указатель поворота — спереди; сзади — габаритный огонь, стоп-сигнал, световозвращатель не треугольной формы (все красного цвета); на правой по ходу движения стороне — один или два оранжевых световозвращателя. Причем последние надо ставить на высоте не менее 250 мм от дорожного покрытия, а остальные приборы — не ниже 350 мм.
Грузовой кузов самодельной постройки необходимо зарегистрировать в органах ГАИ; для этого представляются акт местной организации Всесоюзного добровольного общества автомотолюбителей (ВДОАМ) с соответствии его конструкции техническим требованиям, справки-счета, товарные чеки магазинов розничной торговли, комиссионных товаров, прочих организаций, подтверждающие покупку тех или иных деталей, узлов, материалов. На основании этого в ГАИ делается отметка в техническом паспорте, разрешающая эксплуатацию представленного кузова.
Особое внимание самодеятельных конструкторов и тех, кто будет пользоваться подобными грузовыми кузовами, обращается в технических требованиях на то, что нельзя перевозить людей, тем более детей. Не разрешается изменять конструкцию рам прицепов и мотоциклов, деталей их соединения, а также самостоятельно изготовлять рамы-шасси. Должно быть предусмотрено место для медицинской аптечки, знака аварийной обстановки, комплекта инструмента и насоса.
«М-К» 9’83, Д. ЧЕРНЫШЕВ, г. Касли, Челябинская обл.


