Известно, что удить рыбу с лодки лучше, чем с берега — обычно такая рыбалка бывает гораздо удачливее. Но ведь лодка, хотя бы резиновая, имеется далеко не у каждого взрослого любителя рыбной ловли. А где взять такое плавсредство, например, юному рыболову? Даже большую камеру от колеса грузового автомобиля ему найти не просто. Да ненароком и проткнуть ее рыболовным крючком немудрено.
Между тем, решение вопроса по обеспечению себя самого надежным и дешевым (если не бесплатным) плавсредством, что называется, лежит под ногами. Используя предметы, которые выбрасывают из-за невозможности их ремонта или за ненадобностью, можно быстро соорудить неплохой плот.
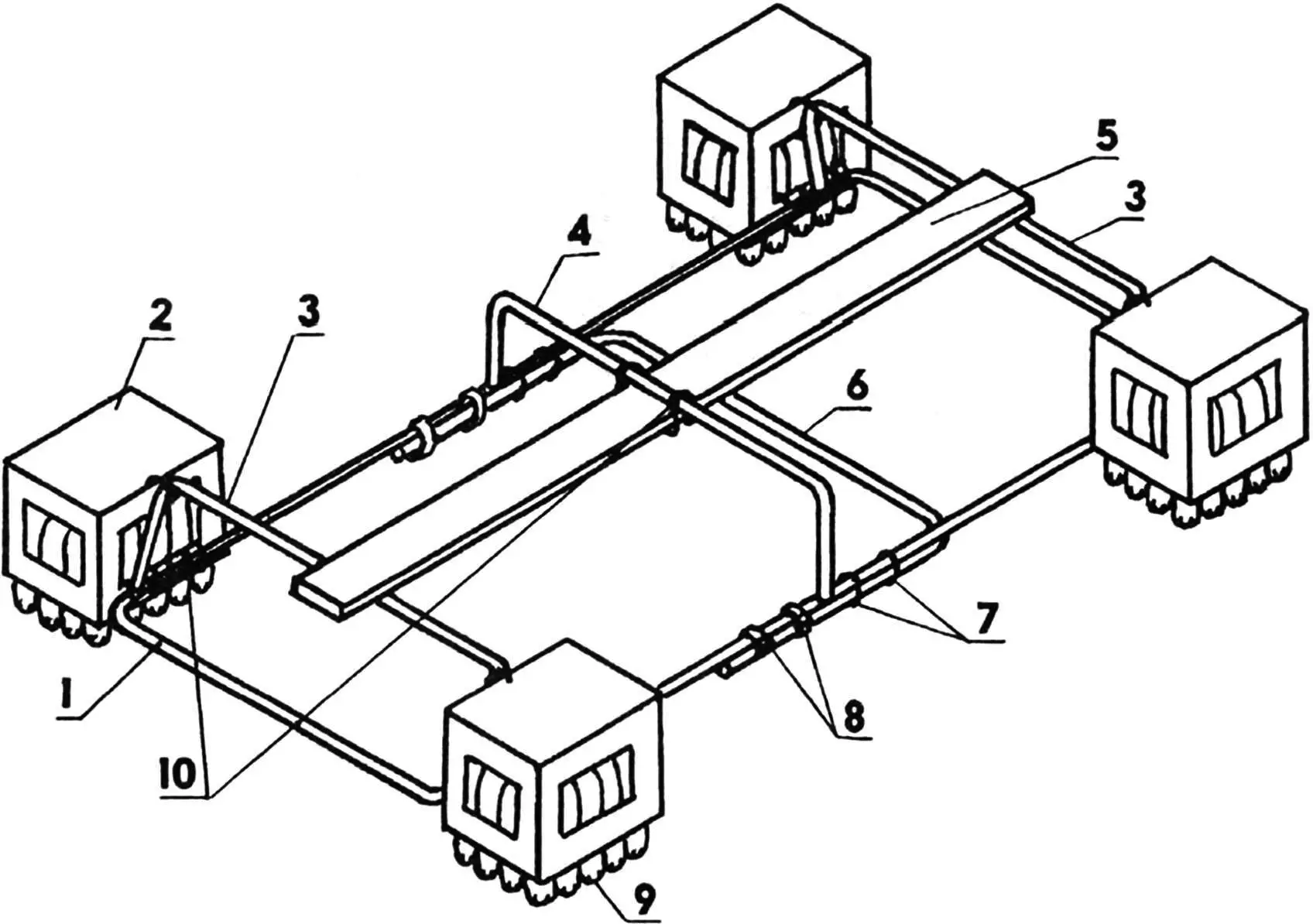
Для его изготовления нужны четыре пластмассовых ящика из-под стеклянных бутылок (можно и без внутренних перегородок), старая раскладушка и несколько десятков пластиковых полуторалитровых бутылок с крышками. Если ящики треснутые, то их надо стянуть обручем из стальной отожженной (чтобы легче гнулась и не ломалась) проволоки диаметром 1,5—2 мм.

Перевернутый каркас раскладушки — готовый силовой набор для плота. Обычно у старых раскладушек бывает порвано брезентовое полотно. Остатки его надо удалить вместе с пружинами. Целое полотно можно и оставить — оно послужит мягкой палубой. Если в каркасе раскладушки есть поломанные трубки, то их части надо соединить муфтой или накладными шинами (слегка разогнутыми продольными половинками таких же трубок), скрепленными по длине несколькими проволочными скрутками.
Сооружение плота начнем с того, что отпилим ножовкой по металлу шарниры дуги изголовья. Сделаем из этой дуги траверсу, прикрепив каждый ее «ус» к трубкам рамы по ее середине хотя бы двумя скрутками к каждой ее половине (как шину в случае сломанной трубки), чтобы рама не могла произвольно сложиться по шарниру. Но лучше одну половину соединить четырьмя хомутами — по два на каждой стороне. Хомуты позволят путем частичной разборки сложить каркас раскладушки и сделать плот компактнее, если это нужно, например, для транспортировки.

1 — трубка рамы; 2 — пластмассовый ящик из-под стеклотары (4 шт.); 3 — крайние стойки; 4 — средняя стойка; 5 — сиденье (доска 200×20); 6 — дуга траверсы; 7 — скрутки (проволока Ø1,5…2); 8 — хомуты (4 шт.); 9 — пластиковые бутылки емкостью 1,5 л; 10 — скрутки (шпагат)
Далее прикрепим к каркасу ящики-поплавки, расположив их по углам рамы кверху дном. Ящики можно привязать капроновой бечевкой следующим образом: длинную сторону верхнего пояса — к трубке рамы, а середину нижнего (донного) пояса — к одной из ножек раскладушки, которые теперь будут выполнять роль стоек. Верхние пояса ящиков для надежности желательно усилить, стянув их обручем из проволоки.
Сиденье делаем из доски толщиной не менее 20 мм. Ширина ее 150 — 200 мм, а длина — немного больше, чем расстояние между крайними стойками. Верх доски надо обстрогать и отшлифовать наждачной шкуркой либо обтянуть кожзаменителем или какой-нибудь пленкой. Доску пропускаем снизу под средней стойкой, опираем на крайние и, установив ее по оси рамы, прочно привязываем к средней стойке бечевкой или проволокой.

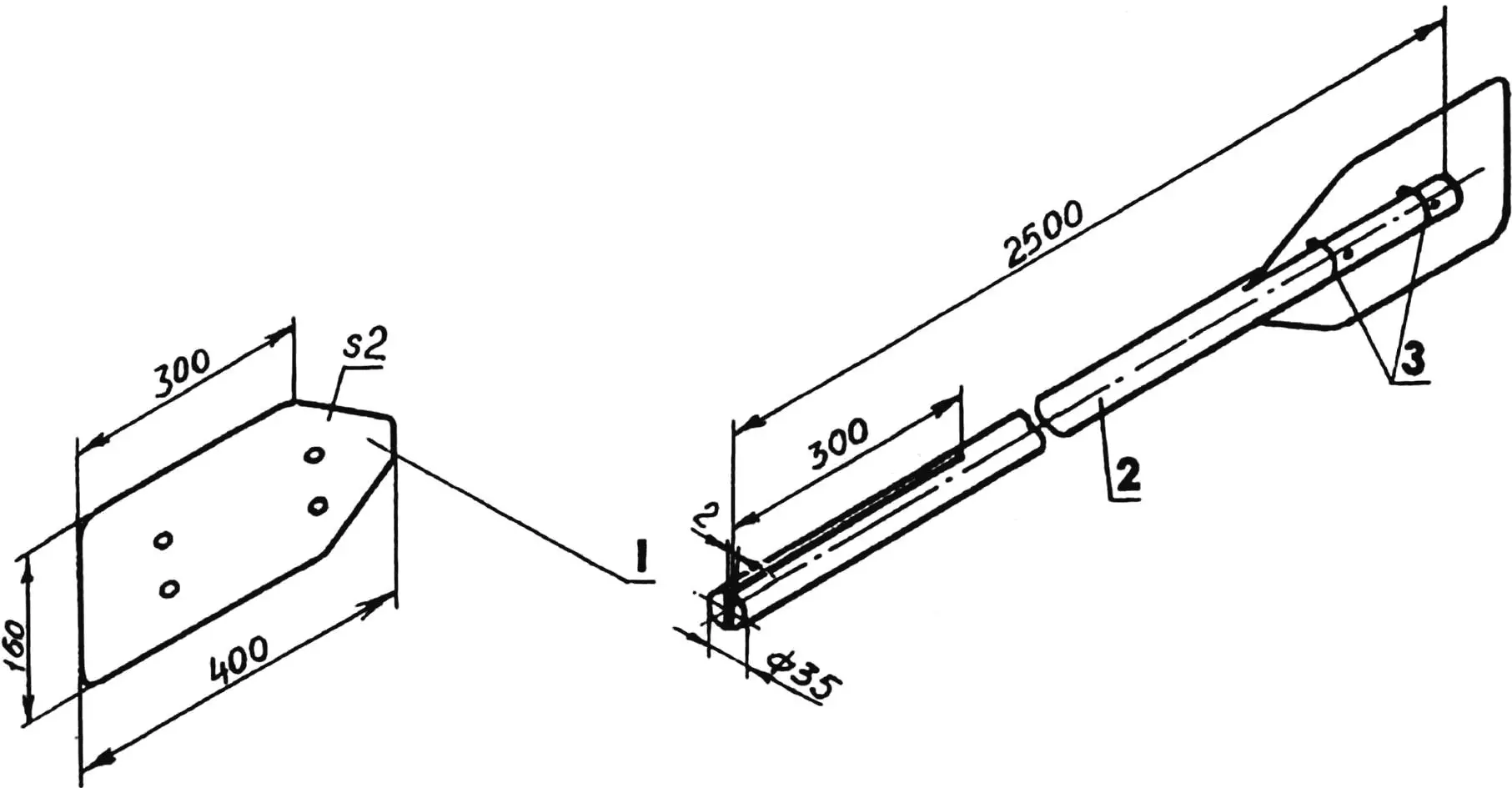
1 — лопасть (дюралюминий, гетинакс, лист s2, 2 шт.); 2 — веретено (деревянный стержень); 3 — скрутки (проволока Ø1,5…2)
Теперь, для удобства, поставив плот на бок или перевернув его, набиваем все четыре ящика полуторалитровыми пластиковыми бутылками (в каждый вмещается 20 штук) так, чтобы крышки упирались в дно ящика. При этом бутылки еле втискиваются и могут даже немного деформироваться. Прикинем водоизмещение: 1,5 л х 20 х 4 = 120 л. Значит, плот, учитывая его небольшую собственную массу, может принять на борт больше центнера груза, то есть будет держаться на плаву даже с двумя мальчишками-рыбаками. Не беда, что ноги окажутся по щиколотку в воде, в холодную погоду выручат резиновые сапоги. При необходимости же водоизмещение можно увеличить в полтора раза, привязав еще два ящика с бутылками в середине плота, прикрепив их к раме и средним стойкам каркаса.
При описанной компоновке плот обладает хорошей остойчивостью, а о его живучести (способности оставаться на плаву при каких-либо повреждениях) и ремонтопригодности говорить не приходится: повреждение даже нескольких бутылок ничем не грозит (сравните с проколом резиновой лодки или камеры), а починка сводится к замене поврежденных бутылок на целые.
В качестве движителя лучше использовать двухлопастное весло байдарочного типа, на таком плавсредстве им удобнее грести и управлять. В мелком водоеме можно передвигаться с помощью шеста. Энтузиасты «мореходы» имеют возможность установить на плоту даже парус, прикрепив его мачту хомутами к средней стойке и дуге траверсы. При необходимости перемещения плота по суше его можно оборудовать парой колес от детского велосипеда или коляски, прикрепив их ось к одному из концов доски сиденья.
И. ЯНКИН, инженер, г. Байконур, Казахстан


