Предложение об использовании колпачков от туб с различными видами кремов, зубной пасты и т. п. для радиотелеаппаратуры не ново. Но к ним требовались специальные втулки, которые вытачивались под вал переменного резистора. Я же предлагаю использовать не только яркие нарядные колпачки, но и тубы — горловину.
Со стороны среза полученная таким образом втулка от тубы выравнивается напильником;затем к ней приклеивается декоративная фетровая, войлочная (или из толстой плотной ткани) круглая шайба.
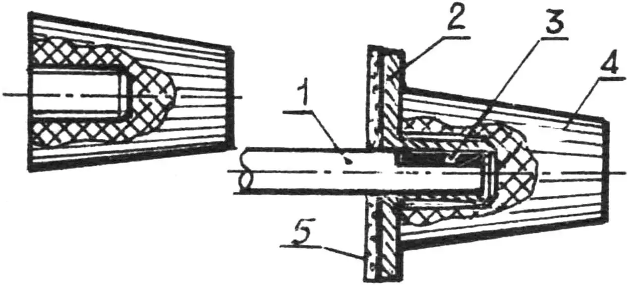
Ручка на оси переменного резистора:
1 — ось резистора, 2 — горловина тубы, 3 — уплотнительная прокладка, 4 — колпачок тубы, 5 — фетровая шайба.
Втулка в колпачке фиксируется на резьбе клеем. Кроме того, надфилем делается продольный паз для установки в нем резиновой или картонной уплотнительной прокладки, армированной пластиной из жести под лыску вала переменного резистора.
В. ЛЕВАШОВ


