«Школьная автоматическая метеостанция, сконструированная учащимися средней школы, № 5 города Клина, представляет технический интерес. Оригинально задуманы и воплощены датчик осадков и регистрация их на пульте. Интересны указатели направления и скорости ветра, а также термометр.
Подобные метеостанции могут найти применение и в народном хозяйстве — при устройстве агрометеопунктов в колхозах и совхозах».
(Из заключения начальника метеостанции г. Клина)
Заочная выставка «Твори, выдумывай, пробуй» продолжается. Первые итоги подведены советом выставки, который действует при редакции «Пионерской правды». Среди работ, отмеченных премиями, те, рассказ о которых на страницах газеты вызвал наиболее бурный отклик у читателей. «Пришлите чертежи, напишите подробно, как повторить конструкцию», — такие письма поступают в совет заочной выставки после большинства публикаций. Очень многим хочется сделать в своей школе такой же ларингофонный кабинет, как в школе № 16 города Жигулевска, или прибор для обнаружения неисправностей в скрытой электропроводке (работа Е. Пономарева, из школы № 4 города Саранска). Автомат для удаления косточек из вишен (автор В. Волков из тульской школы № 1) вызвал просто поток вопросов: летом всем нужен такой автомат. Со вниманием отнеслись специалисты к работе О. Гранкина из школы имени Горького города Талды-Кургана (Казахская ССР) — миниатюрной бормашине с питанием от батареек карманного фонаря.
Школьная гидрометеостанция, о которой рассказывается в этом номере, также очень понравилась пионерам. Ведь иметь в школе собственную метеостанцию, да притом автоматическую, — это так заманчиво. Но сконструированное клинскими ребятами устройство можно использовать нс только в школе. Главное достоинство их гидрометеостанции, которое и было отмечено советом выставки, — пригодность для народного хозяйства. Такая станция сослужит неплохую службу в колхозах и совхозах, на таежных буровых и в рыбачьих поселках.
Имена первых призеров Всесоюзной заочной выставки «Твори, выдумывай, пробуй» теперь уже известны. Награды — ценные призы и грамоты — получили создатели самых полезных и оригинальных конструкций. Но до закрытия выставки еще много времени: окончательные ее итоги будут подведены в мае 1972 года. Так что юные конструкторы, недавно завершившие работу над прибором, моделью, автоматом, еще успеют представить их на суд совета выставки. Наш журнал постарается опубликовать описания наиболее любопытных находок.
Ждем ваших писем, друзья!

Пр — предохранитель, Вк1 — выключатель измерительного пульта «питание», Вк2 — трехполюсный выключатель указателя скорости ветра, Вк3 — выключатель ламп подсвета пульта, Тр — понижающий трансформатор 220/24, В — выпрямитель, Л1 — сигнальная лампа «пульт включен», Л2 — сигнальная лампа «указатель скорости ветра включен», Л3—Л8 — сигнальные лампы дождемера, Л9 и Л10 — люминесцентные лампы, Кн — кнопка «слив воды», ЭМ — электромагнит дождемера, R1 и R2 — балластные сопротивления (23 Ω), ТНВ1 — регистрирующий прибор термометра наружного воздуха, ТНВ2 — датчик термометра, УСВ1 — указатель скорости ветра, УСВ2 — датчик-генератор, УНВ1 — указатель направления ветра, УНВ2 — датчик.
Три года назад мы задумали построить школьную автоматическую гидрометеостанцию (рис. 1). За работу принялись четверо семиклассников: Николай Пономарев, Александр Засосов, Сергей Корольков и Вячеслав Пропой. Создали один вариант, затем второй, более совершенный — эта реконструкция была произведена в 1970/71 году, когда ребята кончали девятый класс.
Главная особенность нашей станции — дистанционный замер. Не выходя из здания школы, можно узнать направление и скорость ветра, температуру наружного воздуха, количество выпавших осадков. Кроме того, мы измеряем атмосферное давление, влажность и температуру воздуха в помещении.

1 — крыльчатка, 2 — крыша, 3 — кожух контактов дождемера, 4 — большой резервуар дождемера, 5 — поплавок, 6 — малый резервуар дождемера, 7 — сливная трубка, 8 — клапан, 9 — электромагнит, 10 — штепсельный разъем, 11 — датчик указателя направления ветра, 12 — датчик термометра, 13, 16 — шарикоподшипнини, 14 — остов, 15 — токосъемники, 17 — сальник, 18 — штанга, 19 — флюгарка, 20 — датчик указателя скорости ветра.
На крыше школы расположен ящик (рис. 2) размером 490X370X360 мм с несколькими датчиками. Электрический кабель соединяет его с измерительным пультом (см. фото), который находится в кабинете географии. На пульте размером 450X300X150 мм размещены регистрирующие приборы.
УКАЗАТЕЛЬ НАПРАВЛЕНИЯ ВЕТРА
На металлической штанге Ø 15 мм и длиной 500 мм укреплена флюгарка, которая устанавливается по направлению ветра. Нижний ее конец соединен поводком с валом датчика — кольцевым потенциометром (рис. 3). Три его щетки, расположенные под углом 120°, соединены с тремя фазовыми обмотками регистрирующего прибора. Вслед за флюгаркой потенциометр «реагирует» на изменение направления ветра, перераспределяя ток в фазных обмотках статора: каждому положению их на потенциометре датчика соответствует определенное положение магнита-ротора относительно фаз статора регистрирующего прибора.

1 — кольцевой потенциометр, 2 — штанга флюгарки, 3 — контактные кольца, 4 — контактные щетки, 5 — обмотка статора, 6 — ротор (постоянный магнит), 7 — стрелка и шкала.
На оси магнита-ротора укреплена стрелка, которая вращается вместе с ним и показывает направление ветра.
На боковой стенке датчика смонтирован магнитный компас — для ориентирования по странам света.
Установочный угол для наружного устройства нашей станции 14°.
УКАЗАТЕЛЬ СКОРОСТИ ВЕТРА
В основу его работы (рис. 4) положен принцип устройства магнитного тахометра. Генератор-датчик укреплен на штанге флюгарки. На его валу находится крыльчатка Ø 560 мм — она вращает вал со скоростью, зависящей от скорости ветра.

1 — крыльчатка, 2 — ротор, 3 — обмотка статора, 4 — штепсельный разъем, 5 — стрелка и шкала, 6 — спиральная пружина, 7 — медный колпачок, 8 — постоянный магнит, 9 — ротор электродвигателя, 10 — обмотка статора электродвигателя.
Вырабатываемый генератором-датчиком ток через токосъемник поступает по проводам в статорную обмотку синхронного электродвигателя, помещенного в регистрирующем приборе. Там создается вращающееся магнитное поле, под действием которого в короткозамкнутой обмотке ротора возникают вихревые токи, и он начинает вращаться.
Постоянный магнит, расположенный на валу ротора, индуктирует такие же токи в чувствительном элементе — медном колпачке. Магнитное поле, которое при этом возникает, производит механическую работу — вращает колпачок, а вместе с ним и стрелку регистрирующего прибора. Непрерывному их вращению противодействует спиральная пружина.
По шкале прибора можно определить скорость ветра в любое время суток. Тарирование шкалы в м/сек произведено с помощью анемометра и секундомера.
ДОЖДЕМЕР
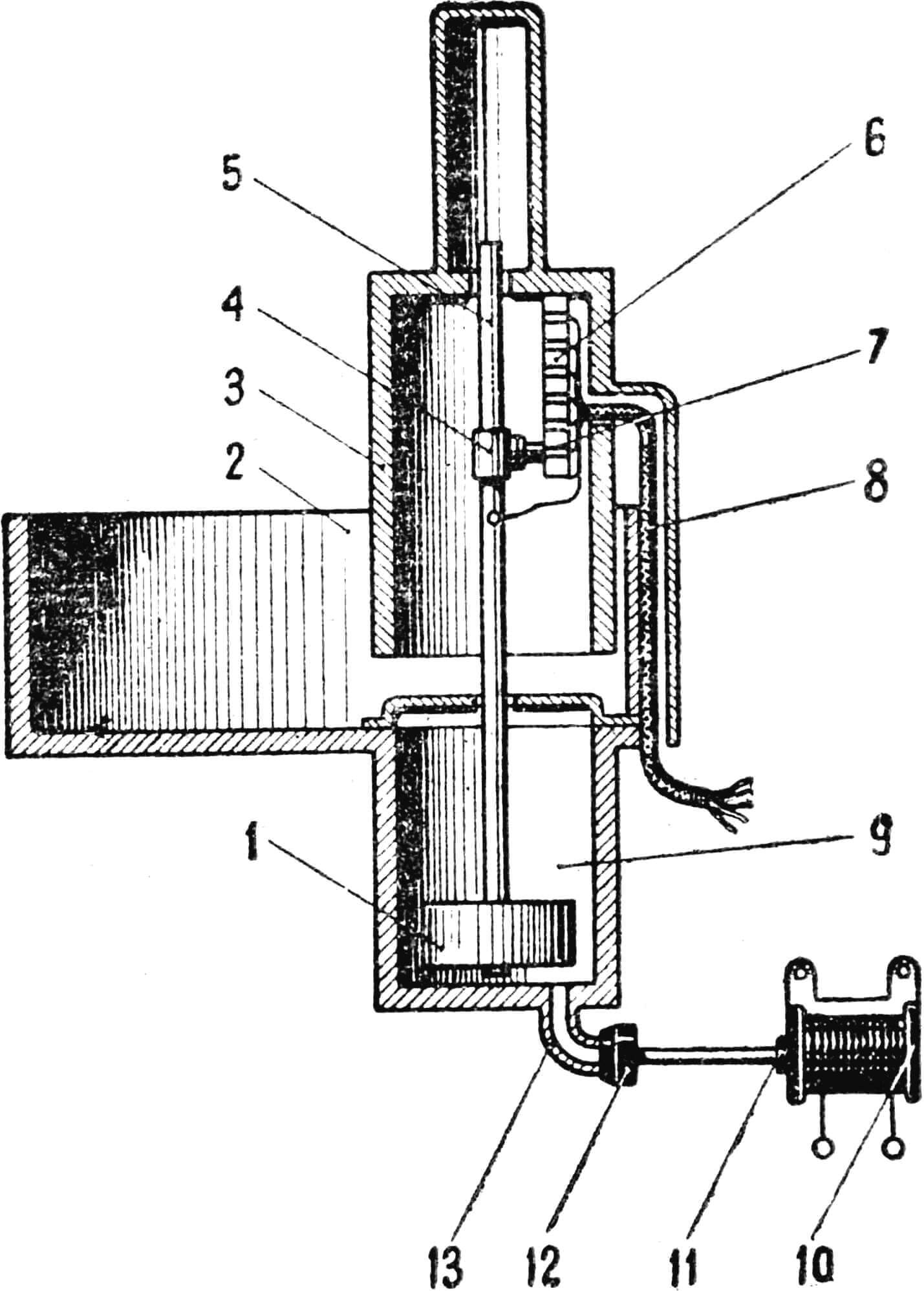
предназначен для определения количества осадков в мм, которое собралось за сутки в резервуаре Ø 250 мм и высотой 100 мм. Он сделан из жести (рис. 5) и покрыт водостойкой краской. Под ним установлен меньший резервуар Ø 79 мм и высотой 100 мм. Количество воды, занимающее в первом сосуде 1 мм его высоты, во втором занимает 10 мм.

1 — поплавок, 2 — большой резервуар, 3 — защитный кожух, 4 — щеткодержатель, 5 — шток, 6 — контактная панель, 7 — угольная щетка, 8 — кабель, 9 — малый резервуар, 10 — электромагнит, 11 — якорь электромагнита, 12 — клапан, 13 — сливная трубка.
В малом резервуаре находится поплавок из пенопласта со штоком, на котором укреплена угольная щетка. Последняя скользит вдоль винипластовой панели, на которой смонтированы контактные ламели. Они, в свою очередь, соединены электрокабелем с сигнальными лампами измерительного пульта. Контактная система дождемера защищена от воды кожухом. Каждой сигнальной лампе соответствует определенная величина осадков в мм.
Специальное клапанное устройство позволяет сливать воду из резервуаров, не выходя из помещения. Нажав на кнопку «слив воды», мы приводим в действие электромагнит и резиновый клапан, укрепленный на его якоре.
ТЕРМОМЕТР НАРУЖНОГО ВОЗДУХА
Принципом, положенным в основу его устройства, является зависимость электрического сопротивления от температуры (рис. 6).

Шкала магнитоэлектрического логомера отградуирована по Цельсию. Сам прибор включен в мостовую схему, состоящую из четырех плеч (R1, R2, R3 и Rt). Первые три выполнены из манганина, материала, практически не меняющего свое сопротивление при изменениях температуры. Плечо Rt сделано из меди и помещено в измеряемую среду. Металлический корпус, в котором оно находится, укреплен на наружном устройстве и закрыт кожухом, выкрашенным в белый цвет — для отражения солнечных лучей.
Схема питается от источника постоянного тока напряжением 24 в. Через измерительный прибор, включенный в диагональ мостика, ток не будет протекать только при одном условии: если произведения сопротивлений противоположных плеч будут равны, то есть R1 * R3 = R2 * Rt. На приборе это соответствует температуре 0° С.

На измерительном пульте находятся электронные часы, барометр, термометр, определяющий температуру воздуха в помещении, гигрометр, психрометр и календарь. Пульт освещается люминесцентными лампами. Питание напряжением 24 в осуществляется от сети переменного тока напряжением 220 в через понижающий трансформатор и выпрямительное устройство — они размещены внутри измерительного пульта.
Наша автоматическая гидрометеостанция удобна и проста в работе. И дешева — мы истратили на нее минимум средств (25 руб. на приобретение часов, барометра и некоторых материалов). В основном же было использовано списанное авиационное оборудование: приборы, коммутационная и защитная аппаратура, сигнальные лампы.
Л. ЯКАНИН, руководитель школьного кружка автоматики и телемеханики


