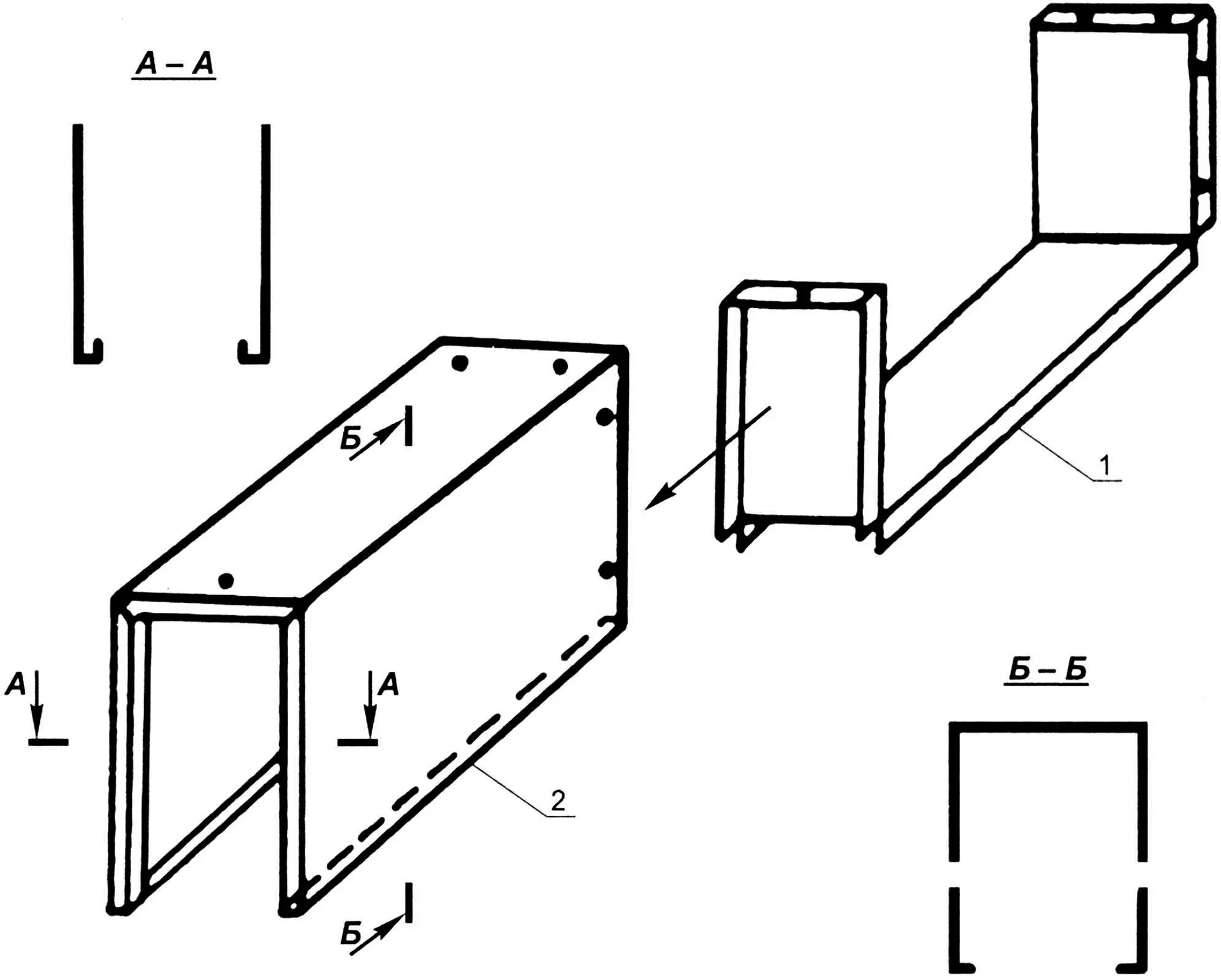
Вже багато років я монтую свої радіоаматорські саморобки в універсальні корпуси, виконані за єдиною схемою. Це безкаркасна конструкція, що складається з двох деталей П-подібної форми: основи та кришки. Вони виготовляються з листової сталі потрібної товщини (зазвичай від 0,3 до 1 мм), при з’єднанні яких утворюється замкнений об’єм. Корпуси легкі і досить міцні. Їх розміри можуть варіюватися від сірникової коробки до габаритів холодильника.
Універсальний корпус:
1 – основа; 2 – кришка
Процес створення корпуса починається з викреслювання на аркуші паперу відповідної розгортки, яка потім переноситься на метал. Розмічена заготовка вирізається по контуру, виконуються всі необхідні отвори, далі – гнуття та відбортовка.
Для з’єднання основи та кришки прийнятні різні варіанти: з використанням куточків або з відбортовками. Щоб лицьова панель виглядала «фірмово», передню кромку кришки слід відбортувати всередину. А ручку для переносу доцільно прикріпити не по геометричному центру кришки, а в місці, яке буде зручним при переносі апарату з урахуванням його розважки. Після перевірочної збірки кришка та основа фарбуються молотковою або кольоровою емаллю.
«Моделіст-конструктор» № 4’2025, Олександр ШИМАНАЄВ
