Віндсерферу, як і будь-якому вітрильнику, потрібен вітер. Водночас на його корпусі-плавці за потреби можна плавати і в штиль.
У журналі «Моделіст-конструктор» якось згадувалося про використання корпусу у гребному варіанті: з дволопатевим байдарочним веслом або з простою парою весел (але в останньому випадку доводилося споруджувати легкознімну раму з сидінням і двома опорами під уключини).
Недавня стаття в журналі «Моделіст-конструктор» про швидкісний аквапед наштовхнула нас на думку зробити гребну приставку, яка дозволила б трансформувати корпус віндсерфера, що має чудову гідродинаміку, у зручний прогулянковий водний велосипед. Згодом ідею було реалізовано, і виявилося, що це не так уже й складно.

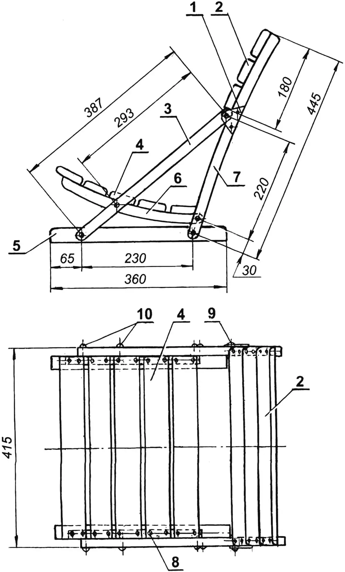
1 — корпус віндсерфера; 2 — гребне колесо; 3 — кіль; 4 — штуртроси; 5 — кермове перо; 6 — траверса кермового пристрою; 7 — сидіння; 8 — рама гребної приставки
Гребна приставка з колісним рушієм являє собою легку зварну металеву раму, на якій змонтовано педальний вузол з ведучою зірочкою та гребний вал із закріпленими на ньому гребними колесами і веденою зірочкою. Гребець розташовується безпосередньо за приставкою на лавці, зібраній із березових планок.
Рама приставки зібрана за допомогою зварювання зі сталевих труб квадратного і прямокутного перерізу. У передній частині закріплено вертикальну консоль із труби прямокутного перерізу, до якої приварено велосипедну каретку. Стик рами і консолі посилено двома трикутними сталевими косинками. Каретка оснащена стандартними велосипедними педалями та ведучою зірочкою.

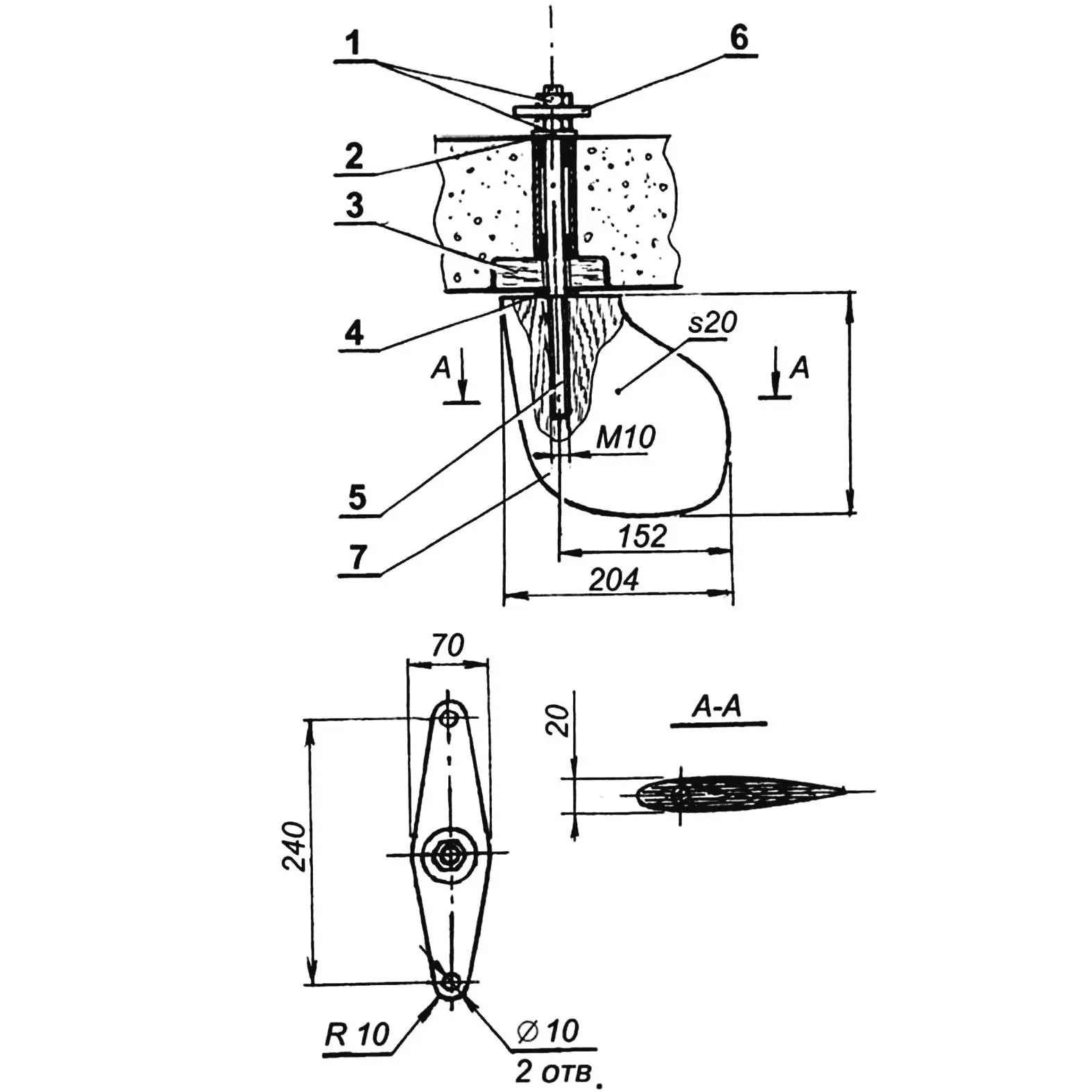
1 — кріплення траверси (гайки М10); 2 — шайба; 3 — вкладиш (березовий брусок); 4 — дистанційна шайба; 5 — кермовий вал (сталь, шпилька М10); 6 — траверса (дюралюміній, лист s3); 7 — кермове перо (фанера s20)
У середній частині рами встановлено дві підшипникові опори, в яких обертається гребний вал — корпус кожної опори являє собою відрізок труби діаметром 34×3 мм і довжиною 100 мм, а підшипники ковзання — фторопластові вкладиші. Гребний вал — це сталева труба 20×2,5 мм із змонтованою на ній веденою зірочкою. Остання складається з власне зірочки від дитячого велосипеда і привареної до неї сталевої втулки з внутрішнім діаметром 20 мм. На валу зірочка кріпиться за допомогою болта М6 з гайкою і пружинною шайбою.
Для забезпечення співвісності правої і лівої підшипникових опор їх монтаж на раму доцільно виконувати, вставивши в них гребний вал. Для цього слід спочатку лише прихопити корпуси, а потім, після виймання з них фторопластових втулок, остаточно приварити.

1 — педальний вузол (велосипедна каретка з педалями та зірочкою); 2 — лопать гребного колеса (береза, дошка 120×20); 3 — нижня частина рами (сталь, труба 30×30); 4 — консоль (сталь, труба 50×30); 5 — косинка (сталь, лист s2,5); 6 — ведена зірочка; 7 — фіксатор зірочки (болт М6 з гайкою і пружинною шайбою); 8 — кронштейн (сталь, смуга 30×3); 9 — корпус підшипникового вузла (сталь, труба 34×3); 10 — втулка ступиці гребного колеса (сталь, труба 34×3); 11 — щока ступиці (сталь, лист s2,5); 12 — кріплення лопаті колеса (шуруп-саморіз 4×30); 13 — вкладиш (фторопласт); 14 — втулка (дюралюміній); 15 — фіксатор гребного колеса (болт М6 з гайкою і пружинною шайбою); 16 — гребний вал (сталь, труба 20×2,5)
На кінцях валу змонтовано гребні колеса, кожне з яких складається з маточини та лопатей. Маточина зварна: вона зібрана з центральної втулки (труба 34×3 мм) і пари дисків, вирізаних із сталевого листа товщиною 2,5 мм. Лопаті дерев’яні — з березових дощечок перерізом 120×20 мм. До маточини лопаті кріпляться шурупами-саморізами — по чотири шурупи на кожну лопать. Перед складанням гребного колеса лопаті покриваються трьома шарами двокомпонентного паркетного лаку та яскравою автоемаллю, а маточини — перетворювачем іржі, ґрунтом і двома-трьома шарами автомобільної емалі.
Сидіння збирають із березових планок. Спершу готують рами сидіння і спинки: для цього до відповідних поздовжніх планок прикріплюють шурупами та епоксидним клеєм планки поперечин, після чого з цих вузлів за допомогою меблевих болтів і гайок збирають сидіння. У нижній частині сидіння закріплюються березові бруски основи. Облицювання сидіння складається з трьох шарів паркетного лаку.

1 — кронштейн (дюралюміній, лист s3); 2 — поперечна планка спинки (береза, рейка 60×20); 3 — підкос (береза, рейка 25×25); 4 — поперечна планка сидіння (береза, рейка 60×20); 5 — основа (брусок 30×30); 6 — рама сидіння (береза, рейка 50×25); 7 — рама спинки (береза, рейка 25×25); 8 — шуруп-саморіз (3×40); 9, 10 — болти М6 з гайками (10 компл.)
Сидіння та гребна приставка кріпляться до серфера за допомогою гвинтів, які ввертаються в заделані в оболонку човника дюралюмінієві різьбові втулки-дюбелі.
Для створення оптимальної курсової стійкості замість штатного шверта на серфер встановлюють невеликий кіль, вирізаний із 20-мм фанери.
Кермовий пристрій складається з фанерного кермового пера, насадженого на вал — сталеву шпильку діаметром 10 мм. Вал закріплюється в шарнірі — відрізку сталевої труби, вклеєному у задній частині корпуса віндсерфера, у місці розташування штатного плавника. Зверху і знизу в шарнірі встановлено фторопластові вкладиші. Кермове перо має добре обтічний симетричний профіль; після обробки ця деталь покривається трьома шарами паркетного лаку. Кермовий вал вклеюють у перо на епоксидному зв’язувальному. На верхньому кінці вала за допомогою двох гайок закріплюють траверсу — двоплечий важіль, за допомогою якого можна керувати серфером. Керування здійснюється найпростішим способом: за допомогою двох капронових штуртросів, заделаних на траверсі.
«Моделіст-конструктор» № 7’2005, І. СЕРГІЇВ
