Прочитав у вашому журналі, як можна розігрівати парою заморожені водоразбірні колонки. Згадав про інше застосування подібного пристрою — для обігріву людей у похідних умовах: в наметі, шалаші, під тентом на катері — адже багаття всередині не розпалиш. У цьому випадку може допомогти портативна система парового опалення, що складається з парогенератора (наприклад, чайника), шланга та металевої грілки-батареї (скажімо, каністри).
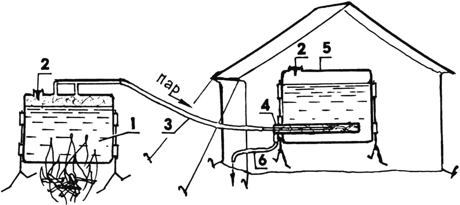
Як парогенератор («котел») та грілка можуть використовуватися й спеціально виготовлені плоскі металеві ємності на 8 — 12 літрів. У першої у верхній частині мається патрубок для приєднання шланга-паропроводу до нагрівальної трубки («змійовика») у нижній частині грілки, що розташовується в наметі. Горловина «котла» закривається нерізьбовою пробкою, яка виконує й роль запобіжного клапана, що підтримує безпечний тиск.
Похідне парове опалення:
1 — парогенератор («котел»); 2 — пробка-запобіжник; 3 — шланг-паропровід; 4 — нагрівальна трубка («змійовик»); 5 — грілка-батарея; 6 — відвідная трубка пароконденсату
Грілка в робочому стані заповнюється водою, яка нагрівається від труби-«змійовика». Грілка має велику теплову інерцію, що дозволяє при роботі системи робити перерви тривалістю до 1 години і більше. Під час цих перерв і сам парогенератор може бути внесений всередину і надалі використовуватися як додаткова грілка.
М. ЛАДЗІН
