Маючи в садовому будиночку піч (на вугіллі або дровах), цілком можливо забезпечити гарячою водою мийку на кухні і навіть душ. Знадобиться водонагрівач – пристрій, що дозволяє використовувати тепло гарячих газів, що виходять через димохід печі.
Конструкція і принцип роботи. Труба водонагрівача вбудовується в димохід якомога ближче до печі. Гаряча вода з неї надходить по трубах в металевий балон (наприклад, від вогнегасника), який має змійовик, з’єднаний з водопровідною мережею і з краном над мийкою. Вода, що заповнює балон, нагрівається від окропу, що надходить в змійовик нагрівача.
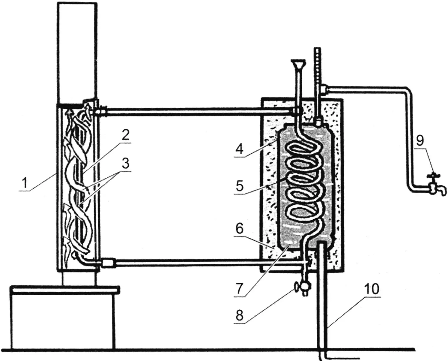
Принципова схема водогрійної установки:
1 – кожух нагрівача; 2 – коліно водонагрівача; 3 – пластини посилення нагріву труби; 4 – балон-акумулятор тепла; 5 – змійовик; 6 – теплоізолятор; 7 – підігрівана вода; 8 – зливний кран змійовика; 9 – витратний кран; 10 – водопровід
Виготовлення нагрівача. Коліно водопровідної труби в димоході має довжину приблизно 700 мм. Це основний елемент нагрівального пристрою, він має різьбу на обох кінцях для трубчастого з’єднання зі змійовиком. До цього коліна приварюються дві смуги з листового металу, яким надана форма спіралі з кількома витками навколо труби. Щоб полегшити згинання спіралі, можна зробити на ній поперечні надрізи ножицями по металу. З’єднання труби і спіралі має бути досить щільним, щоб досягти максимальної теплопровідності (відповідно до цієї вимоги має бути виконаний безперервний зварний шов). Ця частина водонагрівача закривається бляшаним кожухом у формі труби, з’єднаної з вихідним отвором топки печі і що становить нижній елемент димоходу. Для полегшення прочищення частина кожуха – знімна.

1 – піч; 2 – труба димоходу; 3 – кожух нагрівача; 4 – труби до змійовика; 5 – заливна горловина; 6 – термометр; 7 – короб-«термос»; 8 – труба до витратного крана; 9 – витратний кран; 10 – мийка; 11 – зливний кран змійовика; 12 – водопровід
Змійовик водонагрівача виконується окремо і вбудовується в балон так, щоб забезпечувалася можливість трубного з’єднання з нагрівачем в димоході. Сам балон під’єднується до водопроводу і до патрубка з термометром і витратним краном. У верхній частині змійовика знаходиться труба з воронкою для заливання води на випадок відсутності водопровідної підпитки. Балон заповнюється водою знизу від водопроводу (або від ємності з водою за відсутності центрального водопостачання). Інший відрізок труби (зверху) з’єднує балон з внутрішнім водопроводом – до мийки або душу. Витратний кран на його кінці здійснює постачання мийки гарячою водою.
Установка і користування. Балон в теплоізолюючому коробі кріпиться на стіні кухні якомога ближче до мийки і печі. Короткий з’єднувальний трубопровід дозволить уникнути зайвих тепловтрат. Дві труби від коліна нагрівача з’єднуються з балоном штатними трійниками. Якщо можливо, то бажано розташувати труби горизонтально для забезпечення нормальної циркуляції води в системі.
Важливий момент облаштування системи – збірка короба-«термоса». З фанери або дощечок товщиною 8-10 мм виготовляється кожух з отворами для проходження трубопроводів. Простір між балоном і кожухом заповнюється будь-якою теплоізоляцією – наприклад, скловатою.

1 – проставка димоходу; 2 – фіксуюча накладка; 3 – отвори для труб водонагрівача
Водонагрівач і змійовик при розтопці печі наповнюються водою. Вона заливається не до країв, щоб була можливість розширення її об’єму.
Коли балон під’єднаний до водопроводу, він знаходиться під тиском; і якщо в його системі опинився повітря – слід відкрити витратний кран біля мийки, щоб випустити повітря з труб.
Піч запалена, вода в нагрівачі починає циркулювати під впливом різниці температур на різних ділянках системи, нагріваючи воду в балоні. Гаряча вода з балона витрачається через кран біля мийки і автоматично замінюється холодною. Щоб циркуляція не переривалася, треба стежити за рівнем води в системі – він має бути завжди вище верхнього трійника балона.
«Моделіст-конструктор» № 3’2025, Борис ВОЛОДИМИРСЬКИЙ
