Зима в наших північних краях довга. Доріг не надто багато, та й ті не встигають прибирати від снігу. Ось і виходить, що без снігохідних машин людям тут обійтися непросто, тим більше, що часто доводиться їздити зовсім бездоріжжям (наприклад, у ліс по дрова) — просто по засипаній цілині. Однак придбання снігохода далеко не кожному по кишені, навіть не надто дорогого — вітчизняного. Тому тим, хто здатен зробити таку машину своїми руками, доводиться конструювати її за власним проектом — під ті деталі й агрегати, які є в умільця. Снігохід, про який ітиметься, у мене не перший (див. «Моделіст-конструктор» № 11 за 2004 р.).
На виготовлення другого снігохода мене надихнула старенька бензиномоторна пила «Урал», яка вже давно лежала без діла в гаражі через повне зношення шини та ланцюга.
Однак сам двигун був у порядку — я відремонтував його ще до «закладки» на зберігання. Редуктор також був справний. Ось ці два механізми я й вирішив використати в снігоході. У думках дозріла і конструкція, а точніше — компонування силового агрегату, та схема трансмісії. За можливості підбирав і запасав інші деталі й вузли: так, лижі вирішив пристосувати від дитячого снігоката, гусеницю — від старого снігохода «Буран».

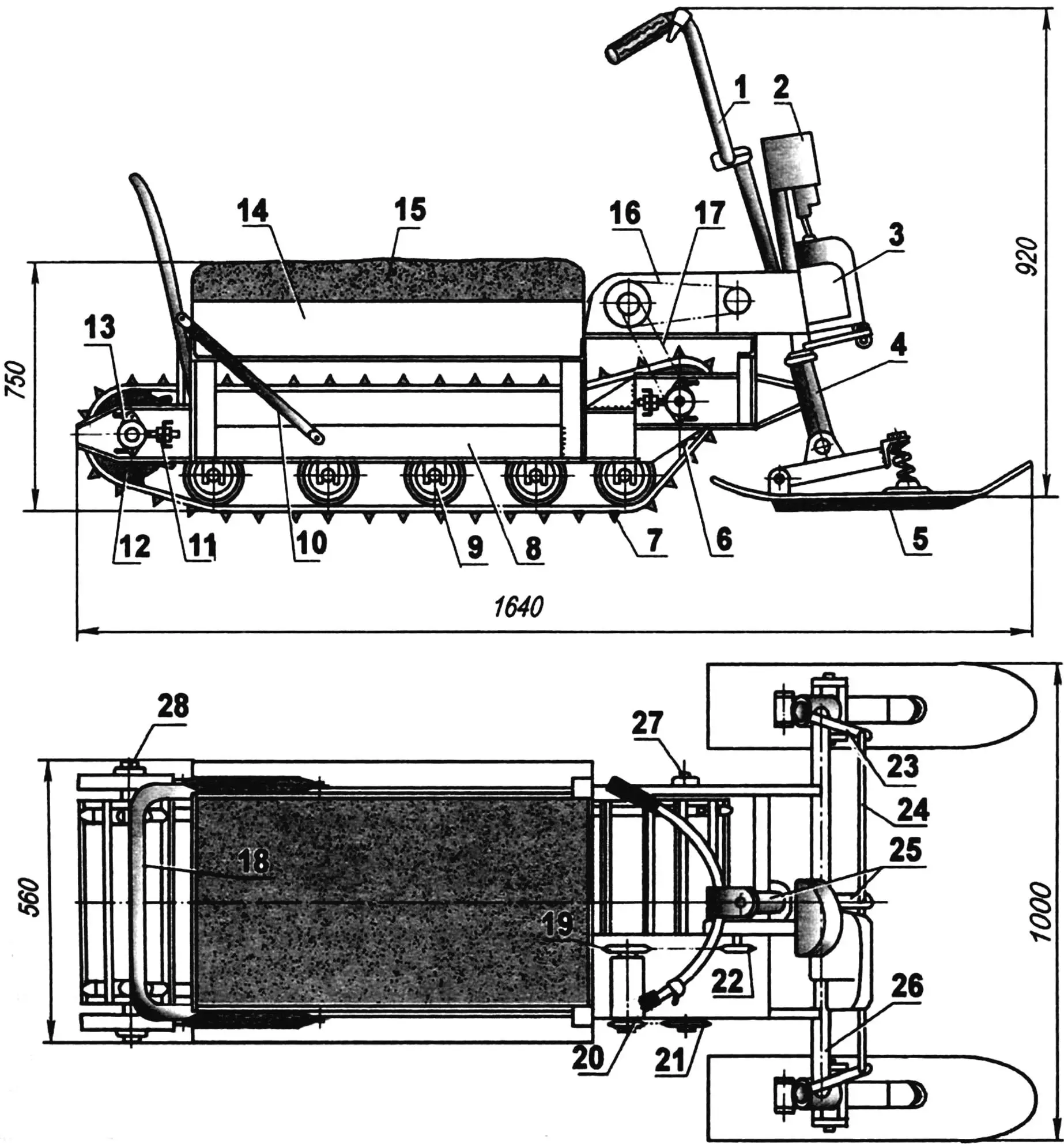
1 — кермо; 2 — паливний бак (від бензопили «Дружба»); 3 — силовий агрегат (від бензопили «Урал»); 4 — втулка стійки кермової лижі (труба Ø30, 2 шт.); 5 — кермова лижа (2 шт.); 6 — приводне зубчасте колесо гусениці (капрон, лист s15, 2 шт.); 7 — гусениця (від снігохода «Буран», укорочена); 8 — рама; 9 — опорний каток (від картоплесортувального агрегату, 18 шт.); 10 — підкос спинки-обмежувача (труба 16″); 11 — натяжний пристрій гусениці (2 шт.); 12 — натяжне зубчасте колесо гусениці (капрон, лист S15, 2 шт.); 13 — підшипник № 80204 у корпусі (4 шт.); 14 — короб-багажник (дно — фанера s4, бічні — дошка s20); 15 — сидіння (кришка—фанера s4, поролон, кожзамінник); 16 — 1-а ступінь ланцюгової передачі; 17 — 2-а ступінь ланцюгової передачі; 18 — спинка-обмежувач сидіння (труба 1/2″); 19 — ведена зірочка 1-ї ланцюгової передачі (велика зірочка хідозменшувача — проміжного вала), z = 38; 20 — ведуча зірочка 2-ї ступені ланцюгової передачі (мала зірочка хідозменшувача), z = 10; 21 — ведена зірочка 2-ї ступені ланцюгової передачі (зірочка привода ведучого вала гусениці), z = 18; 22 — ведуча зірочка 1-ї ступені ланцюгової передачі (зірочка вихідного вала редуктора), z = 12; 23 — важіль поворотного кулака; 24 — кермова тяга (2 шт.); 25 — кермовий вал із сошкою; 26 — балка переднього моста (труба Ø30); 27 — приводний вал гусениці; 28 — натяжна вісь гусениці
Спираючись на розміри основних вузлів і агрегатів, я почав проектувати задуману зимову машину. Хоча слово «проектувати» — мабуть, у цьому випадку надто гучно сказано. Радше це був процес попереднього прикидання взаємного розташування механізмів, бо жодних креслень та ескізів я не робив. Ті ж, що наведені в матеріалі, зробив уже за готовою конструкцією, щоб уявити снігохід читачам журналу: фотографії загального вигляду не дають повного уявлення про машину.
Розповідь про конструкцію снігохода почну з рами. Її основу, як, утім, і гусеничного блока, складають два зварні лонжерони. Середня частина кожного з них виконана зі сталевого кутика 50×36 мм, а передня й задня частини — зі сталевих пластин товщиною 2 мм з відігнутими на 90° краями (для жорсткості). У кожній з цих пластин виконані наскрізні пази-отвори: у передній — під приводний вал гусениці, а в задній — під вісь напрямних (і водночас натяжних) зубчастих коліс гусениці. При цьому натяжні пристрої змонтовано на обох кінцях лонжеронів. Передній пристрій служить для натягання 2-ї ступені ланцюгової передачі й водночас забезпечує регулювання натягу гусениці в ширших межах, ніж якби тільки один задній.

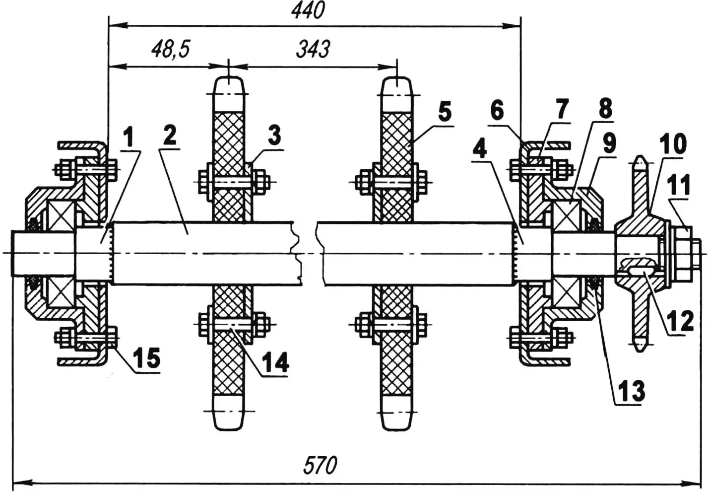
1 — задня частина лонжерона (сталевий лист s2, з відбортовками, 2 шт.); 2 — натяжний пристрій (4 шт.); 3 — задній портал (кутник 30×30); 4 — середня частина лонжерона (кутник 50×63, 2 шт.); 5 — кронштейн-вилка встановлення осі опорних котків (сталевий лист s2, 10 шт.); 6 — середній портал (кутник 30×30); 7 — площадка для кріплення редуктора силового агрегату та проміжного вала-хідозменшувача (сталевий лист s2); 8 — косинки (сталевий лист s2, 4 шт.); 9 — передній портал (кутник 30×30); 10 — передня складова частина лонжерона (сталевий лист s2 з відбортовками); 11 — вісь натяжних зубчастих коліс; 12 — натяжне зубчасте колесо гусениці (2 шт.); 13 — вісь опорних котків (сталь, круг 10, 5 шт.); 14 — кріплення осі (гайка М10 і пружинна шайба, 20 компл.); 15 — дистанційна втулка (дюралюмінієва труба); 16 — каток (18 шт.); 17 — підшипниковий вузол (4 шт.); 18 — приводне зубчасте колесо гусениці (2 шт.); 19 — приводний вал гусениці; 20 — приводна зірочка ведучого вала (ведена зірочка 2-ї ступені ланцюгової передачі), z = 18; 21 — втулка поворотного кулака кермової лижі (труба Ø30, 2 шт.); 22 — балка переднього моста (труба Ø30); 23 — косинки (4 шт.); 24 — підмоторна стійка (труба Ø30); 25 — бандаж котка (гумове кільце, 18 шт.)
Знизу до лонжеронів приварені через рівні проміжки кронштейни — в їхні відкриті з нижнього боку пази вставляються осі опорних котків. Самі котки розташовані на п’яти осях (по три або чотири штуки), причому по краях — на кожній, а по середині — у шаховому порядку.
Раз уже зайшла мова про опорні котки, зазначу, що їх тут загалом 18 штук і позичені вони від списаного картоплесортувального агрегату. Виготовлені катки з капрону й ще «взуті» в гумові шини.
Осі котків також узяті від сільськогосподарського агрегату — тільки іншого, картоплекопалки. Кінці осей довелося відпустити, щоб їх можна було проточити й нарізати тут різьбу М10. Між котками на осях надягнені дистанційні втулки з дюралюмінієвої труби відповідного діаметра. Самі осі в кронштейнах закріплюються з кожного боку гайкою і контргайкою. До цього можна додати, що кожна вісь додатково служить поперечиною рами, утримуючи лонжерони на певній відстані один від одного — адже інших фіксувальних елементів у середній і задній частинах лонжеронів немає.
До кожного лонжерона приварені по три стійки з сталевого кутика 30×30 мм, з’єднані такими ж поперечинами. Дві стійки та поперечина між ними утворюють невеликий портал. Між переднім і середнім порталом з правого боку зроблено майданчик зі сталевого 2-мм листа — на ньому згодом монтуються редуктор бензопили та проміжний вал ланцюгової передачі. Між середнім і заднім порталом влаштований доволі великий ящик, кришка якого служить сидінням, але про нього розповім пізніше.

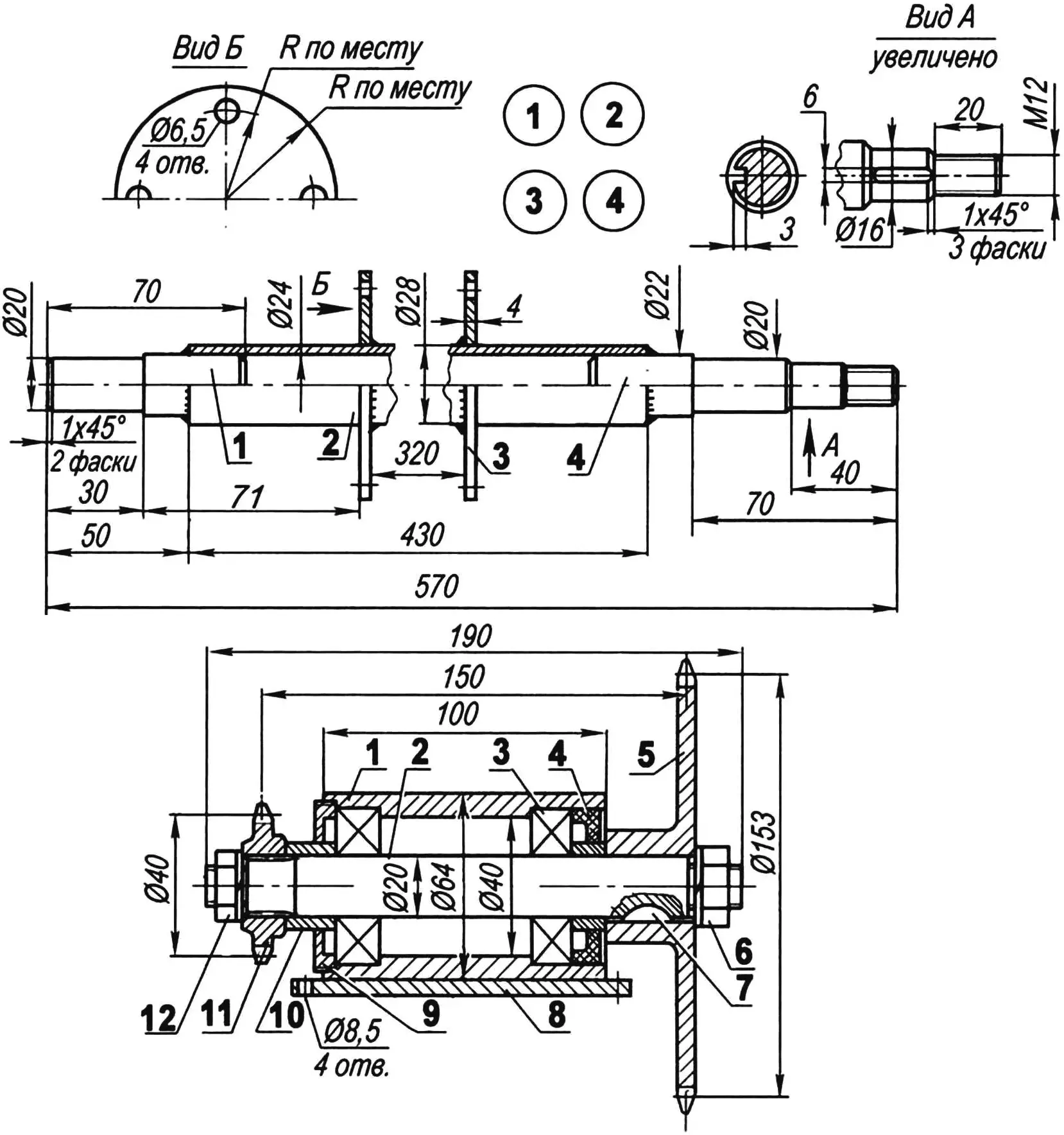
1 — корпус підшипників; 2 — вал; 3 — підшипник 80204 (2 шт.); 4 — сальник; 5 — велика зірочка z = 38; 6 — гайка М20 кріплення великої зірочки з пружинною шайбою; 7 — сегментна шпонка; 8 — основа корпуса; 9 — різьбова кришка М60; 10 — розпірна втулка (2 шт.); 11 — мала зірочка z = 10; 12 — гайка М14 кріплення малої зірочки з пружинною шайбою
Передні кінці лонжеронів приварені до поперечної балки (траверси) переднього моста (правда, мост один, бо заднього просто немає). Балка виконана зі сталевої водопровідної труби зовнішнім діаметром 32 мм. До її кінців приварені втулки кермових лиж, а посередині — стійка, що служить моторним підрамником. І втулка, і стійки виготовлені з тієї ж труби, що й сама балка. Місця з’єднання втулок і стійки з балкою посилені косинками, привареними зі сталевого 2-мм листа.
Як уже стало зрозуміло з сказаного вище, рушій снігохода — гусеничний. Гусеницю, як було зазначено раніше, використано від старенького «Бурану», але укорочено на пів метра й зшито відрізком транспортерної стрічки.
Зубчасті колеса гусениці, як приводні, так і натяжні, виготовлені з капронового листа товщиною 15 мм. Вирізані вони за принципом «за зразком і за подобою» зубчастих коліс від снігохода «Буран», одне з яких і було використано як шаблон.
Приводний вал гусениці — трубчастий (зовнішній діаметр 28 мм). На нього надягнені й приварені круглі фланці з отворами — до них і кріпляться зубчасті приводні колеса гусениці. По кінцях вала, в вихідні отвори труби, запресовані й прихоплені зварюванням суцільні наконечники-цапфи, проточені під підшипники 80204. При цьому правий наконечник трохи довший за лівий. На подовженні виконана шпонкова канавка для посадки тут веденої зірочки 2-ї ступені ланцюгової передачі (вона ж — приводна зірочка ведучого вала гусениці). Зірочка закріплюється гайкою М14 — для цього на самому кінці наконечника проточено торцеву бобишку, на якій виконано відповідну різьбу.

1 — лівий (за ходом) наконечник (сталь, круг 22); 2 — вал (сталь, труба Ø28×2); 3 — фланець кріплення зубчастого колеса до вала (сталевий лист s4, 2 шт.); 4 — правий (за ходом) наконечник вала (сталь, круг 29); 5 — зубчасте колесо привода гусениці (2 шт.); 6 — лонжерон рами (2 шт.); 7 — кришка корпуса підшипника (сталь, 2 шт.); 8 — підшипник 80204 (2 шт.); 9 — корпус підшипника (сталь, 2 шт.); 10 — приводна зірочка вала; 11 — кріплення зірочки на валу (гайка M12 із збільшеною та пружинною шайбами); 12 — шпонка (сталь 20); 13 — ущільнення (фетр, 2 шт.); 14 — кріплення зубчастого колеса до фланця вала (болт M8 із збільшеною та пружинною шайбою, 8 компл.); 15 — кріплення корпуса підшипника до лонжерона (болт M6 із пружинною шайбою, 4 компл.)
Натяжний вал гусениці точно такий самий, як і приводний, тільки обидва його наконечники однакові (як лівий наконечник приводного вала — без шпонкового паза та різьби). Однак валом я називаю його лише за подібністю, а за функцією — це вісь, оскільки через цей елемент не передається жодного крутного моменту.
Силовий агрегат — бензиновий мотор від пилки «Урал» разом із власною рамою змонтований на підмоторній стійці (на ній же зверху підвішений бензобак), привареній до поперечної балки. Редуктор бензопили розвернуто на 180° і закріплено на площадці, на якій встановлено ще «хідозменшувач» (так у нас у колі місцевих саморобників називають проміжний вал) двоступеневої ланцюгової передачі, з якої, власне, і складається вся трансмісія. Ведена зірочка 1-ї ступені передачі (велика зірочка проміжного вала) має 38 зубів, а ведуча зірочка 2-ї ступені (мала зірочка проміжного вала) — 10 зубів. Ланцюги обох ступенів однакові — такі самі, як у мотоциклів «Мінськ» або «Восход» — з кроком 15,875 мм.

1 — полоз (капрон, лист s20, від дитячого снігоката); 2 — пружина (нормально розтягнута, від заднього амортизатора мопеда); 3 — опорний підп’ятник пружини; 4 — підріз (дюралюмінієвий кутник 20×20); 5 — кришка пружини (кутник 35×35); 6 — кріплення пружини до кришки (болт M8 із шайбою); 7 — опорний важіль (труба 30×30); 8 — вушко кріплення стійки-вилки до важеля лижі (сталь, лист s2); 9 — вушко кріплення опорного важеля до лижі (сталь, лист s2); 10 — осі (болт M8, 2 шт.); 11 — стійка поворотного кулака (велосипедна рульова стійка з коронкою та частиною вилки); 12 — рульова сошка (сталь, лист s4); 13 — кріплення рульової сошки (гайка M16); 14 — кріплення підп’ятника пружини та вушка важеля до лижі (болт M5 із потайною головкою, 7 шт.); 15 — втулка важеля (сталева труба Ø30); 16 — підшипник ковзання (капронова втулка, 2 шт.); 17 — втулка стійки (сталева труба Ø30)
Керування складається з опорних кермових лиж, важелі яких з’єднані жорсткими тягами із сошкою кермового вала, тобто як на автомобілі. Сам же кермо — мотоциклетного типу, дворуківне. На ньому, поруч із правою рукояткою, змонтовано і важіль керування газом — манетку. Гальм у снігохода немає — він зупиняється швидко й сам — завдяки тертю в трансмісії та ходовій частині.
Потужність мотора невелика (5 к.с.), але все ж снігохід розвиває швидкість до 30 км/год по накатаному снігу, та ще й буксирує за собою лижника або сани з вантажем масою 70—80 кг.
При цьому маса самого снігохода ненабагато більша за 40 кг — тож його краще назвати мотонартами, що буде точніше. Витрата пального при цьому не перевищує 1 л на 6 км, хоча зазвичай його вистачає на 8 км. Чимало вантажу вміщується в ящику під сидінням: там зазвичай лежить 5-літрова каністра із запасом бензину (об’єм штатного бака — 2 л), комплект інструмента, сокира та інше спорядження.
Під час поїздок у ліс — на заготівлю дров або лісоматеріалів — у багажнику везу пильну шину й редуктор: сам бензомотор знімаю зі снігохода та встановлюю на пилу.
Стіни ящика під сидінням виготовлені з дощок-двадцяток, а дно — із чотирьохшарової фанери. Кришка ящика служить сидінням. Її виготовлено з 6-мм фанери, на яку накладено кілька шарів поролону, накритих кожзамінником. До стінок ящика кришка кріпиться на двох «картових» петлях і фіксується (замикається) оконним шпінгалетом. Кришка-сидіння відкидається назад, а задня дуга при цьому служить обмежувачем.
Двигун невибагливий і заводиться доволі легко навіть у 30-градусний мороз, тож машина вийшла по-справжньому зимова. Хоча їздити на ній у таку стужу ризиковано: легко й обморозитися — адже мотонарти-то відкриті.
«Моделист-конструктор» № 11’2007, А. СТАРЦЄВ
