Автолюбители, имеющие дачные или приусадебные участки, по весне дружно берутся за лопаты наравне с безавтомобильной частью человечества. Между тем, они вполне могли бы избежать столь непроизводительных расходов собственных физических усилий, переложив значительную их часть на свой автомобиль.
Любая легковушка может стать прекрасным пахарем — нужно лишь оснастить её парой несложных приспособлений.
В последние годы большую популярность среди самодеятельных конструкторов получили так называемые мотолебёдки — сельскохозяйственные агрегаты с мотоциклетным мотором. Ну а любой легковой автомобиль -это практически готовая лебёдка. Достаточно заменить одно из его ведущих колёс барабаном — и получится мощный почвообрабатывающий агрегат, способный сделать за вас значительную часть сельскохозяйственных работ. Ещё вам потребуются оснащённый парой якорей переносный шкив и, конечно, плуг.

1 — стойка; 2 — грядиль; 3 — полевая доска; 4 — ползун; 5 — отвал; 6 — лемех; 7 — бороздное колесо; 8 — полевое колесо; 9 — рукоятка
Автомобиль ставят неподалёку от обрабатываемого участка таким образом, чтобы с водительского места была видна вся делянка. Одно из задних колёс машины вывешивают с помощью домкрата и снимают, после чего под заднюю ось машины подставляют треногу с регулируемой опорой. Остальные колёса фиксируют надёжными колодками, обеспечивающими автомобилю неподвижность. В начале участка, там, где предполагается вспахать первую борозду, устанавливают переносный шкив, через который пропускают капроновый или стальной трос, и закрепляют его на раме плуга.

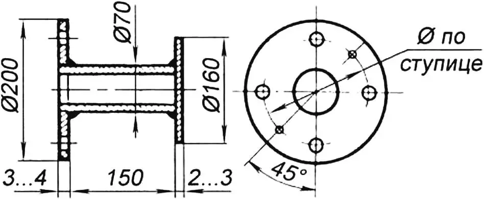
Дополнительное оборудование, превращающее легковушку в трудягу-пахаря, можно изготовить даже в условиях домашней мастерской. Так, барабан лебёдки можно сделать сварным. Плуг для автолебёдки лучше сделать по типу конного двухколёсного: он сам держит борозду, копируя при этом соседнюю, пройденную ранее. Интересна конструкция плуга, разработанная Г. Одеговым из Нижнего Тагила. Такой плуг рассчитан на пласт сечением 0,25×0,25 м, масса агрегата составляет всего 13 кг.

И ещё один элемент дополнительного оборудования, превращающего автомобиль в автолебёдку, — это переносный шкив с якорным устройством, предназначенный для изменения направления вектора тяги.


