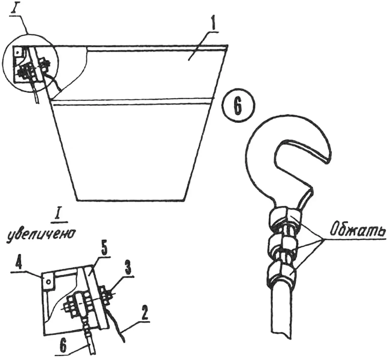
Оборудуя свою ванную под баню (см. «Моделист-конструктор» № 10 за 1997 год), решил сам изготовить мощный (3 — 3,5 кВт) и надежный нагреватель. Наиболее приемлемым мне показался электрокамелек в жестяном ведре с асбоцементной клеммной колодкой и латунными шпильками, закрытыми откидным металлическим кожухом (рис. 1). Но когда включил этот нагреватель в розетку, почувствовал запах гари.
Виной всему оказались плохо подпружиненный контакт и слабо затянутые клеммы. После того как упругие щечки в контактном гнезде были должным образом поджаты круглогубцами, а концы проводов в каждом клеммном зажиме тщательно зачищены, скручены, пропаяны и надежно стянуты винтом, розетка практически перестала греться, хотя мощность подсоединяемой к ней нагрузки составляла 3,5 кВт.
Следующая проблема — поиск оптимальной конструкции нагревательного элемента для камелька. Начал экспериментировать.

1 — ведро с камнями и электронагревателем; 2 — провод в термостойкой изоляции (2 шт.); 3 — шпилька М6 с тремя гайками (бронза или латунь); 4 — крышка откидная на оси (кровельное железо); 5 — колодка клеммная (асбоцементная плита); 6 — провод с клеммным крючком (2 шт.).
Сперва опробовал блинообразную конфорку на 1,5 кВт, выпускаемую отечественной промышленностью для бытовых электроплит. Установленная в камельке в единственном экземпляре, она смогла (за 15 часов!) прогреть баню-ванную лишь до 50°С. Тогда применил популярную среди самодельщиков комбинацию из двух совмещенных конфорок, включенных параллельно (рис. 2). И понял: такой нагреватель не для меня. Во-первых, потому, что запаса прочности у сдвоенных конфорок хватает лишь на 3 — 5 сеансов. Во-вторых, на изготовление комбинации уходит немало времени и сил. Ведь штатные клеммные колодки приходится удалять, как и металлические диски, на которых они крепятся. А в стандартной «реборде» каждой из конфорок — выпиливать выемку для выводов. К тому же дороговатым получается нагреватель, одни конфорки чего стоят! И это — в-третьих.

1 — электроконфорка (2 шт.); 2 — гайка М6; 3 — шпилька М6; 4 — вывод в изоляции из керамических бус (2 шт.).
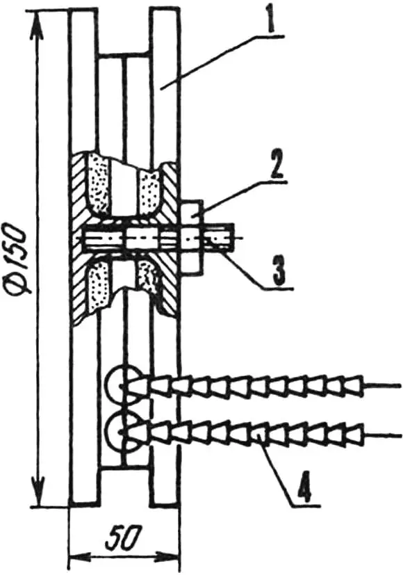
В поисках подходящей и более дешевой конструкции рассмотрел также вариант с самодельным нагревателем внутри 150-мм отрезка стальной трубы диаметром 100 мм и толщиной стенки 4 мм (рис. 3). Такой «самовар» удобен тем, что, сняв крышку, можно легко заменить перегоревший элемент. Единственный недостаток — быстро прогорает сам корпус даже из сверхтолстостенной стальной трубы.

1 — вывод в изоляции из керамических бус (2 шт.); 2 — крышка съемная (Ст3); 3 — спираль нагревателя нихромовая (потребляемая мощность 3 кВт); 4 — стакан шамотный; 5 — корпус (стальная труба 100×4, L146, проходные изоляторы условно не показаны); 6 — заглушка (Ст3, лист s4).
В конце концов пришел к выводу, что наилучшим нагревателем для сауны в ванной будет спираль из нихромовой проволоки диаметром 1 мм и длиной 10 м. Причем нихром я взял отожженный (у него зеленоватый оттенок и повышенная мягкость). Спираль намотал на стержень диаметром 10 мм и длиной 600 мм при помощи импровизированного станка из электродрели с регулятором оборотов (рис. 4).
Вместо спирали можно изготовить менее компактную «змейку». Выполняется она путем изгиба нихромового провода на простом, но эффективном приспособлении (рис. 5.).
Нихромовый нагреватель-спираль я растянул в длину до 3 м и равномерно уложил между камнями. Как свидетельствует практика, первое перегорание провода случается лишь после десяти сеансов самой интенсивной эксплуатации. Но срок этот можно продлить, соблюдая одно-единственное правило: не плескать воду на камелек до того, как отключенная от электросети спираль не перестанет светиться, на что уходит не более 15 мин.
Восстановить работоспособность нагревателя несложно. Технология простейшая: зачищают сращиваемые концы перегоревшей спирали, складывают вдвое и, зажав двумя пассатижами, скручивают.

1 — дрель с регулятором оборотов; 2 — нихром (проволока Ø 1); 3 — прокладка-направляющая (деревянный брус 100x50x20, 2 шт.); 4 — губки тисков; 5 — оправка (стальной пруток Ø 10).
После каждого такого соединения спираль, естественно, укорачивается. Значит, мощность нагревателя увеличивается. Например, за 32 банных сеанса она возросла (после нескольких вынужденных скруток) до критического значения — 3,7 кВт. При напряжении электропитания 220 В это грозит отключением сети автоматом защиты от перегрузок (такие устройства, рассчитанные на ток срабатывания 16 А, ставятся на вводе в каждую современную квартиру).
Что же делать в подобных ситуациях? Разумеется, отказываться от сауны на дому не стоит. Если нихром «генератора жара» еще в приличном состоянии, то можно понизить потребляемый ток, а следовательно, и мощность, включив последовательно с нагревателем диод типа Д132-80-10 на мощном теплоотводе-радиаторе.
Существует еще одно вполне приемлемое техническое решение: запитать потребляющую значительный ток спираль через оба 16-амперных автомата защиты. Надо лишь включить «генератор жара» в две параллельные розетки (каждая — от своего автомата защиты) при условии, что счетчик рассчитан на 30-40 А.

1 — доска деревянная; 2 — упор-направляющая (гвоздь без шляпки); 3 — нихром (проволока Ø 1).
Параллельно включать проще всего при помощи специального переходника-удлинителя с одной розеткой и двумя подсоединенными к ней штепсельными вилками. Втыкают одну вилку в розетку первого автомата — на второй появляется напряжение. Убедившись с помощью какого-либо индикатора или контрольной лампочки в правильности фазировки, вторую вилку включают в розетку другого автомата. В результате обе розетки оказываются соединенными параллельно.
Есть еще один, более безопасный способ — протянуть розетку от электрощитка (разумеется, через счетчик). Причем сечение провода в пересчете на медный должно быть не менее 2,5 мм2. Запитать такую розетку надо через автомат с током срабатывания 25 А.
Дело существенно облегчается, если в квартире установлена электроплита. Значит, уже есть розетка на 25 — 40 А. Убедившись, что напряжение в сети 220 В, а сечение проводов достаточное, подключают сюда и «генератор жара».
Для любителей экзотики могу предложить в качестве нагревателя… дверную пружину. Правда, подключать ее необходимо через трансформатор типа сварочного с принудительным охлаждением. Ведь сопротивление у такой пружины порядка 1 Ом. При напряжении 60 В по ней пойдет ток силой 60 А, то есть трансформатор будет отдавать в нагрузку 3,6 кВт, что и требуется.
«Моделист-конструктор» № 6’98, Л. ЛОБОВ


