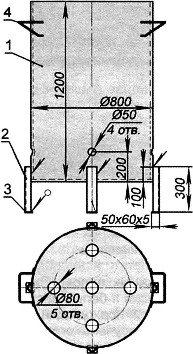
Сжигать мусор, ветки и траву на дачном или приусадебном участке можно, конечно, и на костре. Но гораздо удобнее, а главное — безопаснее делать это в специальной печке-«сжигалке».
Сделать её проще всего из обыкновенной 200-литровой бочки. Нужно лишь прожечь сваркой или пробить зубилом в боковых стенках четыре-пять прочистных отверстия диаметром 50 мм и столько же поддувальных диаметром 80 мм в днище. А из уголков длиной около 300 мм сделать и приварить три-четыре ножки с опорными пластинами снизу. Для удобства транспортировки вверху приварить пару диаметрально противоположно расположенных ручек.


