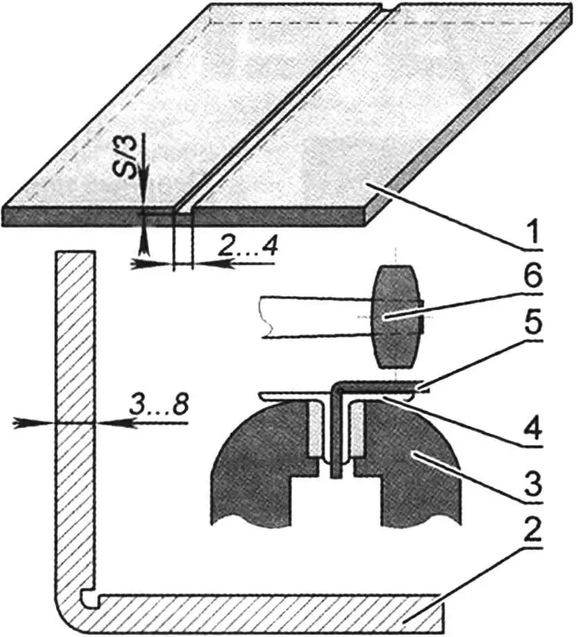
Заготовки из листового металла толщиной 3 — 5 мм будет точнее и легче загибать в домашних условиях, если их предварительно надрезать по линии сгиба с помощью болгарки (а если заготовка не очень длинная, то и ручной ножовкой) примерно на треть толщины листа. Да и радиус загиба будет гораздо меньшим.
Гнём «на холодную»:
1 — листовая заготовка с прорезью для загиба; 2 — готовая деталь после загиба; 3 — слесарные тиски; 4 — подкладные уголки; 5 — деталь при изготовлении; 6 — молоток (киянка)


