Кирпичная кладка всегда находится на всеобщем обозрении. Кирпич имеет правильную геометрическую форму, и на его фоне неравномерные растворные швы очень заметны и смотрятся некрасиво.
Выдержать же одинаковую толщину швов между всеми рядами кирпичей непросто даже профессиональному каменщику со стажем, не говоря уже о начинающем или «самостройщике».
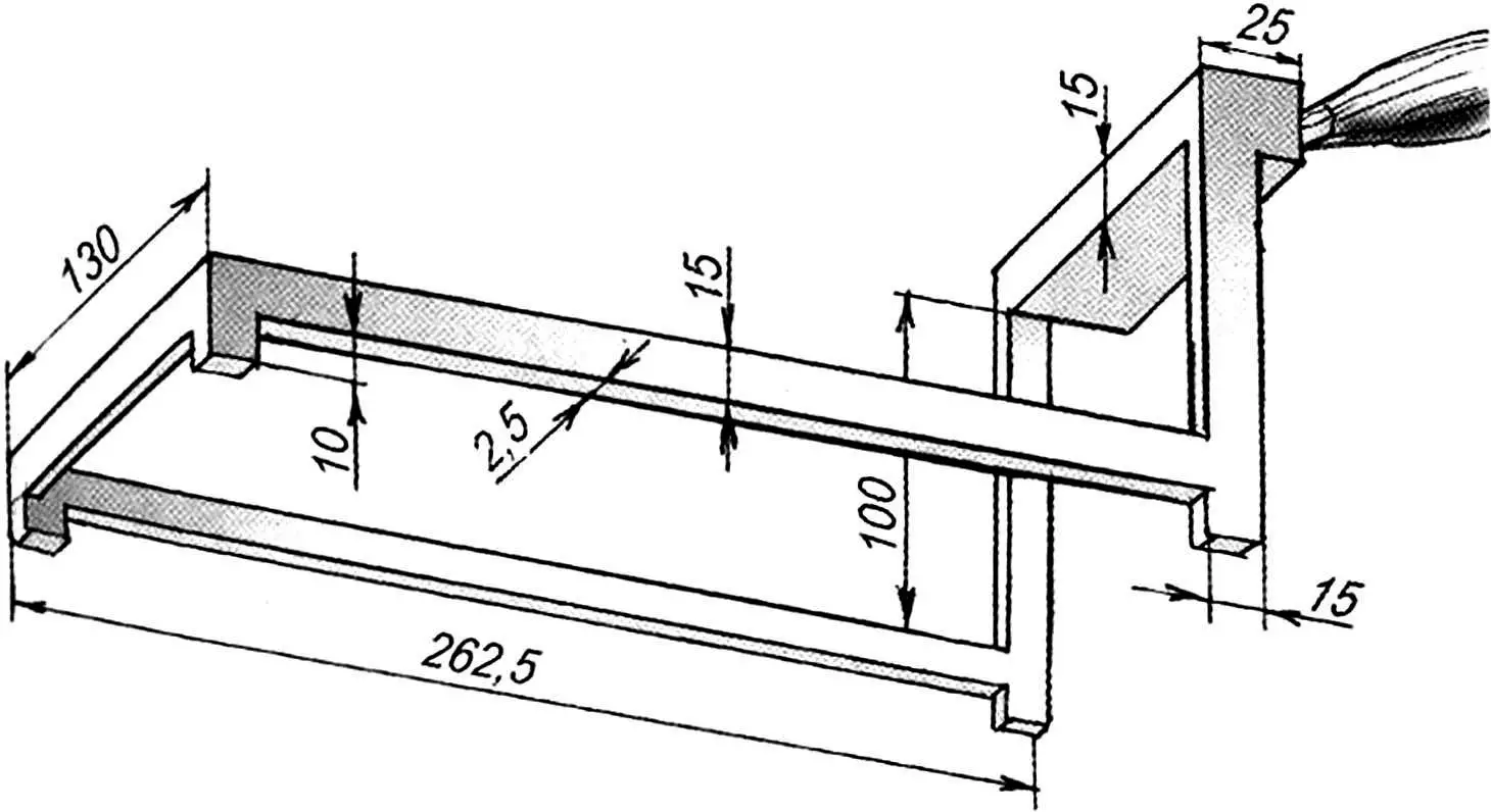
Между тем выход есть. Для этого надо изготовить несложное приспособление, подсмотренное мною в каком-то иностранном журнале и немного доработанное. Главная трудность при его изготовлении — сварка деталей, которые сами по себе очень простые — это стальные полосы сечением 2,5×15 мм, а потому конструкция понятна из чертежа и особых пояснений не требует.

Умышленно не указываю линии соединения (сварные швы) деталей приспособления — их может провести тот, кто захочет его изготовить так, как считает нужным (как ему будет проще расчленить на отдельные детали).
Размеры приспособления взяты применительно к стандартному кирпичу размерами 250x125x100 мм (длина х ширина х высота) и для толщины растворного слоя в 15 мм. Если используется камень высотой 65 мм (например, силикатный), то нужно уменьшить соответственно и высоту вертикальных деталей инструмента.
Это приспособление помогает выдержать ровность рядов даже без шнура, так как ориентирует укладку раствора относительно предыдущего кирпича — только надо следующий камень сориентировать аккуратно по линии раствора.
«Моделист-конструктор» № 5’2010, М. ГЛУХОВ, г. Саранск


