Народився й виріс я в тому краї, де земля більшу частину року під товстим сніговим покривом — не дарма ці місця вважають батьківщиною Діда Мороза. Мабуть, тому поряд із загальним інтересом до техніки особливу цікавість у мене завжди викликали снігохідні машини. Мати таку — з дитинства була моєю заповітною мрією. Коли ж я подорослішав і навчився багато робити своїми руками, вирішив виготовити власну конструкцію. На той час я вже не лише вивчив будову снігохідних машин, а й був здатний критично оцінити переваги та недоліки такої техніки.
Як це не дивно, але серійні гусеничні снігоходи, навіть імпортні й сучасні, погано пристосовані для їзди глибоким пухким снігом. Під час руху в таких умовах при нахилах або поворотах задня частина машини нерідко провалюється. Спроба вибратися, збільшивши оберти двигуна, зазвичай закінчується тим, що траки зариваються в сніг ще глибше. Після цього вирватися з снігового полону машині без сторонньої допомоги вже непросто. Це зрозуміло: чого лише варта власна маса — адже «кінь» майже весь сталевий. Тож у ліс, у яри після снігопадів і заметілей серійним снігоходам на самоті краще не лізти.
Свою ж машину я збирав з урахуванням того, щоб використовувати її навіть у таких складних умовах.

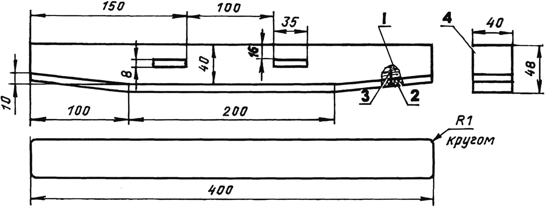
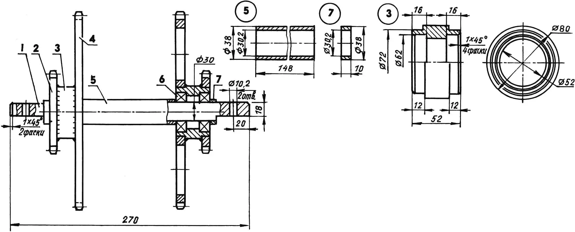
1 — стінка (дошки s45, 4 шт.); 2 — обшивка днища (дошка-вагонка s16); 3 — передній бампер (дошка s45); 4 — капот (фанера s3); 5 — фара (від трактора); 6 — кермо (від моторолера «Вятка-Електрон»); 7 — сидіння (від автомобіля ЛуАЗ, 2 шт.); 8 — бензобак; 9 — настил (дошка-вагонка s16); 10 — задній бампер (дошка s45); 11 — гусениця; 12 — двигун
Корпус снігохода зробив дерев’яним. Просто збив його з пиломатеріалів, наче човен. Основу корпуса складають чотири поздовжні стінки, виконані з деревини хвойних порід (ялина, сосна). Стінки зібрав із струганих до товщини 45 мм дощок-«п’ятдесяток». Швидше це були не дошки, а брус: їхня ширина лише трохи більша ніж удвічі перевищувала товщину. Збивав бруси цвяхами-двохсотками по крайках, прибиваючи кожний наступний брус до попереднього. Цвяхи трохи зміщував уздовж (уперед або назад), щоб верхній раптом не влучив у шляпку нижнього. Торці балок підпиляв за наміченими лекальними кривими. Крутизна кривої спереду менша, ніж ззаду.

1 — передній бампер (дошка s45); 2 — стінки (дошка s45, 4 шт.); 3 — передні заокруглення короба гусениці (дошка s45, 4 шт.) 4 — перемичка; 5 — черепний брусок короба гусениці (брус 45×45, 4 шт.); 6 — перемичка задніх заокруглень (дошка s45, 2 шт.); 7 — задні заокруглення короба гусениці (дошка s45, 8 шт.); 8 — задній бампер (дошка s45); 9 — монтажні бруски вузлів трансмісії (брус 45×45, 2 шт.); 10 — технологічні перемички задніх заокруглень (дошка s20, 4 шт.); 11 — упор настилу (брус 45×45, розрізаний уздовж по діагоналі); 12 — настил (дошка-вагонка s16); 13 — технологічна перемичка передніх заокруглень (дошка s20, 2 шт.)
Усі чотири стінки однакові й з’єднані між собою на торцях бамперами, а в середині зверху — перемичкою на всю ширину корпуса. Бампери виготовив із струганої дошки-«п’ятдесятки», перемичку — з «двадцятки». Але це ще не все. У багатьох місцях стінки з’єднані дошками обшивки попарно: зовнішні з найближчими внутрішніми, а внутрішні — між собою. Крім того, до стінок зсередини прибиті бруски (як їх називають будівельники, «черепні»), до них також пришиваються дошки (вагонка 16-міліметрової товщини) обшивки коробів гусениць (між крайніми та середніми стінками) і днища (між середніми). Весь цей поперечний набір дає корпусу достатню жорсткість без підкосів і розтяжок. За потреби такі додаткові елементи кріплення можна встановити там, де немає рухомих механізмів: усередині коробів гусениць, у передній і задній оконечностях машини. До корпуса можна віднести й ті елементи (стінки, перегородки), які прикривають ведучі зірочки гусениць, — щоб у цих місцях сніг не потрапляв у короби.

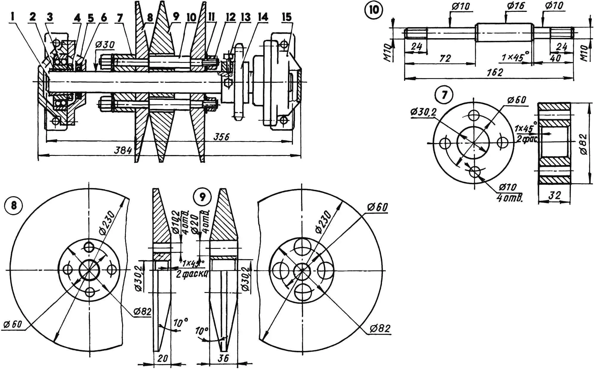
1 — силовий агрегат; 2 — зірочка вихідного вала силового агрегату (z = 20, t = 19,05); З — ланцюг між вузлами трансмісії (однорядний, t = 19,05, 5 шт.); 4 — вузол первинного вала варіатора; 5 — клинові паси варіатора (тип Г, 2 шт.); 6 — вузол вторинного вала варіатора; 7 — вузол проміжного вала; 8 — вузол приводного вала гусениці; 9 — гусениця; 10 — механізм натягування клинових пасів варіатора; 11 — нижня додаткова обшивка короба гусениці (поліетилен, лист s5); 12 — накладка (капрон, 20 шт.)
Вертикальні стінки коробів заокруглені, а нижні краї скошені, щоб гусениці легше заходили на невеликі перешкоди, які трапляються на шляху. Знизу короби додатково обшиті 5-міліметровим листовим поліетиленом. Листи до днища прикріплені шурупами впотай.
Попереду корпуса обшивка виконана як підлога в заглибленні для ніг водія та пасажира. Зверху над заглибленням встановлена дуга зі сталевого кутика 25×25. У нижній частині кутик розпрямлений у смугу, а смуга закріплена шурупами зовні до крайніх стінок. До дуги на болтах М4, а до бампера — цвяхами, прикріплено фанерний обтічник.
Обладнання снігохода навряд чи можна назвати навіть спартанським: два сидіння по боках — для водія й пасажира автомобіля ЛуАЗ — та моторолерне кермо з органами керування, та ще й фара: адже зимовий день короткий.
Гусеничний рушій у моїй машині дуже простий. У ньому немає притаманних цьому механізму опорних котків, лінивців тощо, немає навіть веденої зірочки.

1 — планка (березовий брусок 40×40); 2 — підошва (гума від клинового ременя s8); 3 — цвях L30 (8 шт.); 4 — ізоляція (склотканина на епоксидній смолі)
Гусеницю зробити нескладно. Траки (ґрунтозачіпи) виконані з березових брусків 40×40 мм. Щоб виключити намокання та підвищити зносостійкість, їх оклеєно тканиною на епоксидній смолі. До нижньої опорної поверхні траків прибиті підошви — відрізки клинового ременя (можна і транспортерної стрічки). У гусеницю траки об’єднані двома довгими вузькими ременями перерізом 35×8 мм, відрізаними від транспортерної стрічки. Ремені протягнуті в відповідні пази в траках. Траки розподілені по довжині ременів рівномірно, з інтервалом 216 мм, що дорівнює двом крокам зубців ведучої зірочки, і прибиті цвяхами.
Забігаючи наперед, скажу: експлуатація показала, що коли гусениця обкатує заокруглення переднього короба, ремені зачіпають і труть обшивку. Тому довелося між траками до ременів з внутрішнього їхнього боку прибити парою цвяхів із захованими головками капронові накладки, виконані у формі сегментів. Цвяхи тонкі, але довгі: їхні кінці, що вийшли з зовнішнього боку ременя, загнув дужкою й знову вбив у ремінь.
Готову, але ще роз’єднану гусеницю надівають на короб: кінці ременів у місці стику підрізають «на довгий язичок» і з’єднують цвяхами, забиваючи наскрізь дужкою. Щоб не ускладнювати конструкцію, механізму натягування гусениць не робив, залишивши це «на потім», але за час експлуатації він так і не знадобився.

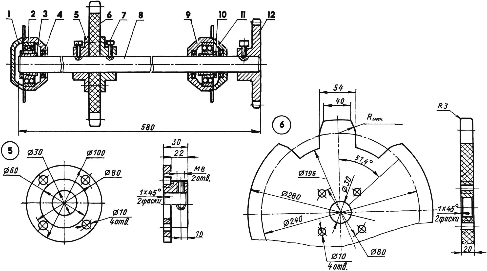
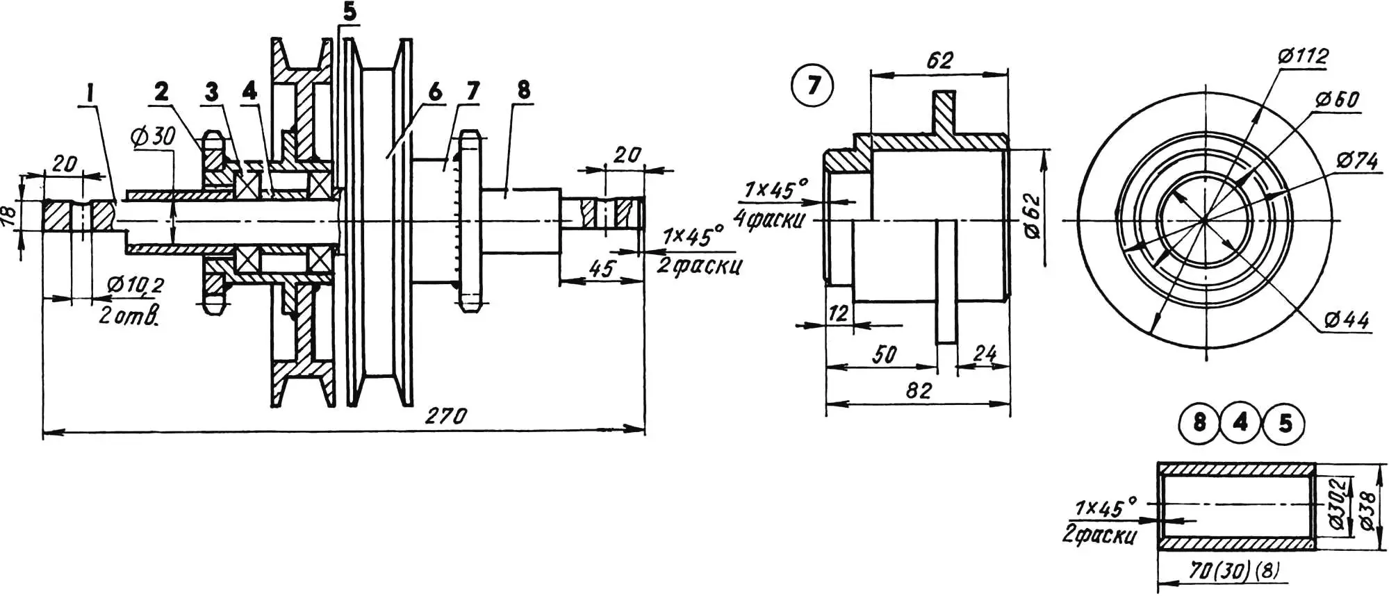
1 — глуха кришка корпуса підшипника; 2 — підшипник 11206 (2 шт.); 3 — клинова втулка (2 шт.); 4 — манжета (3 шт.); 5 — щока зірочки гусениці (сталь, коло 100, 2 шт.); 6 — ведуча зірочка гусениці (капрон, лист s20); 7 — стопорний гвинт М8 (6 шт.); 8 — вал (сталь, коло 30); 9 — корпус підшипника (2 шт.); 10 — затяжна гайка M18x0,75 (2 шт.); 11 — кришка з отвором корпуса підшипника; 12 — ведуча зірочка вала (z6 = 24, t = 19,05)
Гусеницю в рух приводить ведуча зірочка. У зірочки 7 зубців, а кількість траків (ґрунтозачіпів) гусениці — 21. Крок траків такий, що вони йдуть через один зуб, тобто через кожен оберт зірочки в роботу вступають то одні зубці, то сусідні. Такий варіант виконання зірочки значно підвищує її ресурс, а також залишає можливість збільшити кількість траків на гусениці вдвічі.
Силовий агрегат (двигун із коробкою передач) — від моторолера «Вятка-Електрон». Він має власну примусову систему повітряного охолодження. Тому встановив його в центральному відсіку корпуса між сидіннями за передньою обшивкою. На снігоході використав без будь-яких переробок. Лише подовжив важіль кікстартера і змінив його положення.

1 — ролик (капрон); 2 — стопорна шайба; 3 — вісь ролика; 4 — дистанційна втулка (сталь, труба 25×2,5); 5 — шатун; 6 — підшипник 204; 7 — вісь важеля; 8 — важіль (від сільгосптехніки)
Трансмісія снігохода, хоча й проста, але не зовсім звичайна, а може, навіть оригінальна. Окрім передачі й зміни крутного моменту, вона одночасно слугує для повороту машини в русі. Та про це трохи згодом, коли мова піде про кермове керування.
Крутний момент із вихідного вала силового агрегату через ланцюгову передачу з передатним числом i1 = 0,8 передається на первинний вал варіатора з розсувними шківами, а далі на жорсткі (нерозсувні) шківи вторинного вала через клинові ремені. Ще на вторинному валу по різні боки від шківів закріплені дві ведучі зірочки ланцюгової передачі (знижувальної) другої ступені до проміжного вала (передатне число i2 = 3,125). Інша знижувальна ланцюгова передача третьої ступені (передатне число i3 = 1,5) передає крутний момент на приводний вал із гусеничною зірочкою. В результаті передатне відношення всіх ланцюгів трансмісії становить 3,75. Зазначена кількість зубців на зірочках у ланцюгових передачах не так уже й важлива — головне, щоб ви підібрали те, що вийде витримати (хоча б приблизно) загальне передатне відношення трансмісії. Вважаю, що для такої машини воно оптимальне: велика швидкість їй не потрібна, 15—20 км цілком достатньо, а тяга така, що вона здатна везти значний вантаж — одночасно на снігохід сідало до десятка хлопців.

1 — вал (сталь); 2 — клинова втулка (2 шт.); 3 — підшипник 11206 (2 шт.); 4 — стопорна гайка M18x0,75 (2 шт.); 5 — кришка корпуса підшипника (2 шт.); 6 — манжета (2 шт.); 7 — втулка-фланець (сталь, коло 82); 8 — нерухома щока шківа варіатора (сталь, коло 230, 2 шт.); 9 — рухома щока шківа варіатора (сталь, коло 230); 10 — шпилька М10 (сталь, коло 16, 2 шт.); 11 — пружинна шайба (8 шт.); 12 — гайка М10 (8 шт.); 13 — стопорний гвинт М8 (2 шт.); 14 — ланцюгова зірочка z2=l 6, t=19,05; 15 — корпус підшипника з опорною площадкою (2 шт.)

1 — вісь (сталь, коло 30); 2 — зірочка z=16, t=19,05 (2 шт.); 3 — підшипник 206 (4 шт.); 4 — середня розпірна втулка (L30, 2 шт.); 5 — мала розпірна втулка (L8); 6 — шків (2 шт.); 7 — вал-ступиця (сталь, коло 112, 2 шт.); 8 — велика розпірна втулка (L70, 2 шт.)

1 — вісь (сталь, коло 30); 2 — мала зірочка (z5=16, t=19,05, 2 шт.); 3 — вал-ступиця (сталь, коло 80, 2 шт.); 4 — велика зірочка (z = 50, t = 19,05, 2 шт.); 5 — велика розпірна втулка (сталь, труба 38×4); 6 — підшипник 206 (4 шт.); 7 — мала розпірна втулка (сталь, труба 38×4, 2 шт.)
Усі вузли трансмісії, крім приводних зірочок гусениць, розташовані в центральному відсіку корпуса. Зверху вони закриті щитами настилу з тих самих дощок, що й вся обшивка, і доступ до них здійснюється безперешкодно.
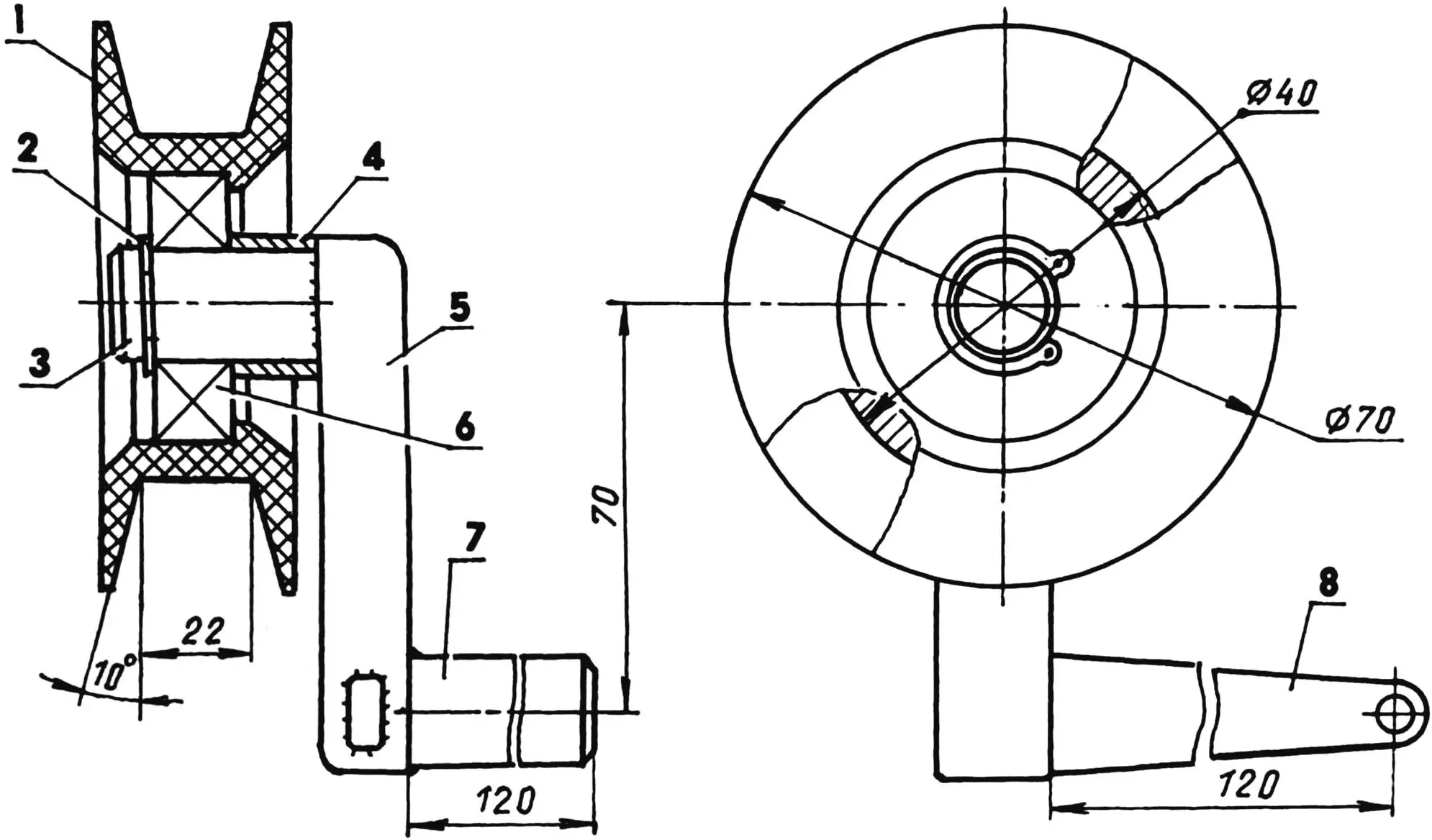
Кермо керування снігоходом оригінальне. Воно поєднує в собі особливості керування мотоциклом (кермо), автомобілем (рульові тяги та важелі) і трактором (сповільнення та прискорення руху гусениць на протилежних бортах). Водночас керування дуже просте. З бокового сповільнення та прискорення руху гусениць керує варіатор із двома клиновими ременями. Під час повороту керма через тяги й механізми натягування здійснюється додаткове натягування одного ременя й ослаблення іншого. У результаті один ремінь заглиблюється в рухомий шків, а другий піднімається на сусідному шківі на більший діаметр. При цьому кількість обертів на одному жорсткому шківі збільшується, а на іншому — зменшується. Далі це передається через трансмісію на гусениці — і снігохід повертає.

1 — кермо; 2 — поперечна тяга; 3 — коромисло; 4 — поздовжня тяга (2 шт.); 5 — пружина (2 шт.); 6 — обмежувальний тросик (2 шт.); 7 — рухомий шків варіатора (2 шт.); 8 — механізм натягування (2 шт.); 9 — ведений шків варіатора (2 шт.); 10 — клиновий ремінь (2 шт.)
Під час руху прямо машина не «рихає». Кілька разів (і з цікавості, і за потреби) на малій швидкості відпускав снігохід у «вільне плавання»: поставивши кермо в положення «прямо» і злегка відкривши дросельну заслінку карбюратора, потім відпускав його і навіть перебирався на платформу або ж ішов поруч із снігоходом — машина рухалася рівномірно й нікуди не звертала.
Снігохід такої конструкції не заривається в пухкий глибокий сніг і виходить із таких «топей» на малому «газу» (при невеликих обертах двигуна), не перевантажує слабке місце трансмісії — варіатор із клиноремінною передачею: ремені не прослизають.
«Моделист-конструктор» № 1’2005, В. СЕМЕНОВ
