Будучи виконаним акуратно, такий стіл, незважаючи на досить просту конструкцію, може прикрасити не лише сільський будинок або дачу, але й міську квартиру. Тим більше що зараз багато домашніх умільців, виготовляючи меблі своїми руками, прагнуть відійти від одноманітності промислових зразків, наприклад, при оформленні обіднього куточка на кухні.
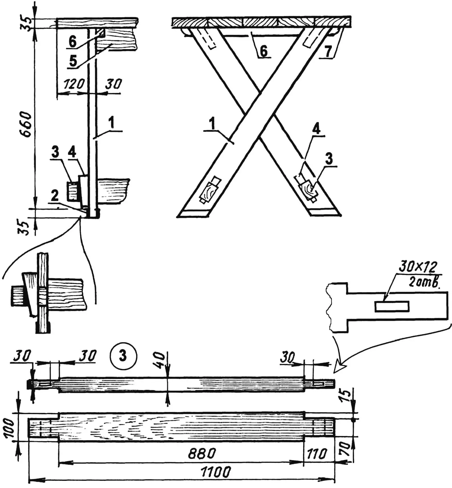
Стилізований дощатий стіл:
1 — хрестоподібні опори-ніжки (дошка 90×30, 4 шт.); 2 — щічки-розширювачі опори; 3 — нижня розпірка (дошка 100×40); 4 — клин розпірної дошки; 5 — верхня розпірка (дошка 130×40); 6 — поперечина стільниці (брусок 40×40, 2 шт.); 7 — стільниця (дошка s35)
Особливість розглянутого варіанту полягає в тому, що він може бути виконаний по-різному, відповідно до бажань майстра, оскільки надає можливість по-своєму вирішувати як стільницю, так і підстільну частину: з меншою або більшою декоративністю та ступенем стійкості, а також «капітальністю» самої збірки, залежно від конкретного призначення столу — в якості постійного предмета інтер’єру чи розбірного перевозного (скажімо, на дачу на літній період).
СТІЛЬНИЦЯ
Найпростіший і доступний, але в той же час і найбільш естетично ефектний варіант виконання стільниці — збірно-щитовий. Гладко вистругані, ретельно відшліфовані дошки товщиною до 35 мм сплачуються в щільно підігнаний щит на основі двох поперечних брусків перерізом 40×40 мм, з кріпленням останніх на цвяхах (або шурупах), вбиваних з боку брусків так, щоб вістря не виходили на лицьову сторону стільниці.
У випадку, якщо буде обрано інше рішення і стільницею послужить меблевий щит, лист товстої фанери або просто ДСП — все одно знизу необхідно буде кріпити згадані поперечні бруски, оскільки вони є ще й зв’язуючим елементом між стільницею та опорним підстіллям.
ПІДСТІЛЛЯ
Особливістю розглянутої конструкції столу є й варіантність рішення його опорної частини. Тут немає ніжок у їх традиційному сучасному розумінні (що, між іншим, спрощує конструкцію). Їх роль виконують Х-подібні або щитові (залежно від переваги виконавця) опори.
Перший варіант виконується з дощок перерізом 90×30 мм. У місцях перехрестя кожної пари опор обидві дошки мають зустрічні пази вполдерева. У нерозбірному варіанті ці місця додатково скріплюються шурупами.

У верхній частині Х-опори кріпляться до поперечних брусків стільниці (також шурупами або меблевими гвинтами з барашковими гайками — у розбірному варіанті). У цих же місцях з поперечними брусками стикуються розпірні дошки підстілля, що мають відповідні вирізи під бруски; кріплення — у вигляді шурупів, вкручуваних через дошки Х-опор. Така ж пара розпірних дощок є й внизу Х-опор, кріплення до яких здійснюється завдяки подовженим шипам з отворами, що проходять через відповідні вікна в дошках опор і фіксуються дерев’яними клинами. Самі опори в нижній частині можуть мати щічки-розширювачі з накладних планок.
У розбірному варіанті замість верхніх розпірних дощок може використовуватися одна центральна, що з’єднує місця перехрестя опор (через відповідні вікна в них), з тим же клиновим кріпленням, що й у нижній частині.
Як вже говорилося, опорна частина столу може бути й щитовою, прикрашеною фігурними вирізами, форма яких залежатиме від фантазії виконавця (вирізи ще й дещо полегшать конструкцію). Матеріалом можуть послужити готові меблеві щити або ДСП, а також дощаті щити, сплочені за аналогією зі щитом стільниці.
Щитові опори також кріпляться до поперечних брусків стільниці (теж шурупами або меблевими гвинтами з барашковими гайками) і мають свої розпірні дошки. У цьому випадку їх достатньо дві: по одній у центральній та нижній частинах, з тим же клиновим кріпленням.
ОБРОБКА
Вона може виконуватися й після остаточної збірки, але краще подбати про неї відразу після заготовки всіх деталей: це й зручніше, і результат буде більш якісний. Адже й промислові зразки зараз поставляються нерідко в наборах з готових деталей з виконаною обробкою кожної (та ще й обережно упакованою, щоб не пошкодити поверхню).
Заготовки з меблевих щитів практично не потребують доробки, крім обклейки або фарбування пиляних кромок. А ось деталі з ДСП не лише з естетичних, але й екологічних міркувань обов’язково фарбуються в кілька шарів емалевими або нітрофарбами.

Особливо ефектною може бути обробка столу з чисто дощатих елементів — і стільниці, і підстілля. Дерево часто має природну красиву текстуру, яку іноді достатньо лише трохи підкреслити за допомогою ретельної шліфування, в іншому випадку — посилити обробкою морилкою.
Остаточна обробка в цьому випадку передбачає просте натирання будь-якою наявною восковою мастикою для меблів або ретельну полірування з подальшим покриттям лаком (на вибір прозорим або темним) у кілька шарів з ретельною проміжною сушкою та шліфуванням.
