Зимой фермерам, как и другим владельцам автотракторной техники, немало хлопот доставляет дизельное топливо. При низких температурах оно становится густым, содержащийся в нем парафин кристаллизируется. А это грозит быстрым засорением фильтров и прекращением подачи топлива из бака. В результате запуск дизелей и эксплуатация машин превращаются порой в мучительную проблему, решить которую пытаются применением широко разрекламированных дорогих присадок, подчас оказывающихся, к сожалению, неэффективными.
Иные из доверчивых и торопливых обращаются к «рецептам бывалых», но… Применение «спасительных» бензина и керосина в качестве присадок снижает ресурс работы двигателей, а внешний факельный прогрев топливной системы запрещен правилами техники безопасности.
Более осмотрительные решаются на разогрев самого топлива (до температуры, при которой кристаллы парафина исчезают) при помощи особых технических систем, основным источником тепла в которых являются, как правило, электрические нагреватели постоянной мощности. Однако типовые электронагреватели в предпусковом режиме заметно «сажают» аккумуляторы и к тому же имеют ненадежные, дорогостоящие устройства управления и защиты, нуждающиеся в спецобслуживании.

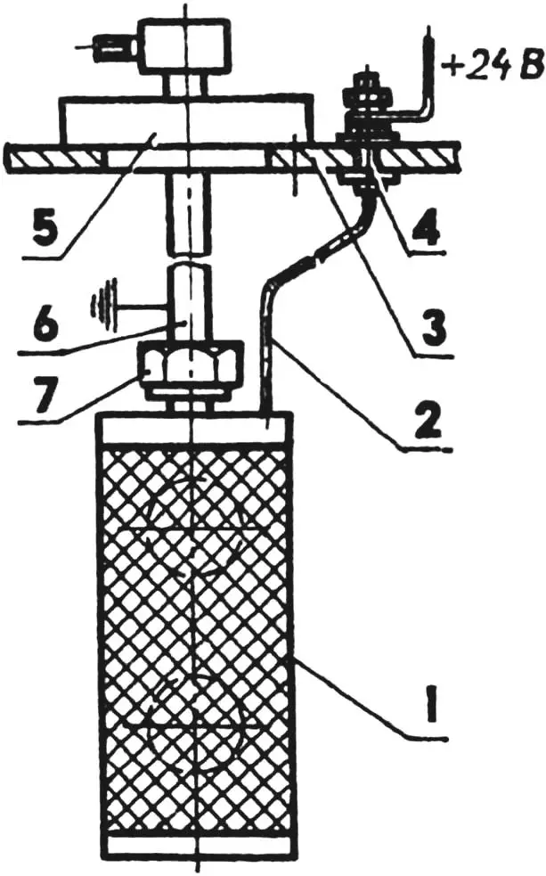
1 — подогреватель; 2 — прокладка; 3 — винт; 4 — крышка фильтра; 5,6 — уплотнительные прокладки; 7 — корпус фильтра; 8 — провода
Перечисленные недостатки отсутствуют у современных и компактных (размещаются непосредственно в баках и фильтрах двигателей автомобилей и тракторов) позисторных подогревателей дизельного топлива — ППДТ, созданных на базе полупроводниковых терморезисторов с положительным температурным коэффициентом сопротивления (о позисторах см. «Моделист-конструктор» № 11 за 1999 г.).
Аналогичные подогреватели применялись ранее только в спецтехнике (прежде всего космической). Не имея движущихся узлов и сложных систем управления, эти устройства обладают уникальным свойством саморегулирования и обеспечивают прогрев топлива до необходимой температуры в течение нескольких минут. Ресурс их непрерывной работы — более 10 000 часов.

1 — топливный бак; 2 — дизельное топливо; 3 — подогреватель в баке; 4 — фильтр грубой очистки; 5 — фильтры тонкой очистки; 6 — подогреватели в фильтрах тонкой очистки; 7 — кнопка и индикатор на щитке приборов
О высокой экономичности ППДТ свидетельствует тот факт, что потребляемая ими мощность (при установке в фильтрах тонкой и грубой очистки, а также в топливном баке автомобиля «Бычок») не превышает 300 Вт при напряжении 12 В. Это вполне приемлемо для эксплуатации машины при нормально заряженных аккумуляторах. Причем время, затрачиваемое на прогрев топлива с использованием ППДТ, не превышает пяти минут.
Установить отечественный ППДТ может без специального обучения любой слесарь-электрик по обслуживанию автотракторной техники. Особенно — в фильтр очистки топлива (рис. 1), чему в немалой степени способствует сама конструкция подогревателя, в металлический корпус которого удачно встроены полупроводниковые нагревательные элементы, подсоединяемые к электрической системе автомобиля через пусковое реле. Устанавливая такой ППДТ, между крышкой фильтра и корпусом используют уплотнительные прокладки с последующим стягиванием удлиненным винтом (входит в комплект поставки), снабжаемым специальной прокладкой.

1 — подогреватель; 2 — провод; 3 — стенка бака; 4 — изолятор; 5 — фланец; 6 — всасывающий патрубок; 7 — гайка
Столь же простой оказывается типовая установка ППДТ в топливном баке машины или трактора (рис. 2), где подогреватель представляет собой алюминиевый цилиндр (сетку), в который встроено от одного до шести элементов, в зависимости от емкости бака и расхода топлива.
В таком автомобиле, как КамАЗ, позисторных подогревателей рекомендуется размещать несколько (рис. 3). И алгоритм их использования сводится тогда к легко запоминающейся последовательности несложных действий.
Прежде чем запускать дизельный двигатель, включают подогреватели топлива в баке, причем на постоянный режим работы.
Перегрев практически исключается благодаря уникальному свойству позисторного подогревателя — способности к саморегулированию. Его полупроводниковые элементы постепенно «запираются», уменьшая при этом потребление тока до нуля. ППДТ в фильтре тонкой очистки тоже включают на 2—3 мин или на постоянное использование.

а — рядом с фильтром; б — на конце фильтра; в — на всасывающем патрубке; г — на патрубке с накидной гайкой;
1 — подогреватель; 2 — провод; 3 — изолятор
Дизелю дают поработать на холостом ходу при повышенной частоте вращения коленвала. После того, как двигатель выйдет на нормальный режим, подогреватели сами постепенно прекращают подогрев топлива или их можно отключить.
Ну а если вдруг возникнет ситуация, когда мощность двигателя начнет падать из-за парафинирования топлива, следует тут же снова включить подогреватели из кабины машины до восстановления нормальной работы дизеля.
Установите на свою автотракторную технику позисторные подогреватели дизельного топлива! Затраты окупятся.
В. ИСАКОВ, В. ТОЧИЛИН


