Лобзик является распространенным инструментом. Однако при работе с ним ребята подчас сталкиваются с определенными трудностями: пилка ломается, выскакивает из зажимов, при пропиле по криволинейному контуру часто перекручивается, что мешает выдерживать необходимое направление.
Гораздо удобнее пользоваться электротепловым лобзиком, который позволяет вырезать детали любой формы как из фанеры (древесины), так и из органического стекла, эбонита и других горючих или плавящихся материалов. При этом повышается удобство и качество работы.
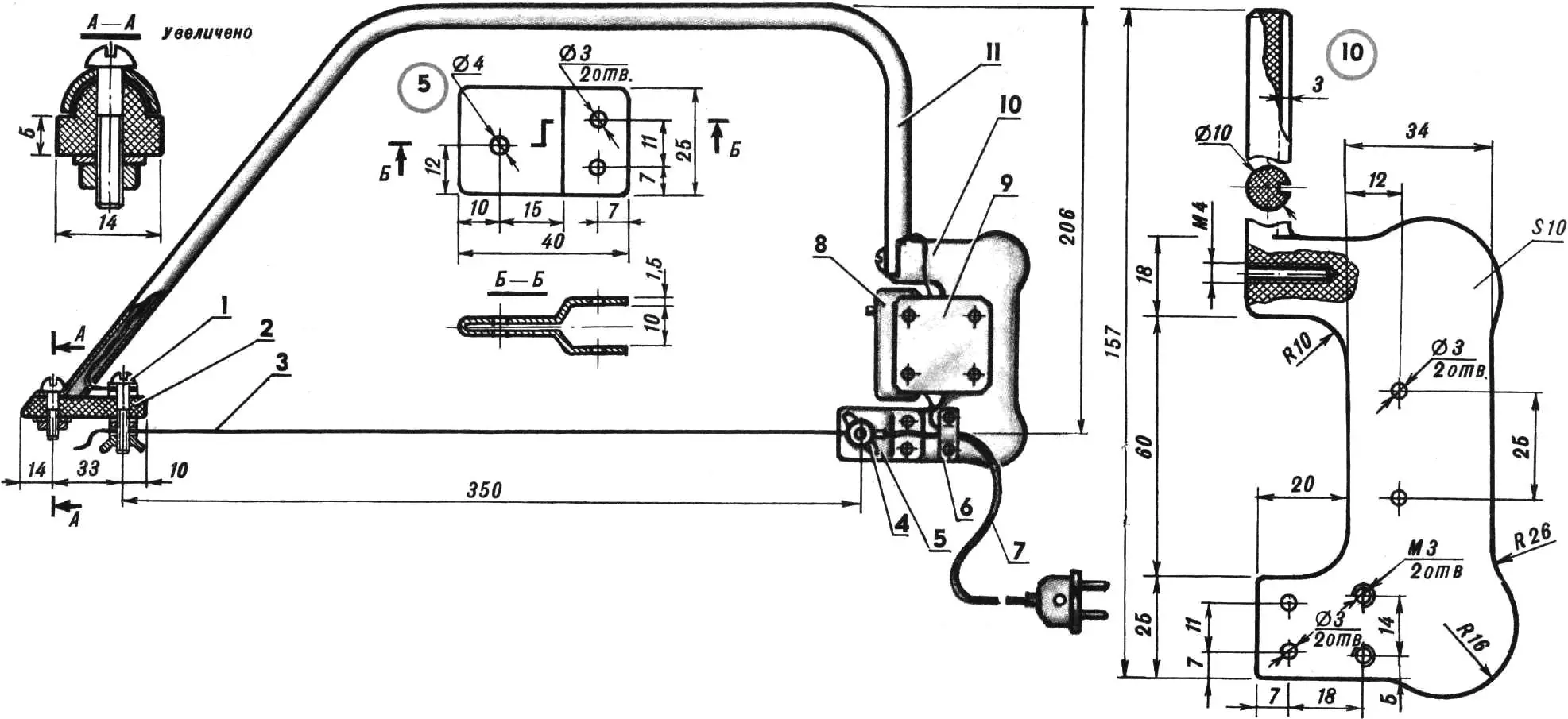
Общий вид и основные размеры электротеплового лобзика показаны на рисунке, однако они зависимы от габаритов изготавливаемых деталей.
Лобзик состоит из трубчатой дуги, ручки, электрической кнопки, нихромовой нити, винтов с барашковыми гайками, изоляционной прокладки, серьги и электрического провода. Дуга изготовлена из дюралюминиевой трубки Ø 12 мм. Можно ее сделать и из многослойной фанеры. Эта деталь должна быть легкой и прочной. Ручка — из текстолита толщиной 10 мм. Она имеет цилиндрический хвостовик, диаметр которого соответствует отверстию трубки дуги. В хвостовике прорезана канавка для провода питания, пропускаемого внутри трубчатой дуги.
Серьга — из листовой меди толщиной 1 мм — фиксируется на дуге двумя винтами. К ней винтом с барашковой гайкой крепится конец нихромовой нити (нагревательного элемента). На ручке между двух щек, изготовленных из листового дюралюминия толщиной 0,8 мм, устанавливается электрическая кнопка.

1 — винт М4, 2 — прокладка, 3 — нихромовая нить, 4 — барашковая гайка М4, 5 — серьга, 6 — скоба, 7 — шнур электропитания, 8 — выключатель, 9 — накладка, 10 — ручка, 11 — трубчатая дуга.
В качестве нагревательного элемента применена спираль электрического утюга; наиболее подходящая — Ø 0,5 мм. Длина нити зависит от длины трубчатой дуги. Нихромовая нить закрепляется с некоторым натяжением.
На электротепловой лобзик подается питание напряжением 12—14 В; при выпиливании целесообразно использовать реостат. Значение потребляемого тока зависит от обрабатываемого материала, длины и толщины нихромовой нити. При указанных на рисунке размерах дуги и диаметра нихромовой нити 0,5 мм потребляемый ток для разных материалов составляет 3—5 А.
Перед началом работы, в зависимости от типа применяемого материала, реостатом устанавливается требуемый ток. Необходимо учитывать, что при большом токе (высокой температуре нити) фанера может вспыхнуть, а при недостаточном нагреве оргстекло только размягчается, но не режется.
Электролобзик прост по устройству, удобен в эксплуатации, позволяет вырезать (выжигать) детали любой формы.
К недостаткам инструмента следует отнести лишь то, что при выпиливании выделяется дым с неприятным запахом от обрабатываемого материала.
Работа с электротепловым лобзиком требует соблюдения мер безопасности: руки следует предохранять от ожогов, с рабочего места убирать легковоспламеняющиеся предметы, а само помещение необходимо постоянно проветривать.
«М-К» 3’89, П. КАПИТОНОВ, г. Чебоксары


