Случается, что шпилька или метчик срезаются либо обламываются, оставшись в отверстии. Неприятная ситуация, но не безнадежная. Выручит проверенная технология: отверстие нужно рассверлить под больший диаметр, позволяющий извлечь обломок, нарезать в нем резьбу и ввинтить втулку под новую шпильку или болт.
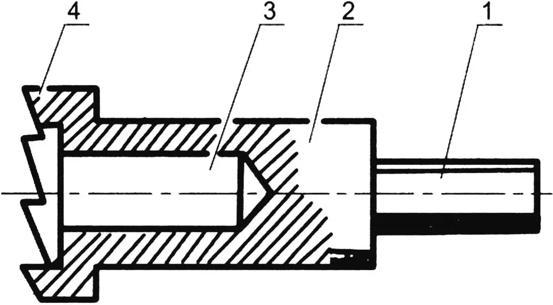
Сверло-фреза:
1 — хвостовик под патрон; 2 — корпус; 3 — глухое отверстие под диаметр обломка; 4 — головка под диаметр втулки
Для рассверливания потребуется специальное сверло. Оно представляет собой своеобразную торцевую фрезу. Рабочая поверхность ее имеет осевое глухое отверстие, диаметр которого на 0,2-0,5 мм больше, чем у извлекаемого обломка, а также зубья, нарезанные с помощью ножовки по металлу и напильника. Изготовленное сверло подвергается термообработке: нагреванию в пламени горелки и быстрому охлаждению.

1 — деталь; 2 — обломок; 3 — отверстие под втулку; 4 — сверло-фреза
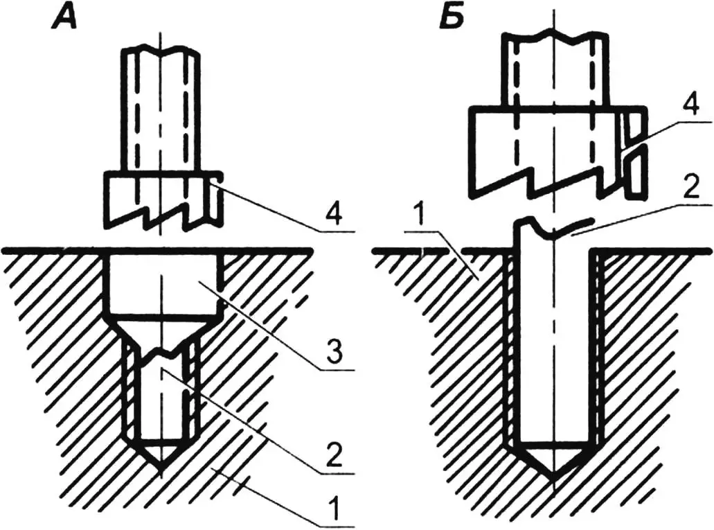
Если сломанная шпилька или метчик остались в теле детали, отверстие сначала рассверливают обыкновенным сверлом под будущую пробку, а затем проходят фрезой до нужной глубины. Если же обломок выступает над поверхностью — он сам послужит кондуктором для сверла, и предварительное рассверливание не требуется.
Размеры отверстий под втулку
| Резьба обломка | Нарезаемая резьба |
|---|---|
| M6 | M10 |
| M8 | M12 |
| M12 | M16 |
После удаления обломка нужно нарезать резьбу под втулку, ввернуть ее с краской или «эпоксидкой», а в ее сквозное резьбовое отверстие завинтить новую шпильку или болт.
«Моделист-конструктор» № 4’2025, Семен ОСТРЫЙ, г. Воронеж


