Уверен, что многие самодеятельные автоконструкторы при изготовлении машины сталкиваются с проблемой остекления кузова. Большинство из них выходят из положения, «привязываясь» к размерам и формам автомобильных стекол, используемых на серийных моделях. Я же рискнул взяться за оснащение своего «джипа» стеклами типа триплекс, обрезанными под необходимые размеры самостоятельно. Для этого использовал алмазный резец. С обеих сторон триплекса прочертил им риски, которые простучал до появления трещины по всей длине. Затем удаляемую часть прогрел пламенем спиртовки. Соединяющая слои триплекса пленка разогрелась, что позволило оттянуть части стекла до появления между ними зазора. После чего мне осталось разрезать пленку острым ножом, а неровные кромки стекла притупить наждачной бумагой.
Способ этот довольно прост и продуктивен; но хорош он лишь для тех, кто имеет большой опыт обычных стекольных работ, только опытный мастер может дать гарантию того, что при простукивании трещина пойдет в нужном направлении. Поэтому, испортив несколько стекол, я пошел по более сложному пути — изготовил из подручных средств специальный станок.

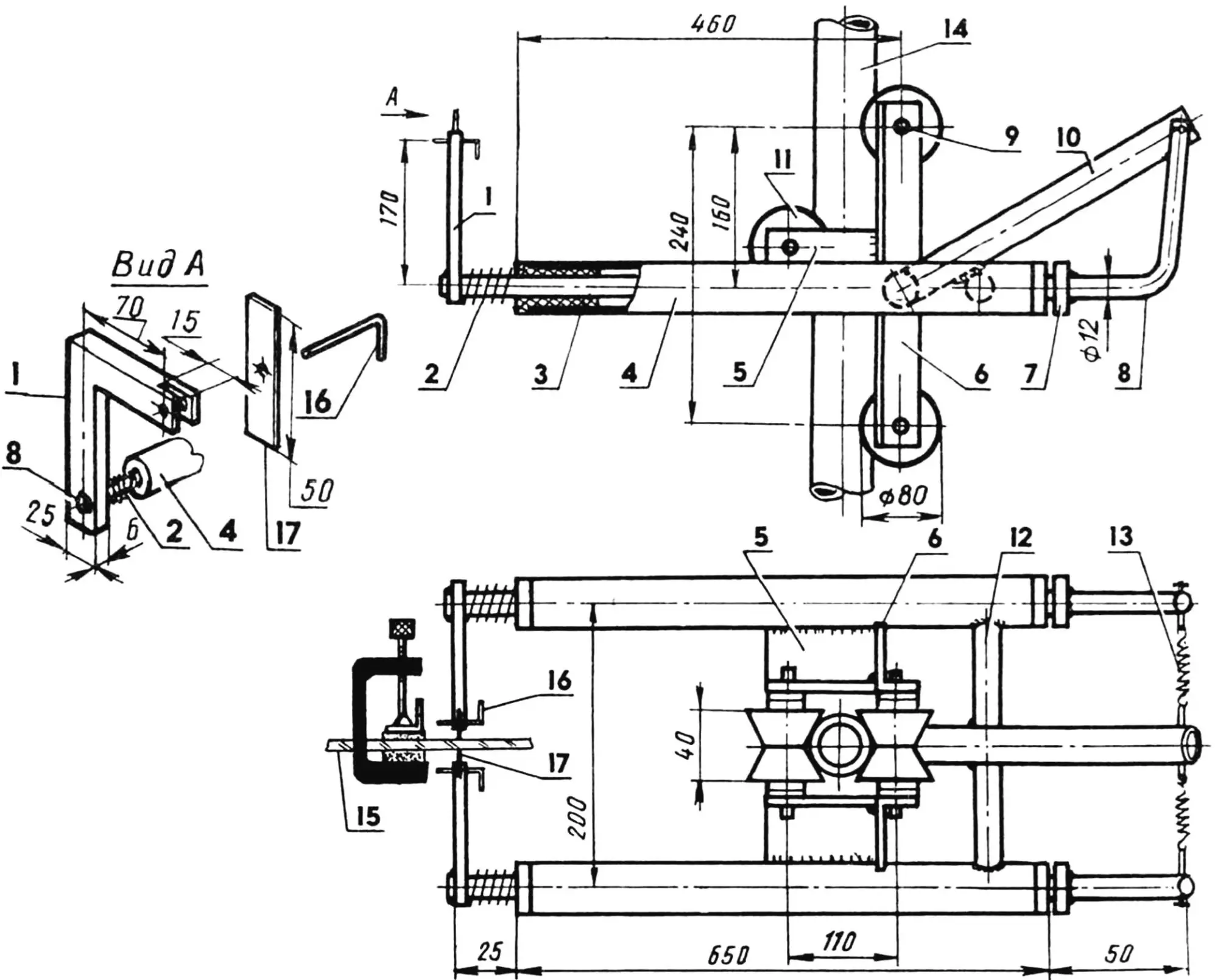
1 — горизонтальная опора (стальной уголок 50×50), 2 — вертикальная стойка (стальной уголок 50×50, 2 шт.), 3 — обрабатываемое стекло, 4 — струбцина (3 шт.), 5 — горизонтальная связь (стальной уголок 50×50, 2 шт.), 6 — направляющая (стальная труба Ø 48), 7 — шкив (сталь, 2 шт.), 8 — шнур капроновый Ø 6, 9 — каретка в сборе, 10 — раскос (стальная полоса 50×2), 11 — струбцина-ограничитель (2 шт.), 12 — противовес.
Применение станка позволяет не только свести до минимума процент брака, но и резать стекла с небольшим искривлением. Для пользования им не нужна особая квалификация. Единственный недостаток устройства — невысокая производительность, но в условиях единичного производства это совершенно не важно.
Приспособление для резки триплекса состоит из двух частей: неподвижной станины и перемещающейся по ней каретки с резаками. Станина сварена из стальных уголков 50×50 мм и стальной трубы диаметром 48 мм.
Каретка представляет собой несложное устройство, перемещающееся по вертикальной стойке станины на трех колесах-катушках. В качестве режущих инструментов используются купленные в магазине хозтоваров ножовочные полотна с алмазным напылением. Полотна разрезаны ножницами по металлу и под фиксирующие штифты в них просверлены отверстия. Кроме того, к вертикальным стойкам станины струбцинами через прокладки из пористой резины крепится и стеклянная заготовка.

1 — держатель резака (сталь, 2 шт.), 2 — пружина сжатия (2 шт.), 3 — втулка (фторопласт, 4 шт.), 4 — цилиндр (стальная труба 28×1, 2 шт.), 5 — кронштейн средней катушки (стальной уголок 45×45, 2 шт.), 6 — кронштейн верхней и нижней катушек (стальной уголок 45×45, 2 шт.), 7 — шайба (сталь, 2 шт.), 8 — кронштейн держателя (стальной пруток Ø 12, 2 шт.), 9 — ось катушки (болт M12, 3 шт.), 10 — кронштейн (стальная труба Ø 27), 11 — катушка (сталь, 3 шт.), 12 — поперечная связь (стальная труба Ø 27), 13 — пружина растяжения (2 шт.), 14 — направляющая станины, 15 — обрабатываемое стекло, 16 — штифт-фиксатор (стальная проволока Ø 2, 2 шт.), 17 — резак (ножовочное полотно с алмазным напылением, 2 шт.).
Стекло режется одновременно с двух сторон. Усилие прижима резаков к нему регулируется натяжением пружин. Во избежание перекосов, что недопустимо, передвигать каретку вверх-вниз следует с помощью шнура, перекинутого через два шкива. Для облегчения работы служит разгрузочный противовес. Две струбцины, установленные на стойке, используются как ограничители перемещения. Во время работы линия разреза обильно смачивается водой из поролоновой губки.
«Пропилив» стекло, остается ножом разрезать пленку. Нагрев не требуется, так как зазор достаточно широк.
Если углы триплекса должны быть закругленными, то это делается последовательным обрезанием по касательным и подравниванием затем кромки на наждаке.
Изготовленное таким способом остекление моего автомобиля отлично служит уже два года.
В. БЕЗРУКОВ, г. Электроугли, Московская обл.


