Мечты у каждого свои. Кто о чем, а Сергей Дмитриевич Руденко, сотрудник городской станции юных техников, что в г. Слуцке Минской области, мечтает о детском техническом парке. И не только лелеет такую мечту, но и потихоньку исполняет ее. Главные помощники ему в этом — дети, вся окрестная детвора. Вместе они создают основу будущего парка — технику. В подростковом клубе самодеятельных конструкторов «Оригинал», которым Сергей Дмитриевич руководит на общественных началах, уже построено около десятка необычных машин: от мопеда до гидромотодельтаплана. Назначение у всех машин одно: служить детским интересам. Так что юные умельцы сами конструируют, сами строят, сами и катаются.
А начиналось все с аквапеда «Дельфин», который С.Д.Руденко придумал для того, чтобы летом на озере ребятам было интересно проводить время.
Идею аквапеда мы вынашивали два года: прикидывали, подсчитывали, прорисовывали конструкцию, подбирали материалы. Когда образ «Дельфина» сложился окончательно, взялись за дело. И хотя в мастерской в то время не было ни токарного станка, ни сварочного аппарата — только электродрель, тиски да обычные слесарные инструменты, на постройку ушло всего две недели.
Аквапед получился устойчивым на воде, удобным в управлении и довольно вместительным (на борту — пять мест). На нем приятно совершать водные прогулки, ловить рыбу. Пригодится «Дельфин» и для спасательных работ, и для буксировки лодок. В то же время ему самому не требуется никакого ухода.

1 — бампер, 2 — поперечина (труба Ø 30), 3 — обтекатель носовой, 4, 21 — кронштейны рулевой стойки, 5 — руль, 6 — ограждение (труба Ø 30), 7 — каркас обшивки (уголок 15×15), 8 — обшивка, 9 — болт М4, 10 — перо рулевое, 11 — кронштейн рулевого пера, 12 — подкос (2 шт.), 13 — винт гребной, 14 — кронштейн гребного винта, 15 — вал гребного винта, 16 — пол (фанера), 17 — тяга рулевая, 18 — муфта (резиновая труба), 19 — редуктор, 20 — шкив ведомый, 22 — ремень клиновой, 23 — подшипник кривошипа, 24 — шкив ведущий, 25 — поплавок левый, 26 — рейка палубы поперечная, 27 — рейка палубы продольная, 28 — люк-сиденье, 29 — штурвал подъема якоря, 30, 34 — ручки для переноски аквапеда, 31 — палуба, 32 — кривошип (педальный узел), 33 — доска приборная (путевая фара условно не показана).
Конструкция плавсредства довольно проста, поэтому не думаю, что есть необходимость приводить ее детально. Да и копию строить вряд ли кто возьмется. Достаточно, как мне кажется, воспользоваться основной идеей и учесть недостатки, проявившиеся в эксплуатации.
«Дельфин» состоит из двух поплавков, палубы и кузова, на котором в считанные минуты легко установить лобовое стекло и крышу-тент.
Палуба набрана из соединенных шурупами продольных и поперечных деревянных реек сечением, соответственно, 40×30 и 50×30 мм и выстлана поверху 3-мм фанерой. Сиденья сделаны откидными из фанеры толщиной 10 мм, обтянуты поролоном и клеенкой. Под левым сиденьем расположен ящик с аккумулятором путевой фары, под правым — ящик с инструментами. Среднее сиденье служит крышкой люка, через который можно осмотреть редуктор или отрегулировать натяжение приводного ремня.
Каркас кузова собран из дюралюминиевых уголков и труб (часть из них — лыжные палки) и обшит тонкими листами дюралюминия. Крепеж — болтами М4. Спереди кузов усилен поперечной дюралюминиевой трубой диаметром 30 мм, концы которой служат ручками для переноски аквапеда (две другие ручки — сзади), и бампером — накладкой из 10-мм фанеры.

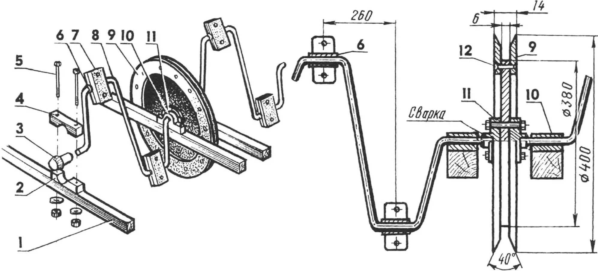
1 — опора продольная, 2, 4 — половинки корпуса подшипника кривошипа, 3 — подшипник (полиэтиленовая пробка), 5 — болты М8, 6 — подшипник педали (труба), 7 — педаль, 8 — кривошип (пруток Ø 14), 9 — шкив ведущий (условно увеличен по толщине), 10 — обойма-подшипник шкива, 11 — фланец, 12 — заклепка.
Движется аквапед за счет мускульной силы одного или двух человек, располагающихся на сиденьях. Усилие от ног с помощью педального привода, клиноременной передачи и редуктора сообщается движителю — трехлопастному гребному винту диаметром 270 мм. Передаточное число клиноременной передачи — 1:3,9, редуктора — 1:2. Таким образом, за один оборот педального привода гребной винт проворачивается вокруг своей оси почти восемь раз. Этого вполне достаточно для того, чтобы аквапед двигался с приемлемой скоростью — около 7 км/ч. Причем назад почти так же, как и вперед.
Оба кривошипа педального привода согнуты из прутков нержавеющей стали диаметром 14 мм. Перед изгибом на прутки надеты по две стальные трубки длиной 80 мм каждая, к которым потом прикреплены деревянные педали. Концы кривошипов, обращенные к бортам, снабжены подшипниками — полиэтиленовыми пробками от бутылок из-под шампанского. К другим концам приварены фланцы крепления ведущего шкива клиноременной передачи.

1,2 — опоры педального узла продольные и поперечные (рейки 50×30), 3 — опоры сидений (рейки 50×30), 4 — держатель кронштейна гребного винта (рейка 50×30), 5 — держатель кронштейнов рулевого пера (рейка 50×30), 6,7 — опоры продольные несущие (рейки 30×40).
Ведущий шкив склепан из трех алюминиевых дисков общей толщиной 14 мм, спрофилированных под сечение клиноременного ремня типоразмера А.
Ведомый шкив (диаметром 100 мм) — пластмассовый. Установлен на входном валу редуктора. В качестве последнего использован механизм электрической шлифовальной машинки, у которого оставлены только корпус, шестерни и вал якоря. Выходной вал редуктора соединен отрезком резинового шланга с тонкостенной дюралюминиевой трубой диаметром 20 мм — валом гребного винта.

1 — колонка рулевая, 2 — качалка, 3 — тяга, 4, 5 — кронштейны верхний и нижний, 6— ось, 7 — перо рулевое, 8 — шуруп.
Управление аквапедом — ручное. Водитель, поворачивая рулевую колонку вокруг вертикальной оси, передает усилие рулевому перу через качалки и тягу. Колонка и ее ручки сделаны из дюралюминиевой трубы диаметром 30 мм, тяга — из лыжной палки, качалка, оба кронштейна рулевого пера и само перо — из алюминиевой пластины толщиной 4 мм.
Все деревянные и металлические поверхности аквапеда тщательно окрашены для защиты от воздействия воды.
С поплавками дело обстояло не так просто. Первый комплект был изготовлен из 10-мм фанеры, пенопласта и стеклоткани.

Основной силовой элемент поплавка — фанерный лонжерон. Сверху к нему шурупами привинчены три уголка из толстой оцинкованной жести — кронштейны крепления к палубе, снизу — три фанерных диска, промежутки между которыми заполнены пенопластом. Все изделие покрыто эпоксидной смолой, оклеено стеклотканью и окрашено. Вес его — около 5 кгс.
Однако основное достоинство поплавков — малый вес — не могло перекрыть их существенный недостаток — хрупкость. Даже конструктивные особенности палубы, принимающей на себя львиную долю нагрузок, не выручили. Пришлось стеклотканевые корпуса поплавков заменить, сначала на дюралюминиевые, а позже — на стальные, склепанные (с герметизацией заклепочного шва) из тонкой (0,4 мм) листовой стали. Прямоугольные корпуса наполнены пенопластом и закрыты стальными крышками, которые изнутри имеют фанерные лонжероны, а сверху — уголковые кронштейны крепления к палубе.

1 — лонжерон (фанера, s10), 2 — кронштейны крепления к поперечным рейкам палубы (3 шт.), 3 — шурупы, 4, 6, 9 — диски носовой, средний и кормовой (фанера, s10, Ø 250), 5 — обшивка (стеклоткань), 7 — держатель пенопластовых дисков (дюралюминиевая лента), 8 — наполнитель (пенопласт).
Новые поплавки заметно прибавили в весе. Зато прочность их стала несравнимо выше. Мы даже не боялись уронить аквапед на траву или песок при переноске к воде.

Как же «Дельфин», имеющий внушительные габариты и вес, из городского гаража попадал на берег озера? Перевозили его на крыше автомобиля. Для этого потребовалось изготовить из деревянных реек и медных трубок диаметром 18 мм специальную подставку на багажник, приобрести четыре прочных синтетических шнура с крюками и две дюралюминиевые трубы для крепления аквапеда к переднему и заднему бамперам.

1,4 — ручки для переноски аквапеда передняя и задняя, 2 — шнур синтетический, 3 — крючок, 5 — опора (дюралюминиевая труба), 6, 7 — болты-фиксаторы опоры.
Конечно, в одиночку погрузить такую махину весом более 70 кгс на автомобиль невозможно. Требуются усилия трех-четырех взрослых мужчин. Поэтому брать его на водоем целесообразно в том случае, когда собирается большая компания. Зато удовольствие от катания на аквапеде незабываемое!
«Моделист-конструктор» № 6’97, С. РУДЕНКО, г. Слуцк, Минская обл.


