Простота конструкції «Арфи», мабуть, унікальна. У снігоході всього шість основних частин: рама з двигуном, задній міст, колеса, лижа з рульовою штангою та кермо. Надійність і невибагливість снігохода відповідають найвищим вимогам, що висуваються до транспортного засобу, призначеного для автономних пробігів широкими й безлюдними районами Заполяр’я. «Арфу» легко розібрати й у кузові вантажівки або в багажному вагоні перевезти до місця старту, а там — зібрати приблизно за півтори години й вирушити в подорож.
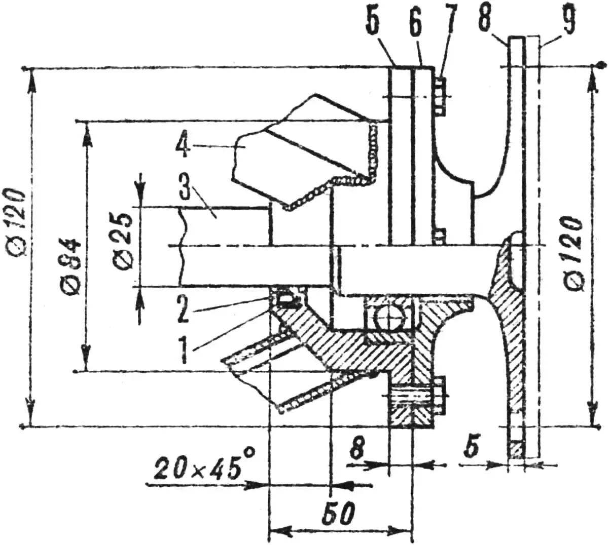
Рама виготовлена з труб квадратного перерізу 25X25 мм із товщиною стінок 1 мм. Її верхні й нижні лонжерони з’єднані трьома елементами: рульовою втулкою, стійкою та підкосом.

1 — лижа з амортизатором, 2 — еластичний шнур, 3 — камери низького тиску, 4 — кермо, 5 — задній міст, 6 — двигун, 7 — рама, 8 — рульова штанга.
Рульова втулка — це сталева труба Ø 32X2 мм, на кінцях якої насаджено обойми із запресованими в них бронзовими втулками — підшипниками ковзання.
Стійка (відрізок труби перерізом 25X25 мм) приварена до першої розпірки нижніх лонжеронів і до місця з’єднання верхніх лонжеронів із поздовжньою трубою. Оскільки на цей вузол припадають найбільші ударні навантаження, його посилено двома косинками.

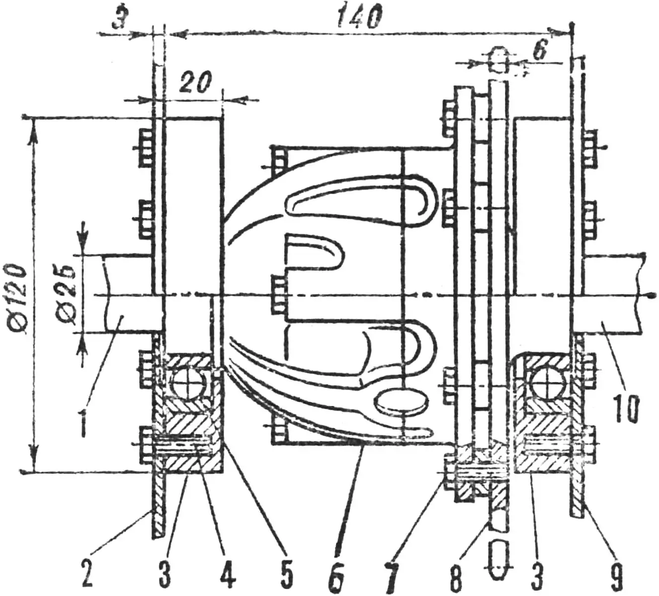
1 — нижні лонжерони, 2 — підніжка, 3 — перша розпірка, 4 — опора регульованого вузла кріплення двигуна, 5 — друга розпірка, 6 — рульова втулка з підшипниками ковзання, 7, 9 — точки кріплення бензобака, 8 — поздовжня труба, 10, 11 — косинки, 12 — стійка, 13, 14, 15 — вузли кріплення двигуна, 16 — підкос, 17 — труби основи піраміди моста, 18 — щока, 19 — нижня зв’язка, 20 — поперечний елемент, 21 — болт M12, 22, 25 — верхні зв’язки, 23 — фланець півосі, 24 — ребра піраміди, 26 — зірочка моста.
Підкос виготовлено з труби прямокутного перерізу 40X25 мм і приварено до другої розпірки нижніх лонжеронів та до поперечного елемента верхньої частини рами.
На стійці та підкосі є пластина і косинець — вузли кріплення двигуна «Т-200». Третій вузол — швелер із пазом під болти регулювання — розташований на пластині з листової сталі товщиною 3 мм, привареній до нижніх лонжеронів.
Топливний бак ємністю 20 л (від мотоцикла «Ява») встановлено на поздовжній трубі.

1 — корпус підшипника, 2 — ущільнювач манжети, 3 — піввісь, 4 — ребро піраміди (труба 25×25 мм), 5 — приєднувальний фланець, 6 — кришка підшипника, 7 — гвинт M8, 8 — фланець півосі, 9 — сточена частина фланця.
Каркас заднього моста виготовлений в основному також із труб 25X25 мм у два етапи. Спочатку зварювали праву та ліву піраміди, а потім з’єднували їх зв’язками: нижньою (сталевою смугою товщиною 3 мм) та верхніми (відрізками прямокутних труб 25X25 мм).
У вершини пірамід вварені корпуси підшипників під півосі від автомобіля «Москвич-407», а до основ приварені щоки (сталеві смуги товщиною 3 мм), між якими розміщено диференціал від «Москвича-407» із саморобним кожухом і стрічковим гальмом.

1, 10 — ліва та права півосі, 2, 9 — щоки, 3 — корпуси підшипників, 4, 7 — гвинти M8, 5 — підшипник, 6 — корпус диференціала, 8 — зірочка.
Підшипники диференціала запресовані в алюмінієві корпуси, прикручені до щік, а його ведена шестерня замінена зірочкою на 72 зуби. Із 10-зубою зірочкою двигуна її з’єднує ланцюг із кроком 15,9 мм. Фланці півосей проточені до товщини 5 мм.
Рама та задній міст мають чотири стикові вузли — два на верхніх і два на нижніх лонжеронах — і з’єднані трьома болтами М12. Один болт стягує поперечний елемент верхньої частини рами та першу зв’язку моста, решта — нижні лонжерони й втулки, вварені в куті основи пірамід.

1 — зовнішній диск, 2 — трубчаста вісь, 3 — ложемент, 4 — ремінь із гуми та тканини, 5 — внутрішній диск.
Колеса снігохода — це комбінація з камер від причепа до трактора К-700 і дисків, виготовлених із фанери товщиною 10 мм, сталевих трубчастих осей та алюмінієвих ложементів. Камери пристебнуті резино-тканинними ременями з транспортерної стрічки товщиною 8 мм.
Зовнішні диски за діаметром трохи більші, ніж внутрішні, тому що під час руху вздовж схилів водій снігохода, намагаючись зберегти вертикальне положення тіла, відхиляється у бік колеса, що йде вище по схилу, і додатково навантажує його. На колесі з меншим диском камера вивернулася б за нього і «розжувалась», адже тиск повітря в ній лише 0,3—0,4 кгс/см2. Тут цього не відбувається. До фланців півосей колеса прикріплені п’ятьма болтами М10.

1 — ручка-амортизатор, 2 — лижа, 3 — рульова штанга, 4 — упорна шайба, 5 — шпилька, 6 — вісь, 7 — кронштейн, 8 — кант, 9 — осьовий коньок.
Лижа вигнута з багатошарової фанери та обладнана осьовим коньком, кантами, амортизатором і рульовою штангою.
Коньок виконано зі сталевої смуги товщиною 3 мм; до лижі він кріпиться шпильками М3, привареними до нього з кроком 200 мм. Канти, що захищають фанеру від стирання, прикручені шурупами.
Амортизатор (труба Ø 18X1,5 мм) виконує дві функції: запобігає поломці носка лижі при наїзді на перешкоду та при перенесенні снігохода служить ручкою. До нього ж кріпиться еластичний шнур, який постійно підтримує лижу в піднятому стані.
Рульову штангу виточено з сталевого прутка; вона має площадку для керма, шийки під підшипники ковзання, упорну шайбу і на кінці — вісь.

1 — втулка, 2 — труба, 3 — розпірка, 4 — трос газу, 5 — трос зчеплення.
Кермо вигнуте з сталевої труби. У його центрі під кутом 30° приварено втулку з двома отворами: глухим і наскрізним. У перший входить верх рульової штанги з площадкою, у другий — контрівний штифт. Поли керма з’єднані для жорсткості розпіркою з труби Ø 18X1,5 мм і забезпечені ручками керування від моторолера: справа — сектор газу, зліва — важіль зчеплення.
Водій сидить на сидінні, яке встановлюється на верхніх лонжеронах над двигуном.
«М-К» 5’84, А. ТИМЧЕНКО
