У вашому журналі в одному з номерів минулих років була опублікована замітка — «Знову — дюбель». Потрібно сказати, що запропоновані варіанти металевого комбінованого дюбеля досить складні у виготовленні, але їх застосування виправдане для порожнистих панелей та щитових перегородок, які в сучасних новобудовах трапляються не так уже й часто. Новосел зазвичай стикається з потребою свердлити чи пробивати отвори в бетоні, цеглі і рідко — в гіпсолітових панелях, що вимагає значних умінь, досвіду та спеціального інструмента. До того ж під час роботи шум створює дискомфорт сусідам.
Таке доводилося випробовувати і мені — не раз за останні роки. Тому я шукав способи полегшити цю роботу, прискорити її та зробити менш шумною, розуміючи, як це докучає сусідам.
Спіральні та перові свердла, які є в продажу, можуть заглиблюватися в стіну лише в міру стирання бетону чи цегли центральною частиною свердла. Це потребує частого очищення отвору, сильного натиску на інструмент і тривалого свердління. Процес іде дуже повільно, бо робоча частина свердла зрізає кожну піщинку тонкими «шарами», доки не перетворить її на пил. Згодом ріжуча кромка тупиться, і свердління по суті припиняється — починається лише стирання каменю. Доводиться зупиняти роботу дриля і розбивати центральну частину отвору кернером або періодично висвердлювати її тонким свердлом на невелику глибину. І так кілька разів для кожного отвору.

Головна вимога до свердла по бетону — воно має не зрізати тонкими шарами кожну піщинку, а «руйнувати», відколювати їх. Це легше зробити свердлом з алмазними зернами. Такі свердла під назвою «Мрія новосела» випускав завод алмазного інструмента в м. Терек Кабардино-Балкарської АРСР. До комплекту «Мрії…» входили циліндричне кільцеве свердло та перове.
На жаль, обидва свердла «мрією новосела» не є, бо кільцеве свердло має алмазні зерна лише на торцевій частині поверхні й не має їх на краях зовнішнього та центрального отворів, і свердло глибше ніж на 3 — 4 мм у бетон не йде. А перове свердло не має зерен у центрі, упирається в бетон, ковзає по ньому й теж глибше ніж на 2 — 3 мм у бетон не йде. Якщо збільшувати тиск і тривалість свердління, вони сильно гріються. До того ж у продажу трапляються рідко: можливо, взагалі зняті з виробництва як цілком незадовільні.
Я міг би назвати й свердла по бетону інших типів, які з’являються в продажу, але їх конструкція така ж непродумана. Наприклад, паз — гладкий стрижень із вибраним пазом, який швидко й щільно забивається та вимагає після кожних 2 — 3 мм ходу свердла очищення цього паза. Просто дивно, що впродовж багатьох років інструментальники не можуть створити добре свердло для домашніх майстрів і новоселів (по бетону та цеглі).

Думаю, багатьох зацікавить мій досвід. Пропоную, наприклад, змінити конфігурацію свердла з твердосплавною вставкою так, щоб швидко, з одного заходу, просвердлити у бетонній або цегляній стінці отвір потрібної глибини.
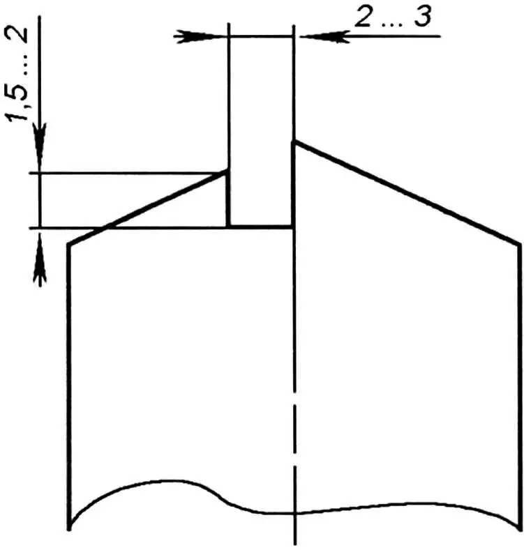
Я алмазним надфілем зробив пропил у центральній частині свердла на глибину 1,5 — 2 мм і ширину 2 — 3 мм за діаметра свердла 8 мм. У цьому разі свердло працює як кільцеве. Конічний керн із бетону стирається гранями пропила або обламується, бо пропил несиметричний. Ще переконливіше корисність пропила виявляється, якщо отвір попередньо просвердлити 2 — 3 мм свердлом. У цьому випадку розсвердлювання до 8 — 10 мм виходить за секунди навіть звичайним свердлом, без твердосплавної вставки.
На жаль, не кожен домогосподар чи новосел має алмазний надфіль. Тому дуже бажано, щоб такий пропил (такі свердла) робила б промисловість за допомогою алмазного диска.
«Моделіст-конструктор» № 8’2011, М. Льовін
