Имея в садовом домике плиту (на угле или дровах), вполне возможно обеспечить горячей водой мойку на кухне и даже душ. Понадобится водонагреватель — устройство, позволяющее использовать тепло горячих газов, выходящих через дымоход плиты.
Конструкция и принцип работы. Труба водонагревателя встраивается в дымоход как можно ближе к плите. Горячая вода из нее поступает по трубам в металлический баллон (например, от огнетушителя), который имеет змеевик, соединен с водопроводной сетью и с краном над мойкой. Вода, заполняющая баллон, нагревается от кипятка, поступающего в змеевик нагревателя.
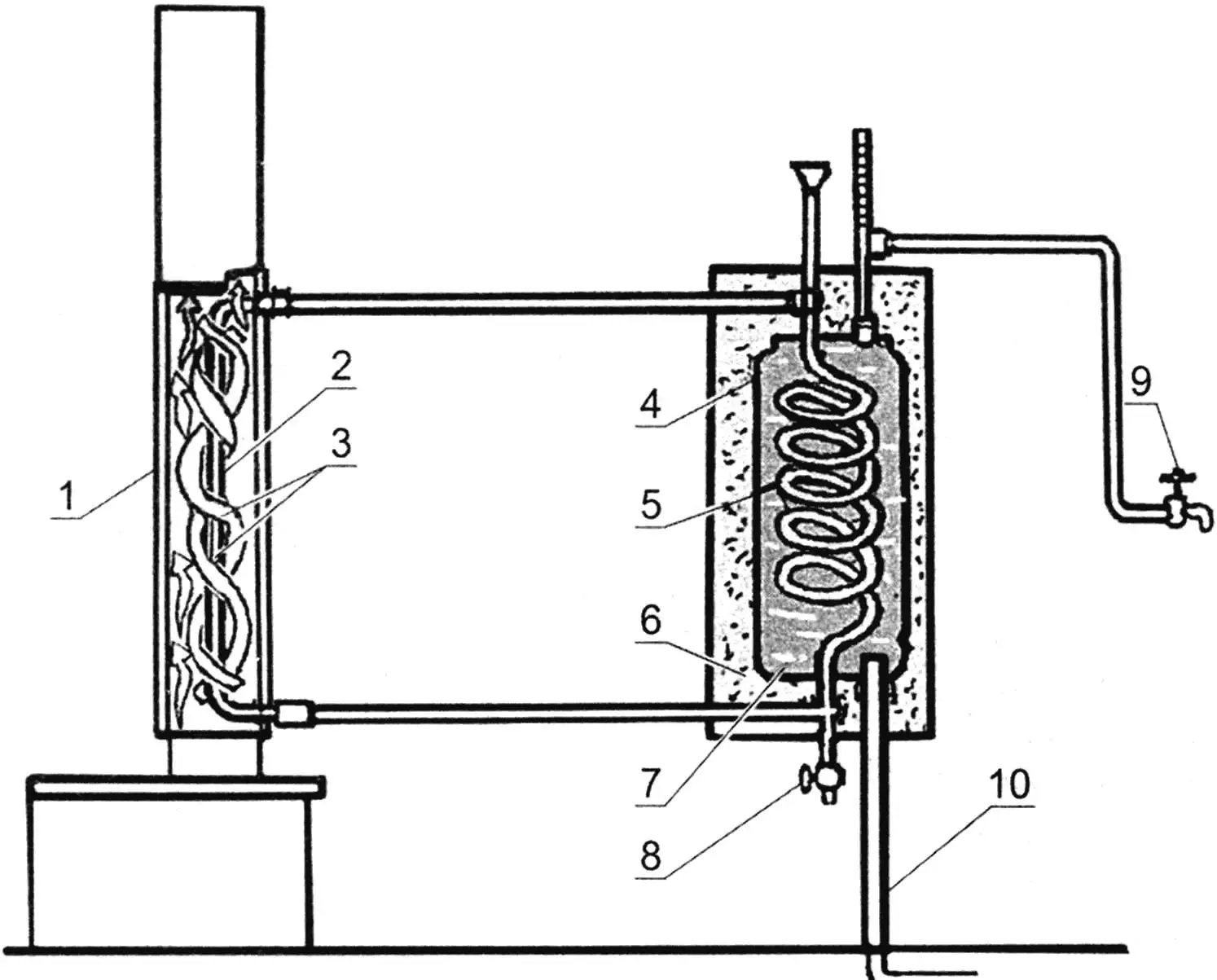
Принципиальная схема водогрейной установки:
1 — кожух нагревателя; 2 — колено водонагревателя; 3 — пластины усиления нагрева трубы; 4 — баллон-аккумулятор тепла; 5 — змеевик; 6 — теплоизолятор; 7 — подогреваемая вода; 8 — сливной кран змеевика; 9 — расходный кран; 10 — водопровод
Изготовление нагревателя. Колено водопроводной трубы в дымоходе имеет длину приблизительно 700 мм. Это основной элемент нагревательного устройства, он имеет резьбу на обоих концах для трубчатого соединения со змеевиком. К этому колену привариваются две полосы из листового металла, которым придана форма спирали с несколькими витками вокруг трубы. Чтобы облегчить сгибание спирали, можно сделать на ней поперечные надрезы ножницами по металлу. Соединение трубы и спирали должно быть достаточно плотным, чтобы достичь максимальной теплопроводности (в соответствии с этим требованием должен быть выполнен непрерывный сварной шов). Эта часть водонагревателя закрывается жестяным кожухом в форме трубы, соединенной с выходным отверстием топки плиты и составляющей нижний элемент дымохода. Для облегчения прочистки часть кожуха — съемная.

1 — печь; 2 — труба дымохода; 3 — кожух нагревателя; 4 — трубы к змеевику; 5 — заливная горловина; 6 — термометр; 7 — короб-«термос»; 8 — труба к расходному крану; 9 — расходный кран; 10 — мойка; 11 — сливной кран змеевика; 12 — водопровод
Змеевик водонагревателя выполняется отдельно и встраивается в баллон так, чтобы обеспечивалась возможность трубного соединения с нагревателем в дымоходе. Сам баллон подсоединяется к водопроводу и к патрубку с термометром и расходным краном. В верхней части змеевика находится труба с воронкой для заливки воды на случай отсутствия водопроводной подпитки. Баллон заполняется водой снизу от водопровода (или от емкости с водой при отсутствии центрального водоснабжения). Другой отрезок трубы (сверху) соединяет баллон с внутренним водопроводом — к мойке или душу. Расходный кран на его конце осуществляет снабжение мойки горячей водой.
Установка и пользование. Баллон в теплоизолирующем коробе крепится на стене кухни как можно ближе к мойке и плите. Короткий соединительный трубопровод позволит избежать лишних теплопотерь. Две трубы от колена нагревателя соединяются с баллоном штатными тройниками. Если возможно, то желательно расположить трубы горизонтально для обеспечения нормальной циркуляции воды в системе.
Важный момент обустройства системы — сборка короба-«термоса». Из фанеры или дощечек толщиной 8-10 мм изготавливается кожух с отверстиями для прохождения трубопроводов. Пространство между баллоном и кожухом заполняется любой теплоизоляцией — например, стекловатой.

1 — проставка дымохода; 2 — фиксирующая накладка; 3 — отверстия для труб водонагревателя
Водонагреватель и змеевик при растопке печи наполняются водой. Она заливается не до краев, чтобы была возможность расширения ее объема.
Когда баллон подсоединен к водопроводу, он находится под давлением; и если в его системе оказался воздух — следует открыть расходный кран у мойки, чтобы выпустить воздух из труб.
Плита зажжена, вода в нагревателе начинает циркулировать под влиянием разности температур на разных участках системы, нагревая воду в баллоне. Горячая вода из баллона расходуется через кран у мойки и автоматически заменяется холодной. Чтобы циркуляция не прерывалась, надо следить за уровнем воды в системе — он должен быть всегда выше верхнего тройника баллона.
«Моделист-конструктор» № 03’2025, Борис ВЛАДИМИРСКИЙ


