Времена, когда забота о здоровье человека в нашей стране была делом государственным, канули в Лету.
Качество бесплатного медицинского обслуживания теперь зависит только от добросовестности доктора, а платного — от суммы, которую Вы способны «отстегнуть», да и то не всегда. Поэтому советую заботиться о своем здоровье самим.
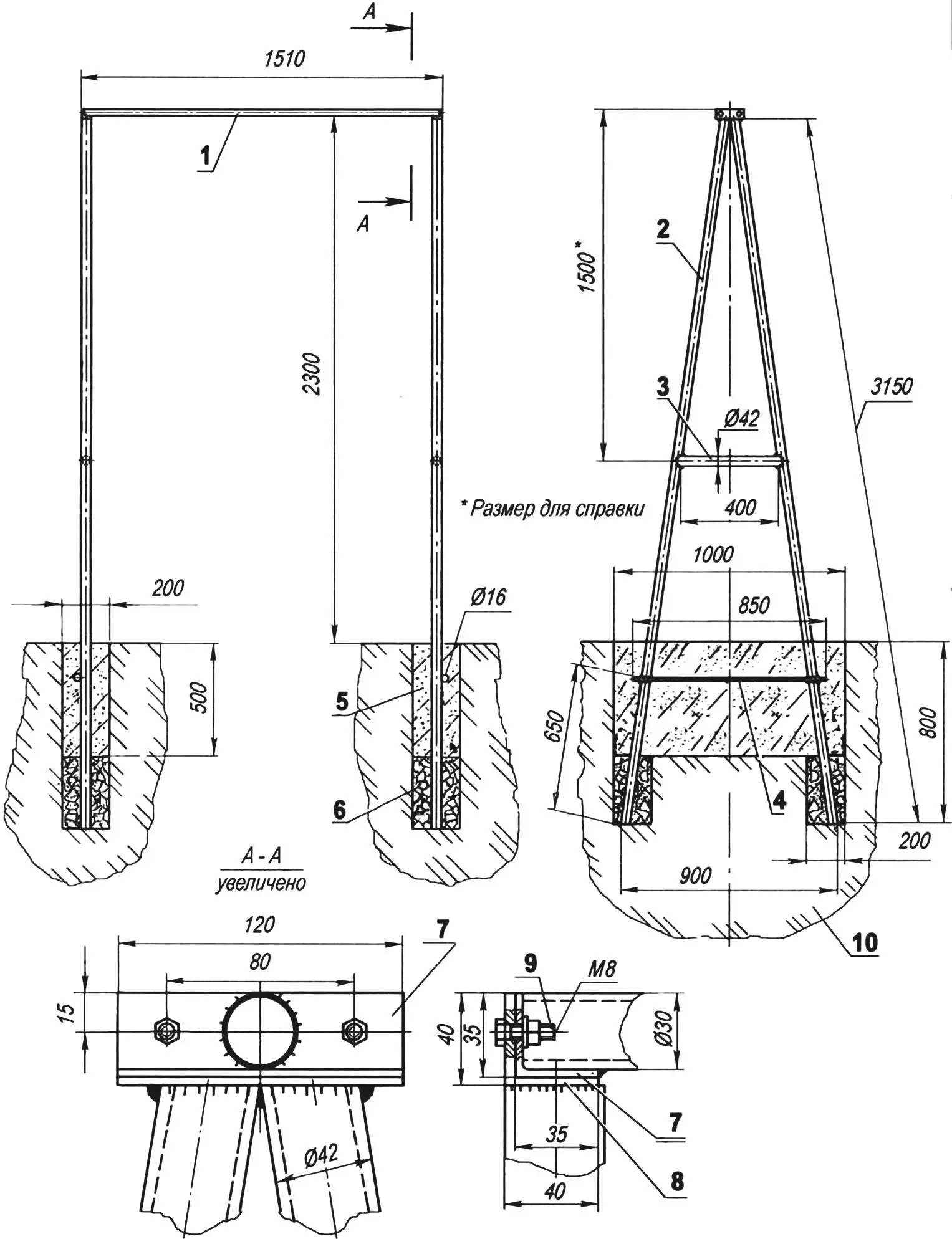
Как известно, родная сестра здоровью — физкультура, а брат — спорт, а первые помощники у них — спортивные снаряды. Одним из таких всем известных и наиболее простых сооружений является турник — упругая перекладина, установленная на стойках.
В спортивных залах перекладина устанавливается на телескопических стойках (для возможности регулировки ее положения по высоте), а сами стойки закрепляются растяжками.
В жизни же можно часто увидеть перекладину, установленную на двух столбах или между двумя деревьями.
Конструкцию своего турника я «подсмотрел» у детских качелей. У них нет стоек как таковых, а есть две пары подкосов, установленных под одинаковыми углами к вертикали, поддерживающих друг друга и перекладину. Каждая пара соединена между собой распором. Ну а подземную часть конструкции пришлось уже додумывать самому.

1 — перекладина (стальная труба 30×2,5); 2 — подкосная стойка (стальная труба 42×2,5, 4 шт); 3 — распор (труба 42×2,5, 2 шт); 4 — перемычка (стальной арматурный стержень Ø16, 2 шт.); 5 — фундамент (монолитный бетон); 6 — обратная засыпка приямка (грунт, щебень, кирпичный бой, 4 шт.); 7 — кронштейн перекладины (уголок 35×35, 2 шт.); 8 — кронштейн подкосных стоек (уголок 40×40, 2 шт.); 9 — крепление кронштейнов перекладины и подкосных стоек (болт М8, 4 шт.); 10 — естественный грунт
Подкосные стойки изготовлены из стальной водопроводной трубы диаметром 42 мм с толщиной стенки 2,5 мм.
В верхней части концы подкосных стоек соединены уголковым кронштейном (приварены к нему), в средней части — распором (отрезком такой же трубы), а ближе к нижним концам, в фундаментной части, еще и перемычкой из стального арматурного стержня диаметром 16 мм. Здесь же отмечу, что уголковые кронштейны изготавливались из равнополочного уголка 40x40x5 мм, у которого сфрезеровывался внутренний радиус (чтобы кронштейны перекладины плотно подстыковались к кронштейнам подкосных стоек). Отверстия под крепежные болты в стыкуемых кронштейнах сверлились одновременно.
Перекладина отрезана в размер (1500 мм) от толстостенной водопроводной трубы наружным диаметром 30 мм. Считаю, что это оптимальная толщина. Если взять трубу потоньше, то может оказаться недостаточной ее прочность и жесткость, а более толстую трудно будет обхватить пальцами «в замок». К концам трубы приварены кронштейны из уголка 35×35 мм.

Для монтажа подкосных стоек на облюбованном месте для каждой из пар устраивается отдельный фундамент. Под фундамент выкапываются небольшие траншеи размерами 1000x500x200 мм (длина х ширина х глубина), а еще их дно по краям заглубляется на штык лопаты — устраиваются квадратные приямки под нижние концы подкосных стоек, которые в них и опускаются. Надо постараться, чтобы расстояние между стойками внизу было равно верхнему промежутку при подстыкованной перекладине, а сама перекладина расположилась строго горизонтально. Приямки вновь заваливаются грунтом, щебнем, кирпичным боем и т.п. В это время выверяется положение подкосных стоек в вертикальных плоскостях, обратная засыпка трамбуется. Далее траншеи заливаются бетонной смесью, которая для экономии бутится — пополняется крупными камнями.
Начинать пользоваться турником можно только через две-три недели, когда бетон наберет достаточную прочность, чтобы не позволять стойкам смещаться под нагрузками.
Надо сказать, что спортивный снаряд используется не только по прямому назначению — для физкультурной зарядки ранним утром. Зачастую погожими днями подвешиваю на него и детские качели — для них даже изготовил свою перекладину — с подшипниками качения. Нередко турник используется и по хозяйственному назначению — на нем удобно подвешивать ковры и паласы для чистки, а также в солнечную погоду просушивать на вешалках зимнюю одежду и т.п.
А. МАТВЕЙЧУК, г. Заводоуковск, Тюменская обл.


