Мачта — это основа вооружения любого парусного туристического или спортивного судна, важнейший его узел. От ее устройства и положения зависят площадь, конфигурация и аэродинамика парусов, возможность регулирования их тяги, конструкция шверта и самого «корабля» в целом.
Строя небольшой парусник, приходится «мирить» между собой весьма противоречивые требования — прочность и надежность деталей с их минимальным весом. И первым делом самодельщик должен определиться с типом мачты и материалами для ее изготовления, выбрать вариант ее выполнения (в том числе способа крепления грота) и подобрать соответствующую конструкцию степса. Разобьем эту триединую задачу на составляющие и рассмотрим их по отдельности.
Выбор типа мачты
Небольшая прочность корпуса малого парусника заставляет повышать прочность мачты. Желание свести при этом ее вес к минимуму сужает ассортимент подходящих материалов. Деревянные мачты слишком тяжелы, коробятся и гниют от влаги, сложны в изготовлении, да и качественную древесину для них достать непросто. То же, кроме «водобоязни», можно сказать и о самодельных стеклопластиковых мачтах. Поэтому самый подходящий для нас материал — тонкостенные дюралюминиевые трубы. Особенно после освоения двух операций: сборки накладного ликпаза и превращения мачты в ферму, что существенно улучшает соотношение «прочность/вес».

а — раскрепленная растяжками; б — раскрепленная подкосами; в — свободная; 1 — степс; 2 — ванты; 3 — форштаг; 4 — раскосы боковые; 5 — пяртнерс
На судно мачта ставится либо с боковыми и носовой растяжками — вантами и форштагом (рис. 1а), либо с боковыми раскосами (рис. 1б), либо свободно (рис. 1в) и крепится в двух точках. Расположение нижней точки (степса) не зависит от типа мачты. А вот для верхней точки есть варианты. У свободной мачты — это пяртнерс — отверстие в поперечной балке. У раскрепленной — точки фиксации раскосов или вант со штагом, находящиеся выше пяртнерса. Ванты заметно уменьшают нагрузки на мачту и корпус судна, но усложняют их конструкцию. Угол между каждой вантой и вертикалью должен составлять не менее 11°.

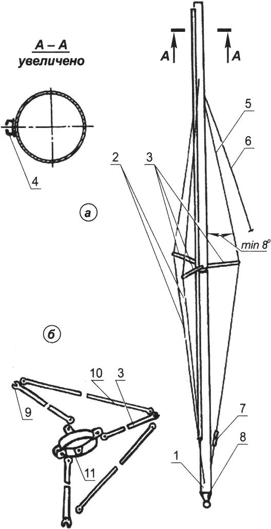
а — общий вид; б — вариант узла краспиц; 1 — мачта; 2 — ромбованты задние; 3 — краспицы (Д16Т, Ø12×1 мм); 4 — ликпаз; 5 — ромбованта передняя; 6 — форштаг;
7 — талреп винтовой; 8 — шпор; 9 — прорезь для ромбованты; 10 — тяга (Д16Т, Ø12×1); 11 — хомут (Х18Н10Т s1,5-2 мм)
Превратить обычные мачты в ферменные (рис. 2) можно с помощью трех растяжек из стального троса Ø2-3 мм (ромбовант) и поперечных распорок-краспиц. Жесткость фермы повысится, если установить два ряда краспиц. Угол между ромбовантами и мачтой должен быть не менее 8°. Ромбовантами можно регулировать изгиб мачты, тем самым изменяя профиль грота и, как следствие, его тягу. Делается это с помощью винтового талрепа, прикрепленного к ромбованте и меняющего свою длину при вращении.

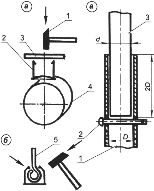
а — кольцами (сегарсами); б — ликпазом; в — карманом на передней шкаторине грота
Накладной ликпаз собирается из тонкостенного П-образного алюминиевого профиля, применяемого в строительстве для крепления оконных стекол. Ему придают нужную форму молотком и оправками (рис. 4), или путем волочения между двух роликов с канавками соответствующих очертаний. Готовые отрезки обработанного профиля крепятся к мачте винтами или шурупами-саморезами диаметром 3-4 мм. Отверстия для шурупов сверлятся до начала деформации профиля — это важно.

а — формирование цилиндрического дна профиля; б — подгибание полок профиля; 1 — молоток; 2 — профиль ликпаза; 3 — оправка плоская (дерево или текстолит); 4 — оправка цилиндрическая (металл); 5 — оправка фигурная (половина оконной петли)
Тяга грота зависит от способа его соединения с мачтой. Поскольку у малого судна площадь парусности тоже мала, а лобовое сопротивление корпуса и экипажа относительно велико, то такое невыгодное соотношение сильно ухудшает способность такого судна двигаться против ветра. Здесь важно соблюдать два принципа. Во-первых, не допускать щелей между мачтой и гротом, ибо прорывающийся в них с наветренной стороны паруса воздух существенно уменьшает тягу. Это происходит, если грот крепят на кольцах (рис. 3а), петлях-сегарсах, шнуровке или ползунах, скользящих по прикрепленному к мачте рельсу. «Дырок» не будет, если грот крепить в ликпазе — продольной щели на задней стороне мачты (рис. 3б). Во-вторых, не создавать уступ между мачтой и гротом, поскольку нарушение плавности профиля паруса, особенно в его начале, также заметно ухудшает тягу. Улучшить плавность профиля помогает мачта каплевидного сечения. Изготовить такую очень сложно, но мачту можно сделать поворотной, тогда ступенька между нею и гротом окажется ниже. А если использовать карман, то профиль паруса станет совсем плавным (рис. 3в).

а — неповоротная мачта; б — поворотная мачта; 1,2- точки крепления вант; 3 — ликпаз
Конечно, проще всего заставить поворачиваться свободную мачту. А как быть с раскрепленной? На первый взгляд здесь мешают штаг и ванты. Но если крепление вант перенести в одну точку (рис. 5б), то мачта сможет разворачиваться влево-вправо на 15-20°, чего вполне достаточно.
Мачту на боковых раскосах поворотной, к сожалению, не сделать. И это не единственный ее недостаток, поэтому мачты такого типа применяются редко. С карманным креплением грота тоже не все просто, поскольку оно порождает целый букет проблем. Известно, что мачта лучше сопротивляется нагрузкам, в том числе от стакселя, если ее ванты и штаг крепить не к топу, а ниже его на расстоянии, равном 0,12-0,25 длины мачты. Штаг желательно располагать ниже вант, в крайнем случае — на одном уровне. Карман же на гроте вынуждает крепить ванты и штаг только к топу и применять только топовый стаксель, который максимально нагружает мачту. Тот же карман не дает оборудовать мачту и ромбовантами, поэтому приходится существенно повышать ее прочность и жесткость, а тем самым и вес.
Выбор конструкции мачты
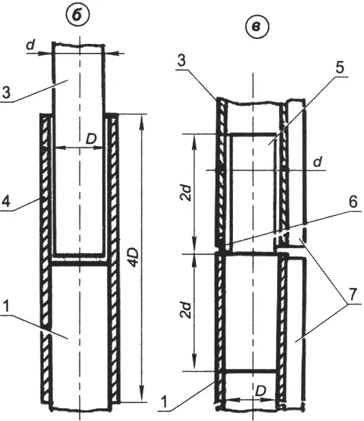
Сочленение колен мачты зависит от способа крепления к ней грота (рис. 6). Вариант «а» — универсальный; «б» — для свободной мачты; «в» — для раскрепленной с ликпазом. Звенья ликпаза должны правильно стыковаться, поэтому соседние колена при сборке нужно фиксировать в строго определенном положении. Простейший способ — с помощью головки винта или заклепки, входящей в прорезь на нижнем торце верхнего колена (рис. 6, поз. 6).

а — телескопический (D — d = 0,2…0,5 мм); б — на наружной втулке (D — d = 0,15…0,2 мм); в — на внутренней втулке с ликпазом (D — d = 0,2…0,3 мм); 1 — колено нижнее; 2 — опорный штырь съемный (заклепка); 3 — колено верхнее; 4 — втулка наружная; 5 — втулка внутренняя; 6 — фиксатор (заклепка); 7 — звенья ликпаза
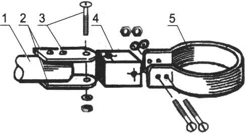
На прочность мачты влияет и способ крепления к ней гика. Тонкостенная мачта «не любит», чтобы ее «дырявили». В этом случае лучше закрепить гик к мачте охватывающим хомутом, который легко фиксировать на нужной высоте (рис. 7).

1 — пятка гика, 2 — проушины, 3 — винты крепления, 4 — «крестовина» шарнира, 5 — хомут мачты
Крепить к гику нижнюю шкаторину грота можно либо ликпазом, либо карманом, в котором делается вырез для прохода оттяжки гика. Последняя необходима для бермудского, гафельного (в том числе гуари), шпринтового и иногда рейкового (если нижняя шкаторина крепится на гике, а не на рейке) гротов.
Набивать штаг, ванты и оттяжку гика лучше всего с помощью мягкого талрепа — капронового конца Ø3,5-5 мм, несколько раз пропущенного между двумя кольцами. При площади парусности более 10 м2 могут применяться винтовые талрепы.
Выбор конструкции степса
Если мачта не должна поворачиваться, как у рейкового и латинского гротов, отверстия в степсах делаются прямоугольными или квадратными (рис. 8а). Шпоры в них могут входить либо плотно, либо с зазором 3-5 мм на сторону. Степсы, устанавливаемые на поперечные или продольные балки надувных лодок, плотов, катамаранов или тримаранов, позволяют при необходимости укладывать мачту горизонтально в любом направлении (рис. 8в).
Технические «тонкости»
Для мачт обычно используются трубы из сплавов Д16 или Д16Т Ø35-70 мм с толщиной стенки 1,5-2 мм, реже — 2,5 мм.
При площади грота менее 4,5 м2 ромбованты невыгодны: незначительная экономия веса не оправдывает затрат труда, материалов и времени на их сборку-разборку.
Грот крепят карманом прежде всего в вооружении «кэт» (мачта плюс грот) со свободной мачтой, при парусности до 4 м2 это дает максимальный эффект. Также имеет смысл применять карман на гротах в типах вооружения с короткой мачтой: гафельном, шпринтовом, латинском и рейковом. Плюсы здесь заметно перевешивают минусы: топовый стаксель, хотя и имеет максимально возможную площадь, не слишком нагружает корпус. Мачта при этом чаще всего свободная, поскольку разница в весе с раскрепленной сравнительно невелика. Ее легко снимать и ставить, надевать на нее грот.
Свободную мачту часто применяют и в промежуточном варианте, когда основную парусность — вооружение «кэт» — дополняют при слабом ветре легким стакселем (то есть превращают в вооружение «шлюп»). При этом стаксель больших нагрузок не создает, и мачта оказывается относительно легкой.

а — деревянный и металлический (фигурный и трубчатый), для гребных деревянных и шпоновых лодок; б — плоский металлический, для установки на кильсон байдарки; в — сложные, для установки на балку многокорпусника; 1 — шпоры мачт; 2 — степсы-хомуты; 3 — штырь поворотный; 4 — хомут поворотный; 5 — винты-ограничители
Стоячий такелаж (ванты, штаг, ромбованты) лучше использовать стальной — он не вытягивается, тонок, а значит, имеет малую паразитную парусность. Обычно это тросики из оцинкованной или нержавеющей стали Ø2-3 мм, либо проволока Ø2-2,5 мм. Последняя прочнее, но может внезапно сломаться (обычно около огона на конце снасти). Тросик же о разрушении «предупреждает»: вначале рвутся его отдельные проволочки.
Бегучий такелаж — фалы, шкоты, галсы и оттяжки — изготавливаются из растительных или синтетических тросов. Фалы обычно делают из плетеного репшнура, так как крученый трос под нагрузкой тянется и паруса «проседают», теряя форму. Диаметр фалов — от 6 до 10 мм. Шкоты имеют Ø8-12 мм. Неплохие стаксель-шкоты получаются из полипропиленового троса, он заметно легче других.
Площадь парусности однокорпусного судна можно ориентировочно определить по формуле: Smax= kLB, где Smax — допустимая площадь парусности; к — коэффициент остойчивости (для байдарок 0,6…0,7, для надувных лодок 0,7…1, для гребных 1…1,2); L и В — длина и ширина судна по ватерлинии.
В зависимости от особенностей судна полученный результат может корректироваться. Но «раздувать» парусность небезопасно. Лучше, разделив ее на основную и дополнительную, расширить парусный «гардероб», применяя основные паруса в средний ветер, дополнительные — в слабый, штормовые — в свежую погоду.
Иногда вместо штормового грота используют стаксель, если подходит его площадь и достаточна прочность. В качестве дополнительных парусов применяются прежде всего стаксели увеличенной площади и из более легкой (чем у основных) ткани. При площади основной парусности до 6 м2 можно увеличить набор парусов за счет стакселей из обычной полиэтиленовой пленки.
«Моделист-конструктор» № 6’2025, Юрий КУЖЕЛЬ


